h1_key

TI(德州仪器) MSP430FR2353
德州仪器 (TI) 全系列产品在线购买
  • TI(德州仪器) MSP430FR2353
  • TI(德州仪器) MSP430FR2353
  • TI(德州仪器) MSP430FR2353
  • TI(德州仪器) MSP430FR2353
  • TI(德州仪器) MSP430FR2353
  • TI(德州仪器) MSP430FR2353
立即查看
您当前的位置: 首页 > 微控制器 (MCU) 和处理器 > MSP430 微控制器 > MSP430FR2353
MSP430FR2353

MSP430FR2353

正在供货

具有 16KB FRAM、运算放大器/PGA、12 位 DAC、12 位 ADC 的 24MHz 105°C 集成模拟微控制器

产品详情
  • 说明
  • 特性
  • 参数
  • 封装 | 引脚 | 尺寸

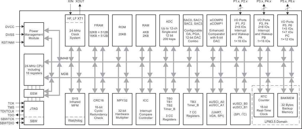
MSP430FR215x 和 MSP430FR235x 微控制器 (MCU) 均属于 MSP430™MCU 超值系列超低功耗低成本器件产品系列,该产品系列适用于检测和测量 应用。MSP430FR235x MCU 集成了四个称之为智能模拟组合的可配置信号链模块,每个组合均可用作 12 位 DAC 或可配置可编程增益运算放大器,以满足系统的特定需求,同时缩减 BOM 并减小 PCB 尺寸。该器件还包含一个 12 位 SAR ADC 和两个比较器。MSP430FR215x 和 MSP430FR235x MCU 都支持 –40° 至 105°C 的扩展温度范围,因此更高温度的工业 应用 可从这些器件的 FRAM 数据记录功能受益。该扩展温度范围使开发人员可以满足烟雾探测器、传感器变送器和断路器等 应用 的要求。

MSP430FR215x 和 MSP430FR235x MCU 具有功能强大的 16 位 RISC CPU、16 位寄存器和常数发生器,有助于实现最大编码效率。数控振荡器 (DCO) 通常可以使器件在不到 10µs 的时间内从低功耗模式唤醒至激活模式。

MSP430 超低功耗 (ULP) FRAM 微控制器平台将独特的嵌入式 FRAM 和整体超低功耗系统架构相结合,从而使系统设计人员能够在降低能耗的情况下提升性能。FRAM 技术将 RAM 的低功耗快速写入、灵活性和耐用性与闪存的非易失性相结合。

MSP430FR215x 和 MSP430FR235x MCU 由广泛的硬件和软件生态系统提供支持,随附参考设计和代码示例,便于您快速开始设计。开发套件包括 MSP-EXP430FR2355LaunchPad™开发套件和 MSP-TS430PT48 48 引脚目标开发板。TI 还提供免费的 MSP430Ware™ 软件,该软件以 Code Composer Studio™ IDE 台式机和云版本组件的形式提供(位于 TI Resource Explorer)。E2E™ 支持论坛还为 MSP430 MCU 提供广泛的在线配套资料、培训和在线支持。

有关完整的模块说明,请参阅《MSP430FR4xx 和 MSP430FR2xx 系列器件用户指南》

  • 嵌入式微控制器
    • 16 位 RISC 架构,频率最高可达 24MHz
    • 扩展温度范围:–40°C 至 105°C
    • 3.6V 至 1.8V 的宽电源电压范围(工作电压受限于 SVS 电平,参阅 VSVSH- 和 VSVSH+,见 PMM、SVS 和 BOR
  • 经优化的低功耗模式(3V)
    • 工作模式:142µA/MHz
    • 待机:
      • 具有 32768Hz 晶体的 LPM3:1.43µA(SVS 处于启用状态)
      • 具有 32768Hz 晶体的 LPM3.5:620nA(SVS 处于启用状态)
    • 关断 (LPM4.5):42nA(SVS 处于启用状态)
  • 低功耗铁电 RAM (FRAM)
    • 容量高达 32KB 的非易失性存储器
    • 内置错误修正码 (ECC)
    • 可配置的写保护
    • 对程序、常量和存储的统一存储
    • 耐写次数达 1015
    • 抗辐射和非磁性
  • 易于使用
    • 20KB ROM 库包含驱动程序库和 FFT 库
  • 高性能模拟
    • 一个 12 通道 12 位模数转换器 (ADC)
      • 内部共享基准(1.5、2.0 或 2.5V)
      • 采样与保持 200ksps
    • 两个增强型比较器 (eCOMP)
      • 集成 6 位数模转换器 (DAC) 作为基准电压
      • 可编程迟滞
      • 可配置的高功率和低功率模式
      • 一个具有 100ns 的快速响应时间
      • 一个具有 1µs 的响应时间以及 1.5µA 的低功耗
    • 四个智能模拟组合 (SAC-L3)(仅限 MSP430FR235x 器件)
      • 支持通用运算放大器 (OA)
      • 轨至轨输入和输出
      • 多个输入信号选项
      • 可配置的高功率和低功率模式
      • 可配置 PGA 模式支持
        • 同相模式:×1、×2、×3、×5、×9、×17、×26、×33
        • 反相模式:×1、×2、×4、×8、×16、×25、×32
      • 用于进行失调电压和偏置设置的内置 12 位基准 DAC
      • 具有可选基准电压的 12 位电压 DAC 模式
  • 智能数字外设
    • 三个 16 位计时器,每个计时器有 3 个捕捉/比较寄存器 (Timer_B3)
    • 一个 16 位计时器,每个计时器有 7 个捕捉/比较寄存器 (Timer_B7)
    • 一个仅用作计数器的 16 位实时钟计数器 (RTC)
    • 16 位循环冗余校验器 (CRC)
    • 中断比较控制器 (ICC),可启用嵌套硬件中断
    • 32 位硬件乘法器 (MPY32)
    • 曼彻斯特编解码器 (MFM)
  • 增强型串行通信
    • 两个增强型 USCI_A (eUSCI_A) 模块支持 UART、IrDA 和 SPI
    • 两个增强型 USCI_B (eUSCI_B) 模块支持 SPI 和 I2C
  • 时钟系统 (CS)
    • 片上 32kHz RC 振荡器 (REFO)
    • 带有锁频环 (FLL) 的片上 24MHz 数控振荡器 (DCO)
      • 室温下的精度为 ±1%(具有片上基准)
    • 片上超低频 10kHz 振荡器 (VLO)
    • 片上高频调制振荡器 (MODOSC)
    • 外部 32kHz 晶振 (LFXT)
    • 外部高频晶体振荡器,频率最高可达 24MHz (HFXT)
    • 可编程 MCLK 预分频器(1 至 128)
    • 源自具有可编程预分频器(1、2、4 或 8)的 MCLK 的 SMCLK
  • 通用输入/输出和引脚功能
    • 48 引脚封装上的 44 个 I/O
    • 32 个中断引脚(P1、P2、P3 和 P4)可以将 MCU 从 LPM 唤醒
  • 开发工具和软件(另外请参阅工具和软件)
    • LaunchPad™开发套件 (MSP‑EXP430FR2355)
    • 目标开发板 (MSP‑TS43048PT)
    • 免费的专业开发环境
  • 系列成员(另请参阅器件比较)
    • MSP430FR2355:32KB 的程序 FRAM、512B 的数据 FRAM、4KB 的 RAM
    • MSP430FR2353:16KB 的程序 FRAM、512B 的数据 FRAM、2KB 的 RAM
    • MSP430FR2155:32KB 的程序 FRAM、512B 的数据 FRAM、4KB 的 RAM
    • MSP430FR2153:16KB 的程序 FRAM、512B 的数据 FRAM、2KB 的 RAM
  • 封装选项
    • 48 引脚:LQFP (PT)
    • 40 引脚:VQFN (RHA)
    • 38 引脚:TSSOP (DBT)
    • 32 引脚:VQFN (RSM)
Frequency (MHz)24
Nonvolatile memory (kByte)16
RAM (kByte)2
ADC type12-bit SAR
Number of ADC channels12
Number of GPIOs44
FeaturesDAC, OpAmp, PGA, Real-time clock
UART2
USBNo
Number of I2Cs2
SPI4
Number of comparator channels2
Timers - 16-bit4
Bootloader (BSL)I2C, UART
Operating temperature range (°C)-40 to 105
RatingCatalog
LQFP (PT)4881 mm² 9 x 9
TSSOP (DBT)3862.08 mm² 9.7 x 6.4
VQFN (RHA)4036 mm² 6 x 6
VQFN (RSM)3216 mm² 4 x 4
产品购买
  • 商品型号
  • 封装
  • 工作温度
  • 包装
  • 价格
  • 现货库存
  • 操作
10s
温馨提示:
订单商品问题请移至我的售后服务提交售后申请,其他需投诉问题可移至我的投诉提交,我们将在第一时间给您答复
返回顶部