h1_key

TI(德州仪器) MSP430FR2110
德州仪器 (TI) 全系列产品在线购买
  • TI(德州仪器) MSP430FR2110
  • TI(德州仪器) MSP430FR2110
  • TI(德州仪器) MSP430FR2110
  • TI(德州仪器) MSP430FR2110
  • TI(德州仪器) MSP430FR2110
  • TI(德州仪器) MSP430FR2110
立即查看
您当前的位置: 首页 > 微控制器 (MCU) 和处理器 > MSP430 微控制器 > MSP430FR2110
MSP430FR2110

MSP430FR2110

正在供货

具有 2KB FRAM、1KB SRAM、比较器、10 位 ADC、UART/SPI、计时器的 16MHz MCU

产品详情
  • 说明
  • 特性
  • 参数
  • 封装 | 引脚 | 尺寸

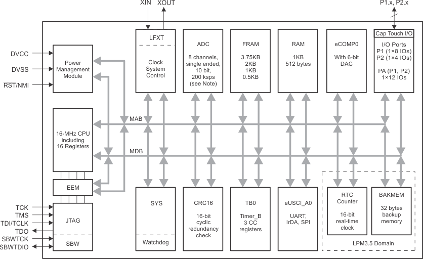
MSP430FR2000 和 MSP430FR21xx 器件属于 MSP430™ 微控制器 (MCU) 超值系列检测产品组合。这款超低功耗,低成本的 MCU 系列提供从 0.5KB 至 4KB 内存大小的 FRAM 统一存储器,并具有多种封装选项,包括 3mm×3mm 的小型 VQFN 封装。架构、FRAM 和集成外设与多种低功耗模式相结合,针对在便携式和电池供电检测应用中延长电池寿命进行了优化。MSP430FR2000 和 MSP430FR21xx 器件为 8 位设计提供了迁移路径,以便通过外设集成以及 FRAM 的数据记录和低功耗优势获得额外的特性和功能。此外,使用 MSP430G2x 系列 MCU 可将现有设计迁移到 MSP430FR2000 和 MSP430F21xx 系列,以提高性能并利用 FRAM 的优点。

MSP430FR2000 和 MSP430FR21xx 系列 MCU 具有功能强大的 16 位 RISC CPU、16 位寄存器和一个有助于获得最大编码效率的常数发生器。数字控制振荡器 (DCO) 通常还可以让器件在不到 10µs 的时间内从低功耗模式唤醒至激活模式。此 MCU 的功能集可满足从电器电池包和电池监控到烟雾探测器和健身附件等各种应用的需求。

MSP 超低功耗 (ULP) FRAM 微控制器平台将独特的嵌入式 FRAM 和全面的超低功耗系统架构相结合,从而使系统设计人员在低能耗条件下提升性能。FRAM 技术将 RAM 的低能耗快速写入、灵活性和耐用性与闪存的非易失性相结合。

MSP430FR2000 和 MSP430FR21x 系列 MCU 由一款广泛的硬件和软件生态系统进行支持,提供参考设计和代码示例,协助用户快速开展设计。开发套件包括 MSP-EXP430FR2311 和 MSP430FR4133 LaunchPad™ 开发套件以及 MSP‑TS430PW20 20 引脚目标开发板。TI 还提供免费的 MSP430Ware™ 软件,该软件以 Code Composer Studio™ IDE 桌面和云版本组件(位于 TI Resource Explorer 中)的形式提供。我们为 MSP430 MCU 提供广泛的在线配套资料(例如通用示例系列MSP Academy 培训),也通过 TI E2E™ 支持论坛提供在线支持。

有关完整的模块说明,请参阅 MSP430FR4xx 和 MSP430FR2xx 系列器件用户指南

  • 嵌入式微控制器
    • 频率高达 16MHz 的 16 位精简指令集计算机 (RISC) 架构
    • 1.8V 至 3.6V 的宽电源电压范围(最低电源电压受限于 SVS 电平,请参阅 SVS 规格)
  • 经优化的低功耗模式(3V)
    • 工作模式:120µA/MHz
    • 待机
      • 具有 VLO 的 LPM3.5:1µA
      • 实时时钟 (RTC) 计数器(采用 32768Hz 晶体的 LPM3.5):1µA
    • 关断 (LPM4.5):34nA,未使用 SVS
  • 高性能模拟
    • 8 通道 10 位模数转换器 (ADC)
      • 集成温度传感器
      • 1.5V 的内部基准电压
      • 采样与保持 200ksps
    • 增强型比较器 (eCOMP)
      • 集成 6 位 DAC 作为基准电压
      • 可编程迟滞
      • 可配置的高功率和低功率模式
  • 低功耗铁电 RAM (FRAM)
    • 非易失性存储器容量高达 3.75KB
    • 内置错误修正码 (ECC)
    • 可配置的写保护
    • 对程序、常量和存储的统一存储
    • 耐写次数达 1015
    • 抗辐射和非磁性
  • 智能数字外设
    • 具有三个捕捉/比较寄存器的 16 位计时器 (Timer_B3)
    • 一个仅用作计数器的 16 位 RTC 计数器
    • 16 位循环冗余校验器 (CRC)
  • 增强型串行通信
    • 增强型 USCI A (eUSCI_A) 支持 UART、IrDA 和 SPI
  • 时钟系统 (CS)
    • 片上 32kHz RC 振荡器 (REFO)
    • 带有锁频环 (FLL) 的片上 16MHz 数控振荡器 (DCO)
      • 室温下的精度为 ±1%(具有片上基准)
    • 片上超低频 10kHz 振荡器 (VLO)
    • 片上高频调制振荡器 (MODOSC)
    • 外部 32kHz 晶振 (LFXT)
    • 可编程 MCLK 预分频器(1 至 128)
    • 通过可编程预分频器(1、2、4 或 8)从 MCLK 获得的 SMCLK
  • 通用输入/输出和引脚功能
    • 16 引脚封装有 12 个 I/O
    • 8 个中断引脚(4 个 P1 引脚和 4 个 P2 引脚)可将 MCU 从 LPM 唤醒
    • 所有 I/O 均为电容式触控 I/O
  • 开发工具与软件(另请参阅工具与软件)
    • 免费的专业开发环境
    • 开发套件
      • MSP-TS430PW20
      • MSP‑FET430U20
      • MSP‑EXP430FR2311
      • MSP‑EXP430FR4133
  • 系列成员(另请参阅器件比较)
    • MSP430FR2111:3.75KB 程序 FRAM,1KB RAM
    • MSP430FR2110:2KB 程序 FRAM,1KB RAM
    • MSP430FR2100:1KB 程序 FRAM,512 字节 RAM
    • MSP430FR2000:0.5KB 程序 FRAM,512 字节 RAM
  • 封装选项
    • 16 引脚:TSSOP (PW16)
    • 24 引脚:VQFN (RLL)
Frequency (MHz)16
Nonvolatile memory (kByte)2
RAM (kByte)1
ADC type10-bit SAR
Number of ADC channels8
Number of GPIOs12
FeaturesReal-time clock
UART1
USBNo
Number of I2Cs0
SPI1
Number of comparator channels4
Timers - 16-bit1
Bootloader (BSL)UART
Operating temperature range (°C)-40 to 85
RatingCatalog
TSSOP (PW)1632 mm² 5 x 6.4
VQFN (RLL)249 mm² 3 x 3
产品购买
  • 商品型号
  • 封装
  • 工作温度
  • 包装
  • 价格
  • 现货库存
  • 操作

很抱歉,暂时无法提供与“MSP430FR2110”系列相匹配的产品,您可以联系专属客服快速找货或在现货搜索框中重新搜索。

10s
温馨提示:
订单商品问题请移至我的售后服务提交售后申请,其他需投诉问题可移至我的投诉提交,我们将在第一时间给您答复
返回顶部