h1_key

TI(德州仪器) MSP430FR2310
德州仪器 (TI) 全系列产品在线购买
  • TI(德州仪器) MSP430FR2310
  • TI(德州仪器) MSP430FR2310
  • TI(德州仪器) MSP430FR2310
  • TI(德州仪器) MSP430FR2310
  • TI(德州仪器) MSP430FR2310
  • TI(德州仪器) MSP430FR2310
立即查看
您当前的位置: 首页 > 微控制器 (MCU) 和处理器 > MSP430 微控制器 > MSP430FR2310
MSP430FR2310

MSP430FR2310

正在供货

具有 2KB FRAM、运算放大器、TIA、比较器、DAC、10 位 ADC 的 16MHz 集成模拟微控制器

产品详情
  • 说明
  • 特性
  • 参数
  • 封装 | 引脚 | 尺寸

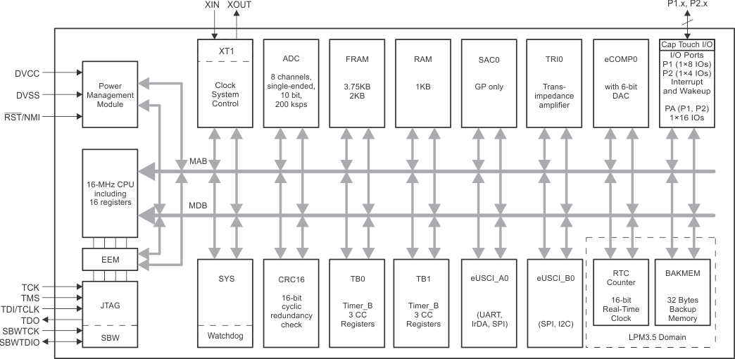
MSP430FR231x FRAM 微控制器 (MCU) 属于 MSP430™MCU 超值系列检测系列中的一员。这些器件集成了可配置的低泄漏跨阻放大器 (TIA) 和通用运算放大器。MCU 具有功能强大的 16 位 RISC CPU、16 位寄存器和常数发生器,有助于实现最大编码效率。数控振荡器 (DCO) 还可以让器件在不到 10µs 的时间内从低功耗模式唤醒至活动模式。这些 MCU 的功能集 非常适合从 烟雾探测器到便携式医疗和健身配件等多种应用。

超低功耗的 MSP430FR231x MCU 系列包含多种器件,其中配备了嵌入式非易失性 FRAM 和不同的外设集,适用于各种检测和测量 应用中的数字输入 D 类音频放大器。该架构、FRAM 和外设与多种低功耗模式相结合,专为在便携式无线感测应用 中延长电池使用寿命而进行了优化中的数字输入 D 类音频放大器。FRAM 是一种非易失性存储器技术,它将 SRAM 的速度、灵活性和耐用性与闪存的稳定性和可靠性相结合,并且总功耗更低。

MSP430FR231x MCU 由一个由各种软、硬件资源组成的生态系统提供支持,并配套提供有参考设计和代码示例,可帮助您快速开展设计。开发套件包括 MSP‑EXP430FR2311 LaunchPad™开发套件和 MSP‑TS430PW20 20 引脚目标开发板。TI 提供免费的 MSP430Ware™ 软件,可作为Code Composer Studio™ IDE 台式机和云版本(位于 TI Resource Explorer)的组件。MSP430 MCU 还通过E2E™ 社区论坛提供广泛的在线配套资料、培训和在线支持。

有关完整的模块说明,请参阅《MSP430FR4xx 和 MSP430FR2xx 系列器件用户指南》

  • 嵌入式微控制器
    • 频率高达 16MHz 的 16 位精简指令集计算机 (RISC) 架构
    • 3.6V 至 1.8V 的宽电源电压范围(最低电源电压受限于 SVS 电平,请参阅 SVS 规格)
  • 经优化的低功耗模式(3V 时)
    • 激活模式:126µA/MHz
    • 待机模式:实时时钟 (RTC) 计数器(LPM3.5,采用 32768Hz 晶振)0.71µA
    • 关断模式 (LPM4.5):32nA(无 SVS)
  • 高性能模拟
    • 跨阻放大器 (TIA) (1)
      • 电流至电压转换
      • 半轨输入
      • 仅针对 TSSOP16 封装,将低泄漏负输入降至 5pA
      • 轨至轨输出
      • 多个输入信号选项
      • 可配置的高功率和低功率模式
    • 8 通道 10 位模数转换器 (ADC)
      • 1.5V 的内部基准电压
      • 采样与保持 200ksps
    • 增强型比较器 (eCOMP)
      • 集成 6 位数模转换器 (DAC) 作为基准电压
      • 可编程迟滞
      • 可配置的高功率和低功率模式
    • 智能模拟组合 (SAC-L1)
      • 支持通用运算放大器
      • 轨至轨输入和输出
      • 多个输入信号选项
      • 可配置的高功率和低功率模式
  • 低功耗铁电 RAM (FRAM)
    • 非易失性存储器容量高达 3.75KB
    • 内置错误修正码 (ECC)
    • 可配置的写保护
    • 对程序、常量和存储的统一存储
    • 耐写次数达 1015
    • 抗辐射和非磁性
  • 智能数字外设
    • 红外调制逻辑
    • 两个 16 位计时器,每个计时器有 3 个捕捉/比较寄存器 (Timer_B3)
    • 一个仅用作计数器的 16 位 RTC 计数器
    • 16 位循环冗余校验器 (CRC)
  • 增强型串行通信
    • 增强型 USCI A (eUSCI_A) 支持 UART、IrDA 和 SPI
    • 增强型 USCI B (eUSCI_B) 支持 SPI 和 I2C,并提供重映射功能(请参阅信号说明)
  • 时钟系统 (CS)
    • 片上 32kHz RC 振荡器 (REFO)
    • 带有锁频环 (FLL) 的片上 16MHz 数控振荡器 (DCO)
      • 室温下的精度为 ±1%(具有片上基准)
    • 片上超低频 10kHz 振荡器 (VLO)
    • 片上高频调制振荡器 (MODOSC)
    • 外部 32kHz 晶振 (LFXT)
    • 外部高频晶体振荡器,频率高达 16MHz (HFXT)
    • 可编程 MCLK 预分频器(1 至 128)
    • 通过可编程预分频器(1、2、4 或 8)从 MCLK 获得的 SMCLK
  • 通用输入/输出和引脚功能
    • 20 引脚封装有 16 个 I/O
    • 12 个中断引脚(8 个 P1 引脚和 4 个 P2 引脚)可将 MCU 从 LPM 唤醒
    • 所有 I/O 均为电容式触控 I/O
  • 开发工具和软件
    • LaunchPad™开发套件 (MSP‑EXP430FR2311)
    • 目标开发板 (MSP‑TS430PW20)
  • 系列成员(另请参阅器件比较)
    • MSP430FR2311:3.75KB 程序 FRAM 和 1KB RAM
    • MSP430FR2310:2KB 程序 FRAM 和 1KB RAM
  • 封装选项
    • 20 引脚 TSSOP (PW20)
    • 16 引脚 TSSOP (PW16)
    • 16 引脚 VQFN (RGY16)

(1)以前,跨阻放大器在描述性文字、引脚名称和电阻器名称中的缩写都是 TRI。现在将所有描述性文字中的缩写改成了 TIA,但引脚名称和电阻器名称仍然使用 TRI。

Frequency (MHz)16
Nonvolatile memory (kByte)2
RAM (kByte)1
ADC type10-bit SAR
Number of ADC channels8
Number of GPIOs16
FeaturesOpAmp, Real-time clock, Transimpedance amplifier
UART1
USBNo
Number of I2Cs1
SPI2
Number of comparator channels2
Timers - 16-bit2
Bootloader (BSL)I2C, UART
Operating temperature range (°C)-40 to 85
RatingCatalog
TSSOP (PW)1632 mm² 5 x 6.4
TSSOP (PW)2041.6 mm² 6.5 x 6.4
VQFN (RGY)1614 mm² 4 x 3.5
产品购买
  • 商品型号
  • 封装
  • 工作温度
  • 包装
  • 价格
  • 现货库存
  • 操作

很抱歉,暂时无法提供与“MSP430FR2310”系列相匹配的产品,您可以联系专属客服快速找货或在现货搜索框中重新搜索。

10s
温馨提示:
订单商品问题请移至我的售后服务提交售后申请,其他需投诉问题可移至我的投诉提交,我们将在第一时间给您答复
返回顶部