h1_key

TI(德州仪器) MSP430FR2433
德州仪器 (TI) 全系列产品在线购买
  • TI(德州仪器) MSP430FR2433
  • TI(德州仪器) MSP430FR2433
  • TI(德州仪器) MSP430FR2433
  • TI(德州仪器) MSP430FR2433
  • TI(德州仪器) MSP430FR2433
  • TI(德州仪器) MSP430FR2433
立即查看
您当前的位置: 首页 > 微控制器 (MCU) 和处理器 > MSP430 微控制器 > MSP430FR2433
MSP430FR2433

MSP430FR2433

正在供货

具有 16KB FRAM、4KB SRAM、10 位 ADC、UART/SPI/I2C、计时器的 16MHz MCU

产品详情
  • 说明
  • 特性
  • 参数
  • 封装 | 引脚 | 尺寸

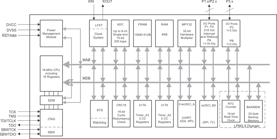
MSP430FR2433 微控制器 (MCU) 是 MSP430™超值系列检测产品组合中的一个器件,该超值系列是 TI 成本最低的 MCU 系列,适用于检测和测量 应用。该架构、FRAM 和集成外设与多种低功耗模式相结合,经过优化延长了采用小型 VQFN 封装 (4mm × 4mm) 应用的 电池寿命。

TI 的 MSP430 超低功耗 FRAM 微控制器平台将独特的嵌入式 FRAM 和全面的超低功耗系统架构相结合,从而使系统设计人员能够在降低能耗的同时提升性能。FRAM 技术兼有 RAM 的低功耗快速写入、灵活性、耐用性和闪存非易失性等特性。

MSP430FR2433 MCU 由一个由各种软、硬件资源组成的生态系统提供支持,并配套提供有参考设计和代码示例,可帮助您快速开展设计。开发套件包括 MSP‑EXP430FR2433 LaunchPad™开发套件和 MSP‑TS430RGE24A 24 引脚目标开发板。TI 还提供免费的 MSP430Ware™ 软件,该软件以 Code Composer Studio™ IDE 台式机和云版本组件的形式提供(位于 TI Resource Explorer)。E2E™ 支持论坛还为 MSP430 MCU 提供广泛的在线配套资料、培训和在线支持。

有关完整的模块说明,请参阅《MSP430FR4xx 和 MSP430FR2xx 系列器件用户指南》

  • 嵌入式微控制器
    • 16 位 RISC 架构
    • 支持的时钟频率最高可达 16MHz
    • 3.6V 至 1.8V 的宽电源电压范围(最低电源电压受限于 SVS 电平,请参阅 SVS 规格)
  • 优化的超低功耗模式
    • 激活模式:126µA/MHz(典型值)
    • 待机模式:VLO 的电流小于 1µA
    • 采用 32768Hz 晶振的 LPM3.5 实时时钟 (RTC) 计数器:730nA(典型值)
    • 关断电流 (LPM4.5):16nA(典型值)
  • 高性能模拟
    • 8 通道 10 位模数转换器 (ADC)
      • 1.5V 的内部基准电压
      • 采样与保持 200ksps
  • 增强型串行通信
    • 两个增强型通用串行通信接口 (eUSCI_A) 支持 UART、IrDA 和 SPI
    • 一个 eUSCI (eUSCI_B) 支持 SPI 和 I2C
  • 智能数字外设
    • 四个 16 位计时器
      • 两个计时器,每个计时器具有三个捕捉/比较寄存器 (Timer_A3)
      • 两个计时器,每个计时器具有两个捕捉/比较寄存器 (Timer_A2)
    • 一个仅用作计数器的 16 位 RTC
    • 16 位循环冗余校验 (CRC)
  • 低功耗铁电 RAM (FRAM)
    • 容量高达 15.5KB 的非易失性存储器
    • 内置错误修正码 (ECC)
    • 可配置的写保护
    • 对程序、常量和存储的统一存储
    • 耐写次数达 1015
    • 抗辐射和非磁性
    • FRAM 与 SRAM 之比高达 4:1
  • 时钟系统 (CS)
    • 片上 32kHz RC 振荡器 (REFO)
    • 带有锁频环 (FLL) 的片上 16MHz 数控振荡器 (DCO)
      • 室温下的精度为 ±1%(具有片上基准)
    • 片上超低频 10kHz 振荡器 (VLO)
    • 片上高频调制振荡器 (MODOSC)
    • 外部 32kHz 晶振 (LFXT)
    • 可编程 MCLK 预分频器(1 至 128)
    • 通过可编程预分频器(1、2、4 或 8)从 MCLK 获得的 SMCLK
  • 通用输入/输出和引脚功能
    • 共计 19 个 I/O(采用 VQFN-24 封装)
    • 16 个中断引脚(P1 和 P2)可以将 MCU 从低功耗模式下唤醒
  • 开发工具和软件
    • 开发工具
      • LaunchPad™开发套件 (MSP‑EXP430FR2433)
      • 目标开发板 (MSP‑TS430RGE24A)
  • 系列成员(另请参阅器件比较)
    • MSP430FR2433:15KB 程序 FRAM、512B 信息 FRAM、4KB RAM
  • 封装选项
    • 24 引脚:VQFN (RGE)
    • 24 引脚:DSBGA (YQW)
Frequency (MHz)16
Nonvolatile memory (kByte)16
RAM (kByte)4
ADC type10-bit SAR
Number of ADC channels8
Number of GPIOs19
FeaturesReal-time clock
UART2
USBNo
Number of I2Cs1
SPI2
Number of comparator channels0
Timers - 16-bit4
Bootloader (BSL)I2C, UART
Operating temperature range (°C)-40 to 85
RatingCatalog
DSBGA (YQW)244.84 mm² 2.2 x 2.2
VQFN (RGE)2416 mm² 4 x 4
产品购买
  • 商品型号
  • 封装
  • 工作温度
  • 包装
  • 价格
  • 现货库存
  • 操作
10s
温馨提示:
订单商品问题请移至我的售后服务提交售后申请,其他需投诉问题可移至我的投诉提交,我们将在第一时间给您答复
返回顶部