h1_key

TI(德州仪器) MSP430F6723A
德州仪器 (TI) 全系列产品在线购买
  • TI(德州仪器) MSP430F6723A
  • TI(德州仪器) MSP430F6723A
  • TI(德州仪器) MSP430F6723A
  • TI(德州仪器) MSP430F6723A
  • TI(德州仪器) MSP430F6723A
  • TI(德州仪器) MSP430F6723A
立即查看
您当前的位置: 首页 > 微控制器 (MCU) 和处理器 > MSP430 微控制器 > MSP430F6723A
MSP430F6723A

MSP430F6723A

正在供货

具有 2 个 Σ-Δ ADC、LCD、实时时钟、64KB 闪存、4KB RAM 的单相计量 SoC

产品详情
  • 说明
  • 特性
  • 参数
  • 封装 | 引脚 | 尺寸

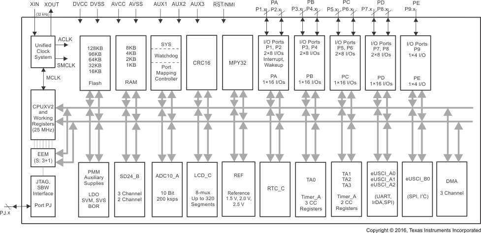
TI MSP 系列超低功耗微控制器种类繁多,各成员器件配备不同的外设集以满足各类应用的 需求。此架构与多种低功耗模式配合使用,是延长便携式测量应用电池寿命的最优 选择。该器件 具有 一个强大的 16 位精简指令集 (RISC) CPU,使用 16 位寄存器以及常数发生器,以便获得最高编码效率。DCO 可使器件在不到 3µs(典型值)的时间内从低功耗模式唤醒至激活模式。

MSP430F673xA 和 MSP430F672xA 微控制器具有高性能 24 位 Σ-Δ ADC(MSP430F673xA 中有 3 个 ADC,MSP430F672xA 中有 2 个 ADC)、1 个 10 位 ADC、4 个 eUSCI(3 个 eUSCI_A 模块和 1 个 eUSCI_B 模块)、4 个 16 位计时器、1 个硬件乘法器、1 个 DMA 模块、1 个具有报警功能的 RTC 模块、1 个具有集成对比度控制功能的 LCD 驱动器以及 1 个辅助电源系统;100 引脚器件的 I/O 引脚多达 72 个,而 80 引脚器件的 I/O 引脚多达 52 个。

要获得完整的模块说明,请参阅《MSP430F5xx 和 MSP430F6xx 系列用户指南》

  • 低电源电压范围:
    3.6V 到低至 1.8V
  • 超低功耗
    • 激活模式 (AM):
      所有系统时钟激活
      在 8MHz、3.0V 且闪存程序执行时为 265µA/MHz(典型值)
      在 8MHz、3.0V 且 RAM 程序执行时为 140µA/MHz(典型值)
    • 待机模式 (LPM3):
      含晶体的实时时钟 (RTC)、看门狗、电源监视器可用、完全 RAM 保持、快速唤醒:
      2.2V 时为 1.7µA,3.0V 时为 2.5µA(典型值)
    • 关闭模式 (LPM4):
      完全 RAM 保持、电源监视器可用、快速唤醒:
      3.0V 时为 1.6µA(典型值)
    • 关断 RTC 模式 (LPM3.5):
      关断模式,RTC(采用晶振)工作:
      3.0V 时为 1.24µA(典型值)
    • 关断模式 (LPM4.5):
      3.0V 时为 0.78µA(典型值)
  • 在 3µs(典型值)内从待机模式唤醒
  • 16 位精简指令集计算机 (RISC) 架构,扩展内存,高达 25MHz 的系统时钟
  • 灵活的电源管理系统
    • 内置可编程的低压降稳压器 (LDO)
    • 电源电压监视、监控、和临时限电
    • 由多达 2 个辅助电源供电的系统运行
  • 单一时钟系统
    • 针对频率稳定的锁相环 (FLL) 控制环路
    • 低功耗低频内部时钟源 (VLO)
    • 低频修整内部基准源 (REFO)
    • 32kHz 晶体 (XT1)
  • 一个具有 3 个捕捉/比较寄存器的 16 位定时器
  • 3 个 16 位定时器,每个定时器具有 2 个捕捉/比较寄存器
  • 增强型通用串行通信接口 (eUSCI)
    • eUSCI_A0、eUSCI_A1 和 eUSCI_A2
      • 增强型通用异步收发器 (UART) 支持自动波特率检测
      • IrDA 编码和解码
      • 同步串行外设接口 (SPI)
    • eUSCI_B0
      • 支持多个从器件寻址的 I2C
      • 同步串行外设接口 (SPI)
  • 具有晶振偏移校准和温度补偿功能的受密码保护的 RTC
  • 用于备用子系统的独立电压电源
    • 32kHz 低频振荡器 (XT1)
    • 实时时钟
    • 备用存储器(4 × 16 位)
  • 三个具有差分可编程增益放大器 (PGA) 输入的 24 位 Σ-Δ 模数转换器 (ADC)
  • 具有 8 路复用模式下高达 320 段对比度控制 的集成 LCD 驱动器
  • 硬件乘法器支持 32 位运算
  • 10位 200ksps ADC
    • 内部基准
    • 采样和保持、自动扫描特性
    • 多达 6 个外部通道和 2 个内部通道,包括温度传感器
  • 3 通道内部直接内存访问 (DMA)
  • 串行板上编程,无需外部编程电压
  • 器件比较 汇总了可用的产品系列成员
  • 采用 100 引脚和 80 引脚 LQFP 封装
  • 单相电子电表开发工具(另请参阅工具与软件)
    • EVM430-F6736 - 用于计量的 MSP430F6736 EVM
    • 适用于 MSP430™ MCU 的能量测量设计中心
Frequency (MHz)25
Nonvolatile memory (kByte)64
RAM (kByte)4
ADC type24-bit Sigma Delta
Number of ADC channels2
Number of GPIOs72
FeaturesAdvanced sensing, LCD, Real-time clock
UART3
USBNo
Number of I2Cs1
SPI4
Number of comparator channels0
Timers - 16-bit4
Bootloader (BSL)UART
Operating temperature range (°C)-40 to 85
RatingCatalog
LQFP (PN)80196 mm² 14 x 14
LQFP (PZ)100256 mm² 16 x 16
产品购买
  • 商品型号
  • 封装
  • 工作温度
  • 包装
  • 价格
  • 现货库存
  • 操作

很抱歉,暂时无法提供与“MSP430F6723A”系列相匹配的产品,您可以联系专属客服快速找货或在现货搜索框中重新搜索。

10s
温馨提示:
订单商品问题请移至我的售后服务提交售后申请,其他需投诉问题可移至我的投诉提交,我们将在第一时间给您答复
返回顶部