h1_key

TI(德州仪器) MSP430F2272-Q1
德州仪器 (TI) 全系列产品在线购买
  • TI(德州仪器) MSP430F2272-Q1
  • TI(德州仪器) MSP430F2272-Q1
  • TI(德州仪器) MSP430F2272-Q1
  • TI(德州仪器) MSP430F2272-Q1
  • TI(德州仪器) MSP430F2272-Q1
  • TI(德州仪器) MSP430F2272-Q1
立即查看
您当前的位置: 首页 > 微控制器 (MCU) 和处理器 > MSP430 微控制器 > MSP430F2272-Q1
MSP430F2272-Q1

MSP430F2272-Q1

正在供货

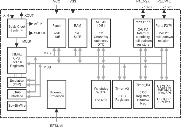
具有 32KB 闪存、512B SRAM、10 位 ADC 和 I2C/SPI/UART 的汽车类 16MHz MCU

产品详情
  • 说明
  • 特性
  • 参数
  • 封装 | 引脚 | 尺寸
Frequency (MHz)16
Nonvolatile memory (kByte)32
RAM (kByte)1
ADC type10-bit SAR
Number of ADC channels12
FeaturesOpAmp
UART1
USBNo
Number of I2Cs1
SPI2
Number of comparator channels0
Timers - 16-bit2
Bootloader (BSL)UART
Operating temperature range (°C)-40 to 105
RatingAutomotive
VQFN (RHA)4036 mm² 6 x 6
产品购买
  • 商品型号
  • 封装
  • 工作温度
  • 包装
  • 价格
  • 现货库存
  • 操作

很抱歉,暂时无法提供与“MSP430F2272-Q1”系列相匹配的产品,您可以联系专属客服快速找货或在现货搜索框中重新搜索。

10s
温馨提示:
订单商品问题请移至我的售后服务提交售后申请,其他需投诉问题可移至我的投诉提交,我们将在第一时间给您答复
返回顶部