h1_key

TI(德州仪器) MSP430G2553-Q1
德州仪器 (TI) 全系列产品在线购买
  • TI(德州仪器) MSP430G2553-Q1
  • TI(德州仪器) MSP430G2553-Q1
  • TI(德州仪器) MSP430G2553-Q1
  • TI(德州仪器) MSP430G2553-Q1
  • TI(德州仪器) MSP430G2553-Q1
  • TI(德州仪器) MSP430G2553-Q1
立即查看
您当前的位置: 首页 > 微控制器 (MCU) 和处理器 > MSP430 微控制器 > MSP430G2553-Q1
MSP430G2553-Q1

MSP430G2553-Q1

正在供货

具有 16KB 闪存、512B SRAM、10 位 ADC、比较器、UART/SPI/I2C、计时器的汽车类 16MHz MCU

产品详情
  • 说明
  • 特性
  • 参数
  • 封装 | 引脚 | 尺寸

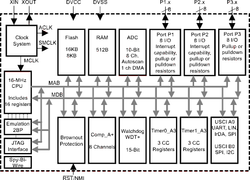
The Texas Instruments MSP430 family of ultra-low-power microcontrollers consists of several devices featuring different sets of peripherals targeted for various applications. The architecture, combined with five low-power modes, is optimized to achieve extended battery life in portable measurement applications. The device features a powerful 16-bit RISC CPU, 16-bit registers, and constant generators that contribute to maximum code efficiency. The digitally controlled oscillator (DCO) allows the device to wake up from low-power modes to active mode in less than 1 µs.

The MSP430G2x53 series are ultra-low-power mixed signal microcontrollers with built-in 16-bit timers, up to 24 I/O capacitive-touch enabled pins, a versatile analog comparator, a 10-bit analog-to-digital (A/D) converter, and built-in communication capability using the universal serial communication interface.

Typical applications include low-cost sensor systems that capture analog signals, convert them to digital values, and then process the data for display or for transmission to a host system.

  • Qualified for Automotive Applications
  • Low Supply-Voltage Range: 1.8 V to 3.6 V
  • Ultra-Low-Power Consumption
    • Active Mode: 230 µA at 1 MHz, 2.2 V
    • Standby Mode: 0.5 µA
    • Off Mode (RAM Retention): 0.1 µA
  • Five Power-Saving Modes
  • Ultra-Fast Wakeup From Standby Mode in Less Than 1 µs
  • 16-Bit RISC Architecture, 62.5-ns Instruction Cycle Time
  • Basic Clock Module Configurations
    • Internal Frequencies up to 16 MHz With Four Calibrated Frequency
    • Internal Very-Low-Power Low-Frequency (LF) Oscillator
    • 32-kHz Crystal
    • External Digital Clock Source
  • Two 16-Bit Timer_A With Three Capture/Compare Registers
  • Up to 24 Capacitive-Touch Enabled I/O Pins
  • Universal Serial Communication Interface (USCI)
    • Enhanced UART Supports Automatic Baud-Rate Detection (LIN)
    • IrDA Encoder and Decoder
    • Synchronous SPI
    • I2C
  • On-Chip Comparator for Analog Signal Compare Function or Slope Analog-to-Digital (A/D) Conversion
  • 10-Bit 200-ksps Analog-to-Digital Converter (ADC) With Internal Reference, Sample-and-Hold, and Autoscan
  • Brownout Detector
  • Serial Onboard Programming, No External Programming Voltage Needed, Programmable Code Protection by Security Fuse
  • On-Chip Emulation Logic With Spy-Bi-Wire Interface
  • Package Options
    • TSSOP: 20 Pin or 28 Pin
Frequency (MHz)16
Nonvolatile memory (kByte)16
RAM (kByte)0.5
ADC type10-bit SAR
Number of ADC channels8
Number of GPIOs24
FeaturesReal-time clock, Spy-bi-wire, Watchdog timer
UART1
USBNo
Number of I2Cs1
SPI2
Number of comparator channels8
Timers - 16-bit2
Bootloader (BSL)UART
Operating temperature range (°C)-40 to 85
RatingAutomotive
TSSOP (PW)2041.6 mm² 6.5 x 6.4
TSSOP (PW)2862.08 mm² 9.7 x 6.4
产品购买
  • 商品型号
  • 封装
  • 工作温度
  • 包装
  • 价格
  • 现货库存
  • 操作

很抱歉,暂时无法提供与“MSP430G2553-Q1”系列相匹配的产品,您可以联系专属客服快速找货或在现货搜索框中重新搜索。

10s
温馨提示:
订单商品问题请移至我的售后服务提交售后申请,其他需投诉问题可移至我的投诉提交,我们将在第一时间给您答复
返回顶部