h1_key

TI(德州仪器) MSP430FR2032
德州仪器 (TI) 全系列产品在线购买
  • TI(德州仪器) MSP430FR2032
  • TI(德州仪器) MSP430FR2032
  • TI(德州仪器) MSP430FR2032
  • TI(德州仪器) MSP430FR2032
  • TI(德州仪器) MSP430FR2032
  • TI(德州仪器) MSP430FR2032
立即查看
您当前的位置: 首页 > 微控制器 (MCU) 和处理器 > MSP430 微控制器 > MSP430FR2032
MSP430FR2032

MSP430FR2032

正在供货

具有 8KB FRAM、1KB SRAM、10 位 ADC、UART/SPI/I2C、红外逻辑、计时器的 16MHz MCU

产品详情
  • 说明
  • 特性
  • 参数
  • 封装 | 引脚 | 尺寸

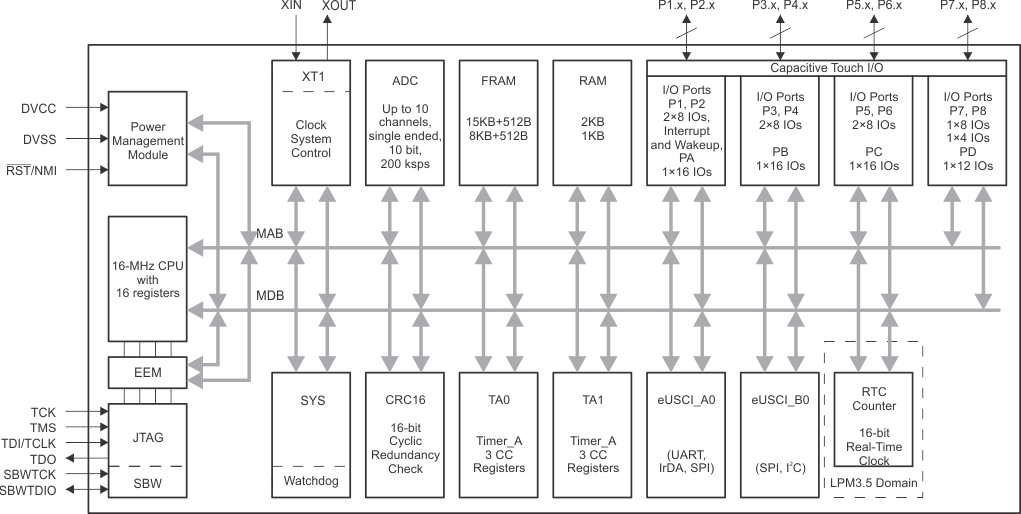
TI 的 MSP430™系列低功耗微控制器种类繁多,各成员器件配备不同的外设集以满足各类应用 的需求的需求。该架构与多种低功耗模式配合使用,经过优化,可在便携式测量应用延长电池 寿命。此器件 具有 一个强大的 16 位精简指令集 (RISC) CPU,使用 16 位寄存器以及常数发生器,以便获得最高编码效率。DCO 可使器件在不到 10µs 的时间内从低功率模式唤醒并进入工作模式。

有关完整的模块说明,请参阅《MSP430FR4xx 和 MSP430FR2xx 系列器件用户指南》

  • 嵌入式微控制器
    • 频率高达 16MHz 的 16 位精简指令集计算机 (RISC) 架构
    • 3.6V 至 1.8V 的宽电源电压范围(最低电源电压受限于 SVS 电平,请参阅 SVS 规格)
  • 经优化的低功耗模式(3V)
    • 工作状态:126µA/MHz
    • 待机
      • LPM3.5(具有 VLO):0.4µA
      • 实时时钟 (RTC) 计数器(LPM3.5,采用 32768Hz 晶振):0.77µA
    • 关断 (LPM4.5):15nA
  • 低功耗铁电 RAM (FRAM)
    • 容量高达 15.5KB 的非易失性存储器
    • 内置错误修正码 (ECC)
    • 可配置的写保护
    • 对程序、常量和存储的统一存储
    • 耐写次数达 1015
    • 抗辐射和非磁性
  • 智能数字外设
    • 红外调制逻辑
    • 两个 16 位定时器,每个定时器有 3 个捕捉/比较寄存器 (Timer_A3)
    • 一个仅用作计数器的 16 位 RTC 计数器
    • 16 位循环冗余校验 (CRC)
  • 增强型串行通信
    • 增强型 USCI A (eUSCI_A) 支持 UART、IrDA 和 SPI
    • 增强型 USCI B (eUSCI_B) 支持 SPI 和 I2C
  • 高性能模拟
    • 10 通道 10 位模数转换器 (ADC)
      • 1.5V 的内部基准电压
      • 采样与保持 200ksps
  • 时钟系统 (CS)
    • 片上 32kHz RC 振荡器 (REFO)
    • 带有锁频环 (FLL) 的片上 16MHz 数控振荡器 (DCO)
      • 室温下的精度为 ±1%(具有片上基准)
    • 片上超低频 10kHz 振荡器 (VLO)
    • 片上高频调制振荡器时钟 (MODCLK)
    • 外部 32kHz 晶振 (XT1)
    • 可编程 MCLK 预分频器(1 至 128)
    • 通过可编程预分频器(1、2、4 或 8)从 MCLK 获得的 SMCLK
  • 通用输入/输出和引脚功能
    • 共计 60 个 I/O(64 引脚封装)
    • 16 个中断引脚(P1 和 P2)可以将 MCU 从 LPM 唤醒
    • 所有 I/O 均为电容式触控 I/O
  • 开发工具和软件
    • 免费的专业开发环境
  • 系列成员(另请参阅器件比较)
    • MSP430FR2033:15KB 程序 FRAM + 512B 信息 FRAM + 2KB RAM
    • MSP430FR2032:8KB 程序 FRAM + 512B 信息 FRAM + 1KB RAM
  • 封装选项
    • 64 引脚:LQFP (PM)
    • 56 引脚:TSSOP (G56)
    • 48 引脚:TSSOP (G48)
Frequency (MHz)16
Nonvolatile memory (kByte)8
RAM (kByte)1
ADC type10-bit SAR
Number of ADC channels10
Number of GPIOs60
FeaturesIR Modulation Logic, Real-time clock
UART1
USBNo
Number of I2Cs1
SPI2
Number of comparator channels0
Timers - 16-bit2
Bootloader (BSL)UART
Operating temperature range (°C)-40 to 85
RatingCatalog
LQFP (PM)64144 mm² 12 x 12
TSSOP (DGG)48101.25 mm² 12.5 x 8.1
TSSOP (DGG)56113.4 mm² 14 x 8.1
产品购买
  • 商品型号
  • 封装
  • 工作温度
  • 包装
  • 价格
  • 现货库存
  • 操作

很抱歉,暂时无法提供与“MSP430FR2032”系列相匹配的产品,您可以联系专属客服快速找货或在现货搜索框中重新搜索。

10s
温馨提示:
订单商品问题请移至我的售后服务提交售后申请,其他需投诉问题可移至我的投诉提交,我们将在第一时间给您答复
返回顶部