h1_key

TI(德州仪器) NN325-Q1
德州仪器 (TI) 全系列产品在线购买
  • TI(德州仪器) NN325-Q1
  • TI(德州仪器) NN325-Q1
  • TI(德州仪器) NN325-Q1
  • TI(德州仪器) NN325-Q1
  • TI(德州仪器) NN325-Q1
  • TI(德州仪器) NN325-Q1
立即查看
您当前的位置: 首页 > 微控制器 (MCU) 和处理器 > MSP430 微控制器 > NN325-Q1
NN325-Q1

NN325-Q1

正在供货

多感应触摸管理器

产品详情
  • 说明
  • 特性
  • 参数
  • 封装 | 引脚 | 尺寸

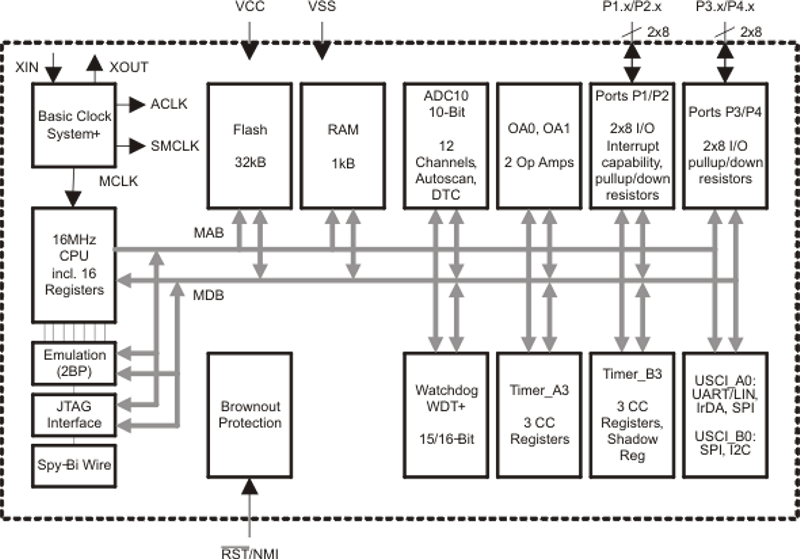
The NN325 device is an ultra-low-power multisensing touch manager that includes optimized peripherals dedicated for high-performance touch-sensing applications. The device is optimized for ultra-low power operation using five low-power modes. The embedded powerful 16-bit RISC core based on a MSP430 architecture offers 16-bit registers and constant generators to achieve maximum code efficiency. The digitally controlled oscillator (DCO) allows wakeup from low-power modes to active mode in less than 1 µs. The ultra-low-power core comes together with two built-in 16-bit timers, a universal serial communication interface (USCI), a 10-bit ADC with integrated reference and data transfer controller (DTC), and 32 I/O pins.

  • Qualified for Automotive Applications
  • Low Supply Voltage Range: 1.8 V to 3.6 V
  • Ultra-Low-Power Consumption
    • Active Mode: 270 µA at 1 MHz, 2.2 V
    • Standby Mode: 0.7 µA
    • Off Mode (RAM Retention): 0.1 µA
  • Ultra-Fast Wakeup From Standby Mode in Less Than 1 µs
  • 16-Bit RISC Architecture, 62.5-ns Instruction Cycle Time
  • Basic Clock Module Configurations
    • Internal Frequencies up to 16 MHz With Four Calibrated Frequencies to ±1%
    • Internal Very-Low-Power Low-Frequency Oscillator
    • 32-kHz Crystal
    • High-Frequency (HF) Crystal up to 16 MHz
    • Resonator
    • External Digital Clock Source
    • External Resistor
  • 16-Bit Timer_A With Three Capture/Compare Registers
  • 16-Bit Timer_B With Three Capture/Compare Registers
  • Universal Serial Communication Interface (USCI)
    • Enhanced UART With Auto-Baudrate Detection (LIN)
    • IrDA Encoder and Decoder
    • Synchronous SPI
    • I2C
  • 10-Bit 200-ksps Analog-to-Digital Converter (ADC) With Internal Reference, Sample-and-Hold, Autoscan, and Data Transfer Controller
  • Brownout Detector
  • Serial Onboard Programming, No External Programming Voltage Needed, Programmable Code Protection by Security Fuse
  • Bootstrap Loader (BSL)
  • On-Chip Emulation Module
  • Family Members Include:
    • NN325
      • 32KB + 256B Flash Memory
      • 1KB RAM
  • Available in a 40-Pin QFN Package (RHA)
Frequency (MHz)16
Nonvolatile memory (kByte)32
RAM (kByte)1
ADC type10-bit SAR
Number of ADC channels12
FeaturesOpAmp
UART1
USBNo
Number of I2Cs1
SPI2
Number of comparator channels0
Timers - 16-bit2
Bootloader (BSL)UART
Operating temperature range (°C)-40 to 105
RatingAutomotive
VQFN (RHA)4036 mm² 6 x 6
产品购买
  • 商品型号
  • 封装
  • 工作温度
  • 包装
  • 价格
  • 现货库存
  • 操作
10s
温馨提示:
订单商品问题请移至我的售后服务提交售后申请,其他需投诉问题可移至我的投诉提交,我们将在第一时间给您答复
返回顶部