h1_key

TI(德州仪器) MSP430F67471
德州仪器 (TI) 全系列产品在线购买
  • TI(德州仪器) MSP430F67471
  • TI(德州仪器) MSP430F67471
  • TI(德州仪器) MSP430F67471
  • TI(德州仪器) MSP430F67471
  • TI(德州仪器) MSP430F67471
  • TI(德州仪器) MSP430F67471
立即查看
您当前的位置: 首页 > 微控制器 (MCU) 和处理器 > MSP430 微控制器 > MSP430F67471
MSP430F67471

MSP430F67471

正在供货

具有 4 个 Σ-Δ ADC、LCD、实时时钟、256KB 闪存、32KB RAM 的多相计量 SoC

产品详情
  • 说明
  • 特性
  • 参数
  • 封装 | 引脚 | 尺寸

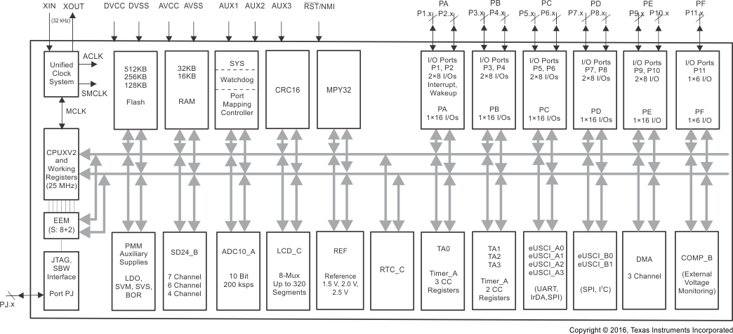
TI MSP430F677x1 系列多相位计量 SoC 是用于收费仪表的功能强大的高度集成解决方案,这些解决方案使用很少的外部组件即可提供精准计量并实现低系统成本。F677x1 系列器件使用具有 32 位乘法器的低功耗 MSP430 CPU 来执行所有能量计算、计量 应用 (如费率管理以及与 AMR 和 AMI 模块的通信)。

F677x1 器件采用 TI 的 24 位 Σ-Δ 转换器技术,其精度优于 0.1%。系列产品成员包括高达 512KB 的闪存、32KB 的 RAM 以及一个最高支持 320 段的 LCD 控制器。

F677x1 器件的超低功耗属性意味着可以最大限度地减小系统电源,以降低总体成本。最低待机功率意味着可以最大限度地减少备用电能存储,并在主电源发生故障时更长时间地保留关键数据。

F677x1 系列器件执行 TI 电能测量软件库,该软件库计算所有相关电能和功率结果。电能测量软件库随 F677x1 器件一起免费提供。还提供工业标准开发工具与软件平台,以在全球范围内加快符合所有 ANSI 和 IEC 标准的仪表的开发。

有关完整的模块说明,请参阅《MSP430F5xx 和 MSP430F6xx 系列用户指南》

  • 相位电流在超过 2000:1 的动态范围内精度 < 0.1%
  • 符合或者超过美国国家标准学会 (ANSI) C12.20 和国际电工委员会 (IEC) 62053 标准
  • 支持诸如电流变压器、罗式线圈或分流器等多种传感器
  • 针对高达 3 相位加上中线相位的电源管理
  • 为校准提供有源能量和无功能量的专用脉冲输出引脚
  • 每相位或累加相位的四象限测量
  • 精确相位角测量
  • 针对电流变压器的数字相位校正
  • 温度补偿电能测量
  • 使用单一校准的 40Hz 至 70Hz 线路频率范围
  • 支持自动切换的灵活电源选项
  • AC 主电源故障期间,显示运行在极低功耗下:LMP3 时 为 3µA
  • 具有高达 320 段对比度控制的 LCD 驱动器
  • 具有晶振偏移校准和温度补偿功能的受密码保护的实时时钟 (RTC)
  • 集成安全模块以支持防篡改
  • 用于智能仪表实施的多个通信接口
  • 具有 32 位复用器的高性能 25MHz CPU
  • 宽输入电源电压范围:
    3.6V 到低至 1.8V
  • 能量管理期间超低功耗
    • 10MHz 运行时 (3V) 为 2.9mW
  • 多个低功耗模式
    • 待机模式 (LPM3):3V 时为 2.1µA,
      在不到 5µs 的时间内唤醒
    • RTC 模式 (LPM3.5):3V 时为 0.34µA
    • 关断模式 (LPM4.5):3V 时为 0.18µA
  • 高达 512KB 的单周期闪存
  • 高达 32KB 支持单周期访问的 RAM
  • 多达 7 个支持差分输入和可变增益的独立 24 位 Σ-Δ ADC
  • 系统 10 位 200ksps ADC
    • 6 条电源和温度传感器测量增强型通道
  • 6 个增强型通信端口
    • 可在 4 个异步收发器 (UART),6 个串行外设接口 (SPI) 和 2 个 I²C 接口间配置
  • 4 个 16 位计时器,共有 9 个捕捉/比较寄存器
  • 具有 90 个 I/O 引脚的 128 引脚薄型方形扁平 (LQFP)(PEU) 封装
  • 具有 62 个 I/O 引脚的 100 引脚 LQFP (PZ) 封装
  • -40°C 至 85°C 的工业温度范围
  • 三相电子电表开发工具(另请参阅工具与软件)
    • EVM430-F6779 和应用手册
    • 适用于 MSP430™ MCU 的电能测量设计中心
Frequency (MHz)25
Nonvolatile memory (kByte)256
RAM (kByte)32
ADC type24-bit Sigma Delta
Number of ADC channels4
Number of GPIOs90
FeaturesAdvanced sensing, LCD, Real-time clock
UART4
USBNo
Number of I2Cs2
SPI6
Number of comparator channels0
Timers - 16-bit4
Bootloader (BSL)UART
Operating temperature range (°C)-40 to 85
RatingCatalog
LQFP (PZ)100256 mm² 16 x 16
产品购买
  • 商品型号
  • 封装
  • 工作温度
  • 包装
  • 价格
  • 现货库存
  • 操作

很抱歉,暂时无法提供与“MSP430F67471”系列相匹配的产品,您可以联系专属客服快速找货或在现货搜索框中重新搜索。

10s
温馨提示:
订单商品问题请移至我的售后服务提交售后申请,其他需投诉问题可移至我的投诉提交,我们将在第一时间给您答复
返回顶部