h1_key

TI(德州仪器) MSP430G2210
德州仪器 (TI) 全系列产品在线购买
  • TI(德州仪器) MSP430G2210
  • TI(德州仪器) MSP430G2210
  • TI(德州仪器) MSP430G2210
  • TI(德州仪器) MSP430G2210
  • TI(德州仪器) MSP430G2210
  • TI(德州仪器) MSP430G2210
立即查看
您当前的位置: 首页 > 微控制器 (MCU) 和处理器 > MSP430 微控制器 > MSP430G2210
MSP430G2210

MSP430G2210

正在供货

具有 2KB 闪存、128B SRAM、比较器、计时器的 16MHz MCU

产品详情
  • 说明
  • 特性
  • 参数
  • 封装 | 引脚 | 尺寸

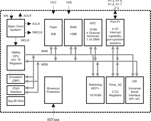
德州仪器公司 MSP430 系列超低功率微控制器包含几个器件,这些器件特有针对多种应用的不同的外设集。 这种架构与 5 种低功耗模式相组合,专为在便携式测量应用中延长电池使用寿命而优化。 该器件具有一个强大的 16 位 RISC CPU、16 位寄存器和有助于获得最大编码效率的常数发生器。 数字控制振荡器 (DCO) 可在不到 1µs 的时间里完成从低功耗模式至运行模式的唤醒。

MSP430G22x0 系列产品是一款超低功率混合信号微控制器,此微控制器装有一个内置的 16 位定时器和 4 个 I/O 引脚。 除此之外, MSP430G2230 还有使用同步协议 (SPI 或者 I2C) 的内置通信功能和一个 10 位 A/D 转换器。 MSP430G2210 装有一个多用途模拟比较器。

  • 低电源电压范围: 1.8 V 至 3.6 V
  • 超低功耗
    • 运行模式: 220 μA (在 1 MHz 频率和 2.2 V 电压条件下)
    • 待机模式: 0.5 μA
    • 关闭模式 (RAM 保持): 0.1 μA
  • 5 种节能模式
  • 可在不到 1 μs 的时间里超快速地从待机模式唤醒
  • 16 位 RISC 架构、62.5-ns 指令周期时间
  • 基本时钟模块配置
    • 高达 16 MHz 的内部频率并具有4 种浮动范围在 ±1% 之内的校准频率
    • 内部超低功耗低频振荡器
  • 具有 2 个捕捉/比较寄存器的 16 位 Timer_A
  • 用于模拟信号比较功能或者斜率模数 (A/D) 转换的片载比较器 (只适用于 MSP430G2210)
  • 10 位 200-ksps 具有内部基准、取样保持、和自动扫描的模数 (A/D) 转换器 (只适用于 MSP430G2230)
  • 支持 SPI 和 I2C 的通用串行接口 (USI) (仅适用于 MSP430G2230)
  • 欠压检测器
  • 串行板上编程时,无需外部编程电压,由安全熔丝 (Security Fuse) 对可编程代码进行保护
  • 具有两线制 (Spy-Bi-Wire) 接口的片上仿真逻辑电路
  • 系列成员:
    • MSP430G22x0 2KB + 256B 闪存 128B RAM
  • 采用 8 引脚塑料封装 (D)
  • 要获得完整的模块说明, 请参见 (SLAU144)

All trademarks are the property of their respective owners.

Frequency (MHz)16
Nonvolatile memory (kByte)2
RAM (kByte)0.125
ADC typeSlope
Number of ADC channels0
Number of GPIOs4
FeaturesReal-time clock, Spy-bi-wire, Watchdog timer
UART0
USBNo
Number of I2Cs0
SPI0
Number of comparator channels4
Timers - 16-bit1
Bootloader (BSL)None
Operating temperature range (°C)-40 to 85
RatingCatalog
SOIC (D)829.4 mm² 4.9 x 6
产品购买
  • 商品型号
  • 封装
  • 工作温度
  • 包装
  • 价格
  • 现货库存
  • 操作

很抱歉,暂时无法提供与“MSP430G2210”系列相匹配的产品,您可以联系专属客服快速找货或在现货搜索框中重新搜索。

10s
温馨提示:
订单商品问题请移至我的售后服务提交售后申请,其他需投诉问题可移至我的投诉提交,我们将在第一时间给您答复
返回顶部