h1_key

TI(德州仪器) MSP430G2433
德州仪器 (TI) 全系列产品在线购买
  • TI(德州仪器) MSP430G2433
  • TI(德州仪器) MSP430G2433
  • TI(德州仪器) MSP430G2433
  • TI(德州仪器) MSP430G2433
  • TI(德州仪器) MSP430G2433
  • TI(德州仪器) MSP430G2433
立即查看
您当前的位置: 首页 > 微控制器 (MCU) 和处理器 > MSP430 微控制器 > MSP430G2433
MSP430G2433

MSP430G2433

正在供货

具有 8KB 闪存、512B SRAM、10 位 ADC、UART/SPI/I2C、计时器的 16MHz MCU

产品详情
  • 说明
  • 特性
  • 参数
  • 封装 | 引脚 | 尺寸

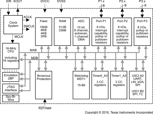
德州仪器 (TI) MSP430 系列超低功耗微控制器包含多种器件,它们具有面向各种应用的不同外设集。 这种架构与 5 种低功耗模式相组合,专为在便携式测量应用中延长电池的使用寿命而进行了优化。 该器件具有一个强大的 16 位 RISC CPU、16 位寄存器和有助于获得最大编码效率的常数发生器。 数字控制振荡器 (DCO) 可在不到 1 µs 的时间里完成从低功耗模式至运行模式的唤醒。

MSP430G2x03 和 MSP430G2x33 系列是超低功耗混合信号微控制器,具有内置的 16 位计时器、最多 24 个支持触摸感测的 I/O 引脚、以及采用通用串行通信接口的内置通信能力。 此外,MSP430G2x33 系列成员还具有一个 10 位 A/D 转换器。 有关配置的详情请见 。

典型应用包括低成本传感器系统,此类系统负责捕获模拟信号、将之转换为数字值、随后对数据进行处理以进行显示或传送至主机系统。

  • 低电源电压范围: 1.8V 至 3.6V
  • 超低功耗
    • 运行模式: 230 μA (在1 MHz 频率下),2.2 V
    • 待机模式: 0.5μA
    • 关断模式 (RAM 保持): 0.1μA
  • 5 种节能模式
  • 可在不到 1μs  的时间里超快速地从待机模式唤醒
  • 16 位 RISC 架构、62.5ns 指令周期
  • 基本时钟模块配置
    • 高达16 MHz 的内部频率,具有4 种校准频率
    • 内部超低功耗低频 (LF) 振荡器
    • 32-kHz 晶体
    • 外部数字时钟信号源
  • 具有 3 个捕获/比较寄存器的两个 16 位 Timer_A
  • 最多 24 个支持触感的 I/O 引脚
  • 通用串行通信接口(USCI)
    • 增强型 UART 可支持自动波特率检测 (LIN)
    • IrDA 编码器和解码器
    • 同步 SPI
    • I2C™
  • 带内部基准、采样与保持以及自动扫描功能的 10 位 200-ksps 模数 (A/D) 转换器(见 )
  • 欠压检测器
  • 串行板上编程,
    无需从外部进行电压编程,
    利用安全熔丝实现可编程代码保护
  • 具有两线制JTA(SBW)接口的片载仿真逻辑电路
  • 系列成员汇总于
  • 封装选项
    • TSSOP:20 引脚,28 引脚
    • PDIP:20 引脚
    • QFN:32 引脚
  • 如需了解完整的模块说明, 请查阅 (文献编号SLAU144)

Frequency (MHz)16
Nonvolatile memory (kByte)8
RAM (kByte)0.5
ADC type10-bit SAR
Number of ADC channels8
Number of GPIOs24
FeaturesReal-time clock, Spy-bi-wire, Watchdog timer
UART1
USBNo
Number of I2Cs1
SPI2
Number of comparator channels0
Timers - 16-bit2
Bootloader (BSL)UART
Operating temperature range (°C)-40 to 85
RatingCatalog
PDIP (N)20228.702 mm² 24.33 x 9.4
TSSOP (PW)2041.6 mm² 6.5 x 6.4
TSSOP (PW)2862.08 mm² 9.7 x 6.4
VQFN (RHB)3225 mm² 5 x 5
产品购买
  • 商品型号
  • 封装
  • 工作温度
  • 包装
  • 价格
  • 现货库存
  • 操作

很抱歉,暂时无法提供与“MSP430G2433”系列相匹配的产品,您可以联系专属客服快速找货或在现货搜索框中重新搜索。

10s
温馨提示:
订单商品问题请移至我的售后服务提交售后申请,其他需投诉问题可移至我的投诉提交,我们将在第一时间给您答复
返回顶部