h1_key

TI(德州仪器) MSP430AFE251
德州仪器 (TI) 全系列产品在线购买
  • TI(德州仪器) MSP430AFE251
  • TI(德州仪器) MSP430AFE251
  • TI(德州仪器) MSP430AFE251
  • TI(德州仪器) MSP430AFE251
  • TI(德州仪器) MSP430AFE251
  • TI(德州仪器) MSP430AFE251
立即查看
您当前的位置: 首页 > 微控制器 (MCU) 和处理器 > MSP430 微控制器 > MSP430AFE251
MSP430AFE251

MSP430AFE251

正在供货

具有 1 个 24 位 Σ-Δ ADC、16KB 闪存、512B RAM 的 12MHz 计量 AFE

产品详情
  • 说明
  • 特性
  • 参数
  • 封装 | 引脚 | 尺寸

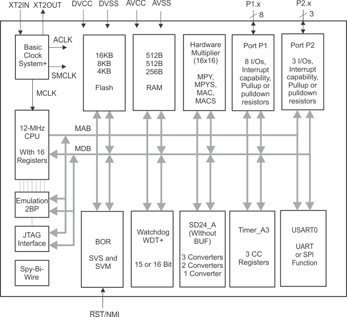
TI MSP 系列超低功耗微控制器种类繁多,各成员器件配备不同的外设集以满足各类应用的 需求。该架构与五种低功耗模式配合使用,是延长便携式测量应用电池寿命的最优 选择。该器件 采用 一个强大的 16 位精简指令集 (RISC) CPU,使用 16 位寄存器以及常数发生器,以便获得最高编码效率。数控振荡器 (DCO) 可使该器件在不到 1µs 的时间内实现从低功率模式唤醒至激活模式。

MSP430AFE2x3 器件是超低功耗混合信号微控制器,集成了三个独立的 24 位 Σ-Δ ADC、一个 16 位计时器、一个 16 位硬件乘法器、USART 通信接口、看门狗计时器和 11 个 I/O 引脚。

MSP430AFE2x2 器件与 MSP430AFE2x3 基本相同,唯一的差异是前者仅集成了两个 24 位 Σ-Δ ADC。

MSP430AFE2x1 器件与 MSP430AFE2x3 基本相同,唯一的差异是前者仅集成了一个 24 位 Σ-Δ ADC。

  • 低电源电压范围:1.8V 至 3.6V
  • 超低功耗
    • 激活模式:220µA(在 1MHz 频率和 2.2V 电压条件下)
    • 待机模式:0.5µA
    • 关闭模式(RAM 保持):0.1µA
  • 5 种省电模式
  • 可在不到 1µs 的时间内超快速地从待机模式唤醒
  • 16 位精简指令集 (RISC) 架构, 高达 12MHz 系统时钟
  • 基本时钟模块配置
    • 带有两个已校准频率的高达 12MHz 的内部频率
    • 内部超低功耗低频 (LF) 振荡器
    • 高达 16MHz 的高频 (HF) 晶振
    • 谐振器
    • 外部数字时钟源
  • 多达三个具有差分 PGA 输入的 24 位 Σ-Δ 模数转换器 (ADC)
  • 具有 3 个捕获/比较寄存器的 16 位 Timer_A
  • 串行通信接口 (USART),可用软件来选择异步 UART 或同步 SPI
  • 16 位硬件乘法器
  • 欠压检测器
  • 具有可编程电平检测功能的电源电压监控器和监视器
  • 串行板上编程,无需从外部进行电压编程,利用安全熔丝实现可编程代码保护
  • 片上仿真模块
  • 器件比较 汇总了可用的产品系列成员
  • 如需完整的模块说明,请参阅《MSP430x2xx 系列用户指南》
Frequency (MHz)12
Nonvolatile memory (kByte)16
RAM (kByte)0.5
ADC type24-bit Sigma Delta
Number of ADC channels1
Number of GPIOs11
FeaturesAdvanced sensing
UART1
USBNo
Number of I2Cs0
SPI1
Number of comparator channels0
Timers - 16-bit1
Bootloader (BSL)None
Operating temperature range (°C)-40 to 85
RatingCatalog
TSSOP (PW)2449.92 mm² 7.8 x 6.4
产品购买
  • 商品型号
  • 封装
  • 工作温度
  • 包装
  • 价格
  • 现货库存
  • 操作

很抱歉,暂时无法提供与“MSP430AFE251”系列相匹配的产品,您可以联系专属客服快速找货或在现货搜索框中重新搜索。

10s
温馨提示:
订单商品问题请移至我的售后服务提交售后申请,其他需投诉问题可移至我的投诉提交,我们将在第一时间给您答复
返回顶部