h1_key

TI(德州仪器) MSP430F4618
德州仪器 (TI) 全系列产品在线购买
  • TI(德州仪器) MSP430F4618
  • TI(德州仪器) MSP430F4618
  • TI(德州仪器) MSP430F4618
  • TI(德州仪器) MSP430F4618
  • TI(德州仪器) MSP430F4618
  • TI(德州仪器) MSP430F4618
立即查看
您当前的位置: 首页 > 微控制器 (MCU) 和处理器 > MSP430 微控制器 > MSP430F4618
MSP430F4618

MSP430F4618

正在供货

具有 116KB 闪存、8KB SRAM、12 位 ADC、比较器、DMA、I2C/SPI/UART、160 段 LCD 的 8MHz MCU

产品详情
  • 说明
  • 特性
  • 参数
  • 封装 | 引脚 | 尺寸

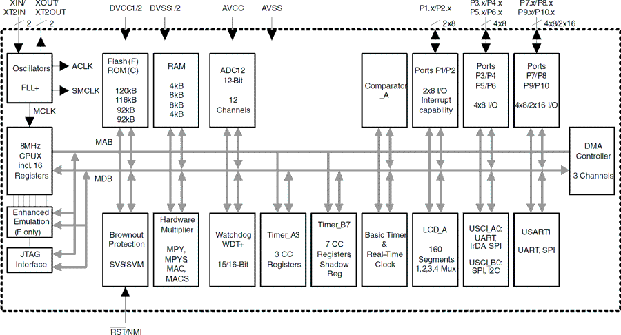
The Texas Instruments MSP430 family of ultralow-power microcontrollers consists of several devices featuring different sets of peripherals targeted for various applications. The architecture, combined with five low-power modes, is optimized to achieve extended battery life in portable measurement applications. The devices feature a powerful 16-bit RISC CPU, 16-bit registers, and constant generators that contribute to maximum code efficiency. The digitally controlled oscillator (DCO) allows wake-up from low-power modes to active mode in less than
6 µs.

The MSP430x461x(1) series are microcontroller configurations with two 16-bit timers, a high-performance 12-bit A/D converter (MSP430x461x only), one universal serial communication interface (USCI), one universal synchronous/asynchronous communication interface (USART), DMA, 80 I/O pins, and a liquid crystal display (LCD) driver with regulated charge pump.

Typical applications for this device include portable medical applications and e-meter applications.

  • Low Supply-Voltage Range, 1.8 V to 3.6 V
  • Ultralow-Power Consumption:
    • Active Mode: 400 µA at 1 MHz, 2.2 V
    • Standby Mode: 1.3 µA
    • Off Mode (RAM Retention): 0.22 µA
  • Five Power-Saving Modes
  • Wake-Up From Standby Mode in Less Than 6 µs
  • 16-Bit RISC Architecture, Extended Memory, 125-ns Instruction Cycle Time
  • Three Channel Internal DMA
  • 12-Bit A/D Converter With Internal Reference, Sample-and-Hold and Autoscan
    Feature (MSP430x461x only)
  • 16-Bit Timer_A With Three Capture/Compare Registers
  • 16-Bit Timer_B With Seven Capture/Compare-With-Shadow Registers
  • On-Chip Comparator
  • Supply Voltage Supervisor/Monitor With Programmable Level Detection
  • Basic Timer With Real Time Clock Feature
  • Integrated LCD Driver up to 160 Segments With Regulated Charge Pump
  • Serial Communication Interface (USART1), Select Asynchronous UART or
    Synchronous SPI by Software
  • Universal Serial Communication Interface
    • Enhanced UART Supporting Auto-Baudrate Detection
    • IrDA Encoder and Decoder
    • Synchronous SPI
    • I2C™
  • Serial Onboard Programming, Programmable Code Protection by Security Fuse
  • Brownout Detector
  • Family Members Include:
    • MSP430x4616, MSP430x46161(1):
      • 92KB+256B Flash or ROM Memory
      • 4KB RAM
    • MSP430x4617, MSP430x46171(1):
      • 92KB+256B Flash or ROM Memory
      • 8KB RAM
    • MSP430x4618, MSP430x46181(1):
      • 116KB+256B Flash or ROM Memory
      • 8KB RAM
    • MSP430x4619, MSP430x46191(1):
      • 120KB+256B Flash or ROM Memory
      • 4KB RAM
  • For Complete Module Descriptions, Refer to the MSP430x4xx Family User’s Guide

(1) The MSP430F461x1 devices are identical to the MSP430F461x devices, with the exception that the ADC12 module is not implemented.

Frequency (MHz)8
Nonvolatile memory (kByte)116
RAM (kByte)8
ADC type12-bit SAR
Number of ADC channels12
Number of GPIOs80
FeaturesLCD, Real-time clock
UART1
USBNo
Number of I2Cs1
SPI1
Number of comparator channels2
Timers - 16-bit2
Bootloader (BSL)UART
Operating temperature range (°C)-40 to 85
RatingCatalog
LQFP (PZ)100256 mm² 16 x 16
产品购买
  • 商品型号
  • 封装
  • 工作温度
  • 包装
  • 价格
  • 现货库存
  • 操作

很抱歉,暂时无法提供与“MSP430F4618”系列相匹配的产品,您可以联系专属客服快速找货或在现货搜索框中重新搜索。

10s
温馨提示:
订单商品问题请移至我的售后服务提交售后申请,其他需投诉问题可移至我的投诉提交,我们将在第一时间给您答复
返回顶部