h1_key

TI(德州仪器) MSP430F479
德州仪器 (TI) 全系列产品在线购买
  • TI(德州仪器) MSP430F479
  • TI(德州仪器) MSP430F479
  • TI(德州仪器) MSP430F479
  • TI(德州仪器) MSP430F479
  • TI(德州仪器) MSP430F479
  • TI(德州仪器) MSP430F479
立即查看
您当前的位置: 首页 > 微控制器 (MCU) 和处理器 > MSP430 微控制器 > MSP430F479
MSP430F479

MSP430F479

正在供货

具有 1 个 16 位 Σ-Δ ADC、12 位 DAC、128 段 LCD、60KB 闪存和 2KB RAM 的 8MHz 感应 MCU

产品详情
  • 说明
  • 特性
  • 参数
  • 封装 | 引脚 | 尺寸

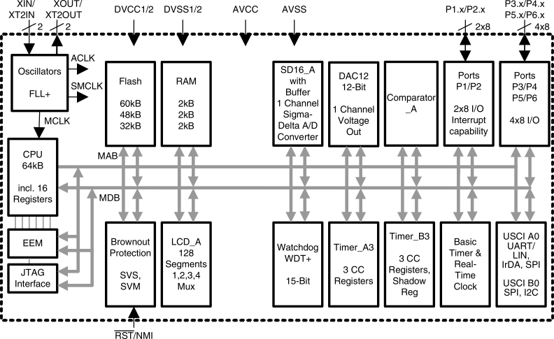
The Texas Instruments MSP430™ family of ultra-low-power microcontrollers consists of several devices featuring different sets of peripherals targeted for various applications. The architecture, combined with five low-power modes, is optimized to achieve extended battery life in portable measurement applications. The device features a powerful 16-bit RISC CPU, 16-bit registers, and constant generators that contribute to maximum code efficiency.The digitally controlled oscillator (DCO) allows wake-up from low-power modes to active mode in less than 6 µs.

The MSP430F47x is a microcontroller configuration with two 16-bit timers, a basic timer with a real-time clock, a high-performance 16-bit sigma-delta A/D converter, single 12-bit D/A converter, two universal serial communication interface, 48 I/O pins, and a liquid crystal display driver.

For complete module descriptions, see the MSP430x4xx Family User’s Guide.

  • Low supply-voltage range: 1.8 V to 3.6 V
  • Ultra-low power consumption
    • Active mode: 262 µA at 1 MHz, 2.2 V
    • Standby mode: 1.1 µA
    • Off mode (RAM retention): 0.1 µA
  • Five power-saving modes
  • Wakeup from standby mode in less than 6 µs
  • 16-bit RISC architecture, extended memory, 125‑ns instruction cycle time
  • 16-bit sigma-delta analog-to-digital converter (ADC) with internal reference and five differential analog inputs
  • One 12-bit digital-to-analog converter (DAC)
  • 16-bit Timer_A with three capture/compare registers
  • 16-bit Timer_B with seven capture/compare-with-shadow registers
  • Two universal serial communication interfaces (USCIs)
    • USCI_A0
      • Enhanced UART supports automatic baud-rate detection
      • IrDA encoder and decoder
      • Synchronous SPI
    • USCI_B0
      • I2C
      • Synchronous SPI
  • Integrated LCD driver up to 160 segments with regulated charge pump
  • Brownout detector
  • Basic timer with real-time clock (RTC) feature
  • Supply voltage supervisor and monitor with programmable level detection
  • On-Chip Comparator
  • Serial onboard programming, programmable code protection by security fuse
  • Bootloader
  • On chip emulation module
  • Device Comparison summarizes the available family members
    • MSP430F477: 32KB + 256 bytes of flash, 2KB of RAM
    • MSP430F478: 48KB + 256 bytes of flash, 2KB of RAM
    • MSP430F479: 60KB + 256 bytes of flash, 2KB of RAM
  • Available in 113-ball MicroStar Junior™ BGA (ZQW), 113-ball nFBGA (ZCA), and 80-pin QFP (PN) packages (see Device Comparison)
Frequency (MHz)8
Nonvolatile memory (kByte)60
RAM (kByte)2
ADC type16-bit Sigma Delta
Number of ADC channels5
Number of GPIOs48
FeaturesAdvanced sensing, DAC, LCD, Real-time clock
UART1
USBNo
Number of I2Cs1
SPI2
Number of comparator channels2
Timers - 16-bit2
Bootloader (BSL)UART
Operating temperature range (°C)-40 to 85
RatingCatalog
JRBGA (ZQW)11349 mm² 7 x 7
LQFP (PN)80196 mm² 14 x 14
NFBGA (ZCA)11349 mm² 7 x 7
产品购买
  • 商品型号
  • 封装
  • 工作温度
  • 包装
  • 价格
  • 现货库存
  • 操作

很抱歉,暂时无法提供与“MSP430F479”系列相匹配的产品,您可以联系专属客服快速找货或在现货搜索框中重新搜索。

10s
温馨提示:
订单商品问题请移至我的售后服务提交售后申请,其他需投诉问题可移至我的投诉提交,我们将在第一时间给您答复
返回顶部