h1_key

TI(德州仪器) MSP430FE4252
德州仪器 (TI) 全系列产品在线购买
  • TI(德州仪器) MSP430FE4252
  • TI(德州仪器) MSP430FE4252
  • TI(德州仪器) MSP430FE4252
  • TI(德州仪器) MSP430FE4252
  • TI(德州仪器) MSP430FE4252
  • TI(德州仪器) MSP430FE4252
立即查看
您当前的位置: 首页 > 微控制器 (MCU) 和处理器 > MSP430 微控制器 > MSP430FE4252
MSP430FE4252

MSP430FE4252

正在供货

具有 2 个 16 位 Σ-Δ ADC、128 段 LCD、16KB 闪存和 512B RAM 的 8MHz 计量 MCU

产品详情
  • 说明
  • 特性
  • 参数
  • 封装 | 引脚 | 尺寸

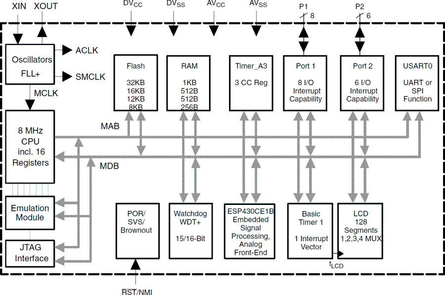
The Texas Instruments MSP430 family of ultra-low-power microcontrollers consists of several devices featuring different sets of peripherals targeted for various applications. The architecture, combined with five low-power modes is optimized to achieve extended battery life in portable measurement applications. The device features a powerful 16-bit RISC CPU, 16-bit registers, and constant generators that contribute to maximum code efficiency. The digitally controlled oscillator (DCO) allows wake-up from low-power modes to active mode in less than 6 µs.

The MSP430FE42x2 devices are microcontroller configurations with two independent 16-bit sigma-delta analog-to-digital (A/D) converters and embedded signal processor core used to measure and calculate single-phase energy in both 2-wire and 3-wire configurations. Also included is a built-in 16-bit timer, 128 LCD segment drive capability, and 14 I/O pins.

Typical applications include 2-wire and 3-wire single-phase metering.

  • Low Supply-Voltage Range, 2.7 V to 3.6 V
  • Ultra-Low-Power Consumption:
    • Active Mode: 400 µA at 1 MHz, 3.0 V
    • Standby Mode: 1.6 µA
    • Off Mode (RAM Retention): 0.1 µA
  • Five Power-Saving Modes
  • Wake-Up From Standby Mode in Less Than 6 µs
  • Frequency-Locked Loop, FLL+
  • 16-Bit RISC Architecture, 125-ns Instruction Cycle Time
  • Embedded Signal Processing for Single-Phase Energy Metering With Integrated Analog Front-End and Temperature Sensor (ESP430CE1B)
  • 16-Bit Timer_A With Three Capture/Compare Registers
  • Integrated LCD Driver for 128 Segments
  • Serial Communication Interface (USART), Asynchronous UART, or Synchronous SPI Selectable by Software
  • Brownout Detector
  • Supply Voltage Supervisor/Monitor With Programmable Level Detection
  • Serial Onboard Programming, No External Programming Voltage Needed, Programmable Code Protection by Security Fuse
  • Bootstrap Loader in Flash Devices
  • Family Members Include:
    • MSP430FE4232
      8KB + 256B Flash Memory,
      256B RAM
    • MSP430FE4242
      12KB + 256B Flash Memory,
      512B RAM
    • MSP430FE4252
      16KB + 256B Flash Memory,
      512B RAM
    • MSP430FE4272
      32KB + 256B Flash Memory,
      1KB RAM
  • Available in 64-Pin Quad Flat Pack (QFP)
  • For Complete Module Descriptions, See the MSP430x4xx Family User’s Guide, Literature Number SLAU056

Frequency (MHz)8
Nonvolatile memory (kByte)16
RAM (kByte)0.5
ADC type16-bit Sigma Delta
Number of ADC channels2
Number of GPIOs14
FeaturesAdvanced sensing, LCD
UART1
USBNo
Number of I2Cs0
SPI1
Number of comparator channels0
Timers - 16-bit1
Bootloader (BSL)UART
Operating temperature range (°C)-40 to 85
RatingCatalog
LQFP (PM)64144 mm² 12 x 12
产品购买
  • 商品型号
  • 封装
  • 工作温度
  • 包装
  • 价格
  • 现货库存
  • 操作

很抱歉,暂时无法提供与“MSP430FE4252”系列相匹配的产品,您可以联系专属客服快速找货或在现货搜索框中重新搜索。

10s
温馨提示:
订单商品问题请移至我的售后服务提交售后申请,其他需投诉问题可移至我的投诉提交,我们将在第一时间给您答复
返回顶部