h1_key

TI(德州仪器) TMS320DM6435
德州仪器 (TI) 全系列产品在线购买
  • TI(德州仪器) TMS320DM6435
  • TI(德州仪器) TMS320DM6435
  • TI(德州仪器) TMS320DM6435
  • TI(德州仪器) TMS320DM6435
  • TI(德州仪器) TMS320DM6435
  • TI(德州仪器) TMS320DM6435
立即查看
您当前的位置: 首页 > 微控制器 (MCU) 和处理器 > 数字信号处理器 (DSP) > TMS320DM6435
TMS320DM6435

TMS320DM6435

正在供货

数字媒体处理器

产品详情
  • 说明
  • 特性
  • 参数
  • 封装 | 引脚 | 尺寸

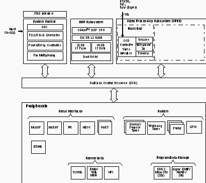
The TMS320C64x+™ DSPs (including the TMS320DM6435 device) are the highest-performance fixed-point DSP generation in the TMS320C6000™ DSP platform. The DM6435 device is based on the third-generation high-performance, advanced VelociTI™ very-long-instruction-word (VLIW) architecture developed by Texas Instruments (TI), making these DSPs an excellent choice for digital media applications. The C64x+™ devices are upward code-compatible from previous devices that are part of the C6000™ DSP platform. The C64x™ DSPs support added functionality and have an expanded instruction set from previous devices.

Any reference to the C64x DSP or C64x CPU also applies, unless otherwise noted, to the C64x+ DSP and C64x+ CPU, respectively.

With performance of up to 4800 million instructions per second (MIPS) at a clock rate of 600 MHz, the C64x+ core offers solutions to high-performance DSP programming challenges. The DSP core possesses the operational flexibility of high-speed controllers and the numerical capability of array processors. The C64x+ DSP core processor has 64 general-purpose registers of 32-bit word length and eight highly independent functional units–two multipliers for a 32-bit result and six arithmetic logic units (ALUs). The eight functional units include instructions to accelerate the performance in video and imaging applications. The DSP core can produce four 16-bit multiply-accumulates (MACs) per cycle for a total of 2400 million MACs per second (MMACS), or eight 8-bit MACs per cycle for a total of 4800 MMACS. For more details on the C64x+ DSP, see the TMS320C64x/C64x+ DSP CPU and Instruction Set Reference Guide (literature number SPRU732).

The DM6435 also has application-specific hardware logic, on-chip memory, and additional on-chip peripherals similar to the other C6000 DSP platform devices. The DM6435 core uses a two-level cache-based architecture. The Level 1 program memory/cache (L1P) consists of a 256K-bit memory space that can be configured as mapped memory or direct mapped cache, and the Level 1 data (L1D) consists of a 640K-bit memory space–384K-bit of which is mapped memory and 256K-bit of which can be configured as mapped memory or 2-way set-associative cache. The Level 2 memory/cache (L2) consists of a 1M-bit memory space that is shared between program and data space. L2 memory can be configured as mapped memory, cache, or combinations of the two.

The peripheral set includes: a configurable video port (VPFE); a 10/100 Mb/s Ethernet MAC (EMAC) with a management data input/output (MDIO) module; a 4-bit transmit, 4-bit receive VLYNQ interface; an inter-integrated circuit (I2C) Bus interface; a multichannel buffered serial port (McBSP); a multichannel audio serial port (McASP0) with 4 serializers; 2 64-bit general-purpose timers each configurable as 2 independent 32-bit timers; 1 64-bit watchdog timer; a user-configurable 16-bit host-port interface (HPI); up to 111-pins of general-purpose input/output (GPIO) with programmable interrupt/event generation modes, multiplexed with other peripherals; 2 UARTs with hardware handshaking support on 1 UART; 3 pulse width modulator (PWM) peripherals; 1 high-end controller area network (CAN) controller [HECC]; and 2 glueless external memory interfaces: an asynchronous external memory interface (EMIFA) for slower memories/peripherals, and a higher speed synchronous memory interface for DDR2.

The DM6435 device includes a Video Processing Subsystem (VPSS) with a configurable video/imaging front-end input peripheral used for video capture.

The Video Processing Front-End (VPFE) is comprised of a CCD Controller (CCDC), a Preview Engine (Previewer), Histogram Module, Auto-Exposure/White Balance/Focus Module (H3A), and Resizer. The CCDC is capable of interfacing to common video decoders, CMOS sensors, and Charge Coupled Devices (CCDs). The Previewer is a real-time image processing engine that takes raw imager data from a CMOS sensor or CCD and converts from an RGB Bayer Pattern to YUV422. The Histogram and H3A modules provide statistical information on the raw color data for use by the DM6435. The Resizer accepts image data for separate horizontal and vertical resizing from 1/4x to 4x in increments of 256/N, where N is between 64 and 1024.

The Ethernet Media Access Controller (EMAC) provides an efficient interface between the DM6435 and the network. The DM6435 EMAC support both 10Base-T and 100Base-TX, or 10 Mbits/second (Mbps) and 100 Mbps in either half- or full-duplex mode, with hardware flow control and quality of service (QOS) support.

The Management Data Input/Output (MDIO) module continuously polls all 32 MDIO addresses in order to enumerate all PHY devices in the system.

The I2C and VLYNQ ports allow DM6435 to easily control peripheral devices and/or communicate with host processors.

The high-end controller area network (CAN) controller [HECC] module provides a network protocol in a harsh environment to communicate serially with other controllers, typically in automotive applications.

The rich peripheral set provides the ability to control external peripheral devices and communicate with external processors. For details on each of the peripherals, see the related sections later in this document and the associated peripheral reference guides.

The DM6435 has a complete set of development tools. These include C compilers, a DSP assembly optimizer to simplify programming and scheduling, and a Windows™ debugger interface for visibility into source code execution.

  • Get started today with production-ready, easy-to-use audio and video codecs for digital media processors based on DaVinci™ technology. Also available are various O/S Board Support Packages and software updates. All codecs are available for FREE evaluation. REQUEST FREE SOFTWARE!
  • High-Performance Digital Media Processor (DM6435)
    • 2.5-, 2-, 1.67, 1.51-, 1.43-ns Instruction Cycle Time
    • 400-, 500-, 600-, 660-, 700-MHz C64x+™ Clock Rate
    • Eight 32-Bit C64x+ Instructions/Cycle
    • 3200, 4000, 4800, 5280, 5600 MIPS
    • Fully Software-Compatible With C64x
    • Commercial and Automotive (Q or S suffix) Grades
    • Low-Power Device (L suffix)
  • VelociTI.2™ Extensions to VelociTI™ Advanced Very-Long-Instruction-Word (VLIW) TMS320C64x+™ DSP Core
    • Eight Highly Independent Functional Units With VelociTI.2 Extensions:
      • Six ALUs (32-/40-Bit), Each Supports Single 32-Bit, Dual 16-Bit, or Quad 8-Bit Arithmetic per Clock Cycle
      • Two Multipliers Support Four 16 × 16-Bit Multiplies (32-Bit Results) per Clock Cycle or Eight 8 × 8-Bit Multiplies (16-Bit Results) per Clock Cycle
    • Load-Store Architecture With Non-Aligned Support
    • 64 32-Bit General-Purpose Registers
    • Instruction Packing Reduces Code Size
    • All Instructions Conditional
    • Additional C64x+™ Enhancements
      • Protected Mode Operation
      • Exceptions Support for Error Detection and Program Redirection
      • Hardware Support for Modulo Loop Auto-Focus Module Operation
  • C64x+ Instruction Set Features
    • Byte-Addressable (8-/16-/32-/64-Bit Data)
    • 8-Bit Overflow Protection
    • Bit-Field Extract, Set, Clear
    • Normalization, Saturation, Bit-Counting
    • VelociTI.2 Increased Orthogonality
    • C64x+ Extensions
      • Compact 16-bit Instructions
      • Additional Instructions to Support Complex Multiplies
  • C64x+ L1/L2 Memory Architecture
    • 256K-Bit (32K-Byte) L1P Program RAM/Cache [Flexible Allocation]
    • 640K-Bit (80K-Byte) L1D Data RAM/Cache [Flexible Allocation]
    • 1M-Bit (128K-Byte) L2 Unified Mapped RAM/Cache [Flexible Allocation]
  • Supports Little Endian Mode Only
  • Video Processing Subsystem (VPSS), VPFE Only
    • Front End Provides:
      • CCD and CMOS Imager Interface
      • BT.601/BT.656 Digital YCbCr 4:2:2 (8-/16-Bit) Interface
      • Preview Engine for Real-Time Image Processing
      • Glueless Interface to Common Video Decoders
      • Histogram Module
      • Auto-Exposure, Auto-White Balance and Auto-Focus Module
      • Resize Engine
        • Resize Images From 1/4× to 4×
        • Separate Horizontal/Vertical Control
  • External Memory Interfaces (EMIFs)
    • 32-Bit DDR2 SDRAM Memory Controller With 256M-Byte Address Space (1.8-V I/O)
      • Supports up to 333-MHz (data rate) bus and interfaces to DDR2-400 SDRAM
    • Asynchronous 8-Bit Wide EMIF (EMIFA) With up to 64M-Byte Address Reach
      • Flash Memory Interfaces
        • NOR (8-Bit-Wide Data)
        • NAND (8-Bit-Wide Data)
  • Enhanced Direct-Memory-Access (EDMA) Controller (64 Independent Channels)
  • Two 64-Bit General-Purpose Timers (Each Configurable as Two 32-Bit Timers)
  • One 64-Bit Watch Dog Timer
  • Two UARTs (One with RTS and CTS Flow Control)
  • Master/Slave Inter-Integrated Circuit (I2C Bus™)
  • Multichannel Buffered Serial Port (McBSP)
    • I2S and TDM
    • AC97 Audio Codec Interface
    • SPI
    • Standard Voice Codec Interface (AIC12)
    • Telecom Interfaces - ST-Bus, H-100
    • 128 Channel Mode
  • Multichannel Audio Serial Port (McASP0)
    • Four Serializers and SPDIF (DIT) Mode
  • 16-Bit Host-Port Interface (HPI)
  • High-End CAN Controller (HECC)
  • 10/100 Mb/s Ethernet MAC (EMAC)
    • IEEE 802.3 Compliant
    • Supports Media Independent Interface (MII)
    • Management Data I/O (MDIO) Module
  • VLYNQ™ Interface (FPGA Interface)
  • Three Pulse Width Modulator (PWM) Outputs
  • On-Chip ROM Bootloader
  • Individual Power-Savings Modes
  • Flexible PLL Clock Generators
  • IEEE-1149.1 (JTAG™) Boundary-Scan-Compatible
  • Up to 111 General-Purpose I/O (GPIO) Pins (Multiplexed With Other Device Functions)
  • Packages:
    • 361-Pin Pb-Free PBGA Package (ZWT Suffix), 0.8-mm Ball Pitch
    • 376-Pin Plastic BGA Package (ZDU Suffix), 1.0-mm Ball Pitch
  • 0.09-µm/6-Level Cu Metal Process (CMOS)
  • 3.3-V and 1.8-V I/O, 1.2-V Internal (-7/-6/-5/-4/-L/-Q6/-5Q/-4Q)
  • 3.3-V and 1.8-V I/O, 1.05-V Internal (-7/-6/-5/-4/-L/-Q5)
  • Applications:
    • Digital Media
  • Networked Media Encode
  • Video Imaging

All trademarks are the property of their respective owners.

DSP type1 C64x
DSP (max) (MHz)400, 500, 600, 700
CPU32-/64-bit
Operating systemDSP/BIOS, VLX
Ethernet MAC10/100
RatingCatalog
Operating temperature range (°C)0 to 90
BGA (ZDU)376529 mm² 23 x 23
NFBGA (ZWT)361256 mm² 16 x 16
产品购买
  • 商品型号
  • 封装
  • 工作温度
  • 包装
  • 价格
  • 现货库存
  • 操作
10s
温馨提示:
订单商品问题请移至我的售后服务提交售后申请,其他需投诉问题可移至我的投诉提交,我们将在第一时间给您答复
返回顶部