h1_key

TI(德州仪器) MSP430F4784
德州仪器 (TI) 全系列产品在线购买
  • TI(德州仪器) MSP430F4784
  • TI(德州仪器) MSP430F4784
  • TI(德州仪器) MSP430F4784
  • TI(德州仪器) MSP430F4784
  • TI(德州仪器) MSP430F4784
  • TI(德州仪器) MSP430F4784
立即查看
您当前的位置: 首页 > 微控制器 (MCU) 和处理器 > MSP430 微控制器 > MSP430F4784
MSP430F4784

MSP430F4784

正在供货

具有 4 个 Σ-Δ ADC、160 段 LCD、48KB 闪存和 2KB RAM 的 16MHz 单相位计量 MCU

产品详情
  • 说明
  • 特性
  • 参数
  • 封装 | 引脚 | 尺寸

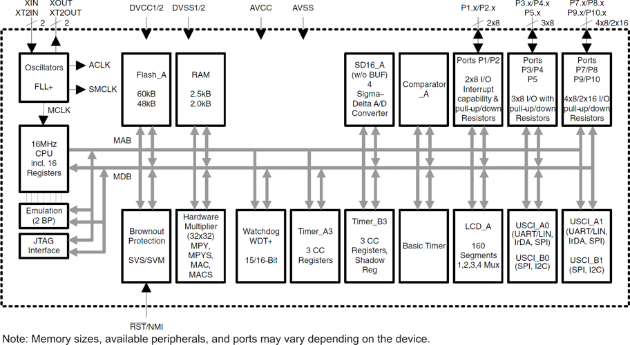
德州仪器 (TI) MSP430 系列超低功耗微处理器包含多种器件,它们具有面向各种应用的不同外设集。 这种架构与 5 种低功耗模式相组合,专为在便携式测量应用中延长电池的使用寿命而优化。 该器件具有一个强大的 16 位 RISC CPU、16 位寄存器和有助于获得最大编码效率的常数发生器。 数字控制振荡器 (DCO) 可实现在 6µs 之内从低功率模式唤醒到工作模式。

MSP430F47xx 系列为面向单相电表的微控制器配置,具有 3 个或 4 个 16 位ΣΔ A/D 转换器。 每个通道具有一对差分输入和可编程输入增益。 另外,这些器件还集成了两个 16 位定时器、三个通用串行通信接口 (USCI)、72 个 I/O 引脚和一个具有集成型对比度控制功能的液晶显示器 (LCD) 驱动器。

  • 低电源电压范围: 1.8V 至 3.6V
  • 超低功耗:
    • 运行模式: 280μA (在 1MHz 频率和 2.2V 电压条件下)
    • 待机模式: 1.1μA
    • 关断模式 (RAM 保持): 0.2μA
  • 5 种节能模式
  • 可在不到 6μs 的时间里从待机模式唤醒
  • 16 位 RISC 架构、62.5ns 指令周期
  • 3 个或 4 个具有差分 PGA 输入的 16 位ΣΔ模数 (A/D) 转换器
  • 具有 3 个捕获/比较及阴影寄存器的 16 位 Timer_B
  • 具有 3 个捕获/比较寄存器的 16 位 Timer_A
  • 片上比较器
  • 4 个通用串行通信接口 (USCI)
    • USCI_A0 和 USCI_A1增强型 UART 支持自动波特率检测IrDA 编码器和解码器同步 SPI
    • USCI_B0 和 USCI_B1I2C同步 SPI
  • 具有对比度控制功能的集成型 LCD 驱动器用于驱动多达 160 段 LCD
  • 32 位硬件乘法器
  • 欠压检测器
  • 具有可编程电平检测功能的电源电压监控器/监视器
  • 串行板上编程,无需从外部进行电压编程利用安全熔丝 (Security Fuse) 实现可编程代码保护
  • 引导装入程序
  • 片上仿真模块
  • 系列成员包括:
    • MSP430F4783: 48KB + 256B 闪存
      2KB RAM
      3 个 ΣΔADC
    • MSP430F4793: 60KB + 256B 闪存
      2.5KB RAM
      3 个 ΣΔADC
    • MSP430F4784: 48KB + 256B 闪存
      2KB RAM
      4 个 ΣΔADC
    • MSP430F4794: 60KB + 256B 闪存
      2.5KB RAM
      4 个 ΣΔADC
    • MSP430F47x3 和 MSP430F47x4 采用 100 引脚塑料方形扁平式封装 (QFP)
  • 如需了解完整的模块说明,请查阅 MSP430x4xx系列用户指南,文献编号:SLAU056

Frequency (MHz)16
Nonvolatile memory (kByte)48
RAM (kByte)2
ADC type16-bit Sigma Delta
Number of ADC channels4
Number of GPIOs72
FeaturesAdvanced sensing, LCD
UART2
USBNo
Number of I2Cs2
SPI2
Number of comparator channels2
Timers - 16-bit2
Bootloader (BSL)UART
Operating temperature range (°C)-40 to 85
RatingCatalog
LQFP (PZ)100256 mm² 16 x 16
产品购买
  • 商品型号
  • 封装
  • 工作温度
  • 包装
  • 价格
  • 现货库存
  • 操作

很抱歉,暂时无法提供与“MSP430F4784”系列相匹配的产品,您可以联系专属客服快速找货或在现货搜索框中重新搜索。

10s
温馨提示:
订单商品问题请移至我的售后服务提交售后申请,其他需投诉问题可移至我的投诉提交,我们将在第一时间给您答复
返回顶部