h1_key

TI(德州仪器) MSP430F423A
德州仪器 (TI) 全系列产品在线购买
  • TI(德州仪器) MSP430F423A
  • TI(德州仪器) MSP430F423A
  • TI(德州仪器) MSP430F423A
  • TI(德州仪器) MSP430F423A
  • TI(德州仪器) MSP430F423A
  • TI(德州仪器) MSP430F423A
立即查看
您当前的位置: 首页 > 微控制器 (MCU) 和处理器 > MSP430 微控制器 > MSP430F423A
MSP430F423A

MSP430F423A

正在供货

具有 3 个 16 位 Σ-Δ ADC、128 段 LCD、8KB 闪存、256B RAM 的 8MHz 感应 MCU

产品详情
  • 说明
  • 特性
  • 参数
  • 封装 | 引脚 | 尺寸

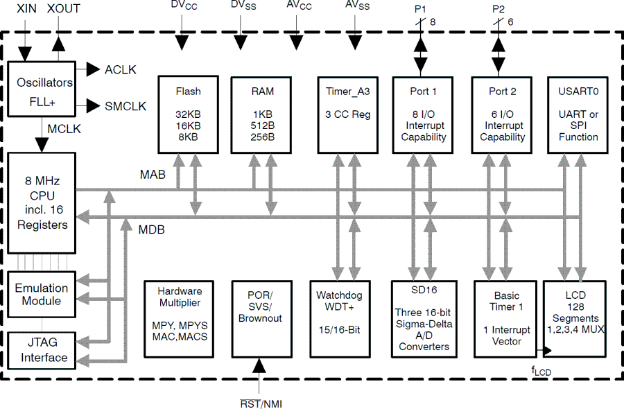
The Texas InstrumentsMSP430 family of ultra-low power microcontrollers consists of several devices featuring different sets of peripherals targeted for various applications. The architecture, combined with five low-power modes, is optimized to achieve extended battery life in portable measurement applications. The device features a powerful 16-bit RISC CPU, 16-bit registers, and constant generators that contribute to maximum code efficiency.The digitally controlled oscillator (DCO) allows wake-up from low-power modes to active mode in less than 6 µs.

The MSP430F42xA series are microcontroller configurations with three independent 16-bit sigma-delta A/D converters, each with an integrated differential programmable gain amplifier input stage. Also included are a built-in 16-bit timer, 128 LCD segment drive capability, hardware multiplier, and 14 I/O pins.

Typical applications include high-resolution applications such as handheld metering equipment, weigh scales, and energy meters.

  • Ultra-Low Power Consumption:
    • Active Mode: 400 µA at 1 MHz, 3.0 V
    • Standby Mode: 1.6 µA
    • Off Mode (RAM Retention): 0.1 µA
  • Five Power-Saving Modes
  • Wake-Up From Standby Mode in Less Than 6 µs
  • Frequency-Locked Loop, FLL+
  • 16-Bit RISC Architecture, 125-ns Instruction Cycle Time
  • Three Independent 16-bit Sigma-Delta A/D Converters With Differential PGA Inputs
  • 16-Bit Timer_A With Three Capture/Compare Registers
  • Integrated LCD Driver for 128 Segments
  • Serial Communication Interface (USART), Asynchronous UART, or Synchronous SPI Selectable by Software
  • Brownout Detector
  • Supply Voltage Supervisor/Monitor With Programmable Level Detection
  • Serial Onboard Programming, No External Programming Voltage Needed, Programmable Code Protection by Security Fuse
  • Bootstrap Loader in Flash Devices
  • Family Members Include:
    • MSP430F423A:
         8KB + 256B Flash Memory, 256B RAM
    • MSP430F425A:
         16KB + 256B Flash Memory, 512B RAM
    • MSP430F427A:
         32KB + 256B Flash Memory, 1KB RAM
  • Available in 64-Pin Quad Flat Pack (QFP)
  • For Complete Module Descriptions, Refer to the MSP430x4xx Family User's Guide, Literature Number SLAU056

Frequency (MHz)8
Nonvolatile memory (kByte)8
RAM (kByte)0.25
ADC type16-bit Sigma Delta
Number of ADC channels3
Number of GPIOs14
FeaturesAdvanced sensing, LCD
UART1
USBNo
Number of I2Cs0
SPI1
Number of comparator channels0
Timers - 16-bit1
Bootloader (BSL)UART
Operating temperature range (°C)-40 to 85
RatingCatalog
LQFP (PM)64144 mm² 12 x 12
产品购买
  • 商品型号
  • 封装
  • 工作温度
  • 包装
  • 价格
  • 现货库存
  • 操作

很抱歉,暂时无法提供与“MSP430F423A”系列相匹配的产品,您可以联系专属客服快速找货或在现货搜索框中重新搜索。

10s
温馨提示:
订单商品问题请移至我的售后服务提交售后申请,其他需投诉问题可移至我的投诉提交,我们将在第一时间给您答复
返回顶部