h1_key

TI(德州仪器) MSP430FG4270
德州仪器 (TI) 全系列产品在线购买
  • TI(德州仪器) MSP430FG4270
  • TI(德州仪器) MSP430FG4270
  • TI(德州仪器) MSP430FG4270
  • TI(德州仪器) MSP430FG4270
  • TI(德州仪器) MSP430FG4270
  • TI(德州仪器) MSP430FG4270
立即查看
您当前的位置: 首页 > 微控制器 (MCU) 和处理器 > MSP430 微控制器 > MSP430FG4270
MSP430FG4270

MSP430FG4270

正在供货

具有 32KB 闪存、256B SRAM、16 位 Σ-Δ ADC、12 位 DAC、2 个运算放大器和 56 段 LCD 的 8MHz MCU

产品详情
  • 说明
  • 特性
  • 参数
  • 封装 | 引脚 | 尺寸

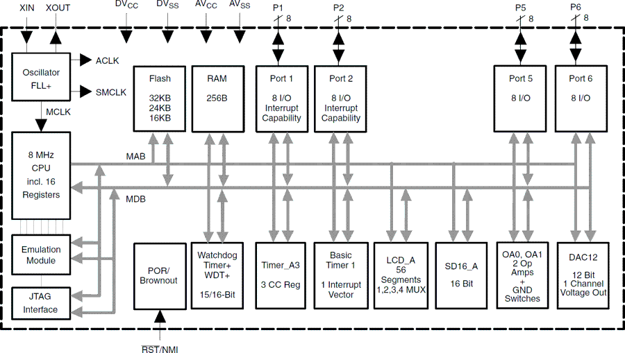
The Texas Instruments MSP430 family of ultralow-power microcontrollers consist of several devices featuring different sets of peripherals targeted for various applications. The architecture, combined with five low-power modes, is optimized to achieve extended battery life in portable measurement applications. The device features a powerful 16-bit RISC CPU, 16-bit registers, and constant generators that contribute to maximum code efficiency. The digitally controlled oscillator (DCO) allows wake-up from low-power modes to active mode in less than 6µs.

The MSP430FG42x0 is a microcontroller configuration with a 16-bit timer, a high-performance 16-bitsigma-delta A/D converter, 12-bit D/A converter, two configurable operational amplifiers, 32 I/O pins, and a liquid crystal display driver.

Typical applications for this device include analog and digital sensor systems, digital motor control, remote controls, thermostats, digital timers, hand-held meters, etc.

  • Low Supply-Voltage Range, 1.8 V to 3.6 V
  • Ultralow-Power Consumption:
    • Active Mode: 250 µA at 1 MHz, 2.2 V
    • Standby Mode: 1.1 µA
    • Off Mode (RAM Retention): 0.1 µA
  • Five Power Saving Modes
  • Wake-Up From Standby Mode in Less Than 6 µs
  • 16-Bit RISC Architecture, 125-ns Instruction Cycle Time
  • 16-Bit Sigma-Delta A/D Converter With Internal Reference and Five Differential Analog Inputs
  • 12-Bit D/A Converter
  • Two Configurable Operational Amplifiers
  • 16-Bit Timer_A With Three Capture/Compare Registers
  • Brownout Detector
  • Bootstrap Loader
  • Serial Onboard Programming, No External Programming Voltage Needed Programmable Code Protection by Security Fuse
  • Integrated LCD Driver With Contrast Control for up to 56 Segments
  • MSP430FG42x0 Family Members Include:
    • MSP430FG4250: 16KB+256B Flash Memory 256B RAM
    • MSP430FG4260: 24KB+256B Flash Memory 256B RAM
    • MSP430FG4270: 32KB+256B Flash Memory 256B RAM
  • For Complete Module Descriptions, See The MSP430x4xx Family User’s Guide, Literature Number SLAU056
  • For Additional Device Information, See the MSP430FG42x0 Device Errata, Literature Number SLAZ038

Frequency (MHz)8
Nonvolatile memory (kByte)32
RAM (kByte)0.25
ADC type16-bit Sigma Delta
Number of ADC channels5
Number of GPIOs32
FeaturesAdvanced sensing, DAC, LCD, OpAmp
UART0
USBNo
Number of I2Cs0
SPI0
Number of comparator channels0
Timers - 16-bit1
Bootloader (BSL)UART
Operating temperature range (°C)-40 to 85
RatingCatalog
SSOP (DL)48164.358 mm² 15.88 x 10.35
VQFN (RGZ)4849 mm² 7 x 7
产品购买
  • 商品型号
  • 封装
  • 工作温度
  • 包装
  • 价格
  • 现货库存
  • 操作

很抱歉,暂时无法提供与“MSP430FG4270”系列相匹配的产品,您可以联系专属客服快速找货或在现货搜索框中重新搜索。

10s
温馨提示:
订单商品问题请移至我的售后服务提交售后申请,其他需投诉问题可移至我的投诉提交,我们将在第一时间给您答复
返回顶部