h1_key

TI(德州仪器) MSP430F2274
德州仪器 (TI) 全系列产品在线购买
  • TI(德州仪器) MSP430F2274
  • TI(德州仪器) MSP430F2274
  • TI(德州仪器) MSP430F2274
  • TI(德州仪器) MSP430F2274
  • TI(德州仪器) MSP430F2274
  • TI(德州仪器) MSP430F2274
立即查看
您当前的位置: 首页 > 微控制器 (MCU) 和处理器 > MSP430 微控制器 > MSP430F2274
MSP430F2274

MSP430F2274

正在供货

具有 32KB 闪存、1KB SRAM、10 位 ADC、2 个运算放大器和 I2C/SPI/UART 的 16MHz MCU

产品详情
  • 说明
  • 特性
  • 参数
  • 封装 | 引脚 | 尺寸

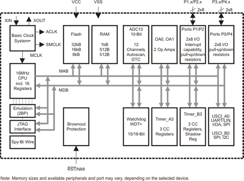
The Texas Instruments MSP430 family of ultra-low-power microcontrollers consist of several devices featuring different sets of peripherals targeted for various applications. The architecture, combined with five low-power modes is optimized to achieve extended battery life in portable measurement applications. The device features a powerful 16-bit RISC CPU, 16-bit registers, and constant generators that contribute to maximum code efficiency. The digitally controlled oscillator (DCO) allows wake-up from low-power modes to active mode in less than 1 µs.

The MSP430F22x4/MSP430F22x2 series is an ultra-low-power mixed signal microcontroller with two built-in 16-bit timers, a universal serial communication interface, 10-bit A/D converter with integrated reference and data transfer controller (DTC), two general-purpose operational amplifiers in the MSP430F22x4 devices, and 32 I/O pins.

Typical applications include sensor systems that capture analog signals, convert them to digital values, and then process the data for display or for transmission to a host system. Stand-alone radio-frequency (RF) sensor front ends are another area of application.

  • Low Supply Voltage Range: 1.8 V to 3.6 V
  • Ultra-Low Power Consumption
    • Active Mode: 270 µA at 1 MHz, 2.2 V
    • Standby Mode: 0.7 µA
    • Off Mode (RAM Retention): 0.1 µA
  • Ultra-Fast Wake-Up From Standby Mode in Less Than 1 µs
  • 16-Bit RISC Architecture, 62.5-ns Instruction Cycle Time
  • Basic Clock Module Configurations
    • Internal Frequencies up to 16 MHz With Four Calibrated Frequencies to ±1%
    • Internal Very-Low-Power Low-Frequency Oscillator
    • 32-kHz Crystal
    • High-Frequency (HF) Crystal up to 16 MHz
    • Resonator
    • External Digital Clock Source
    • External Resistor
  • 16-Bit Timer_A With Three Capture/Compare Registers
  • 16-Bit Timer_B With Three Capture/Compare Registers
  • Universal Serial Communication Interface
    • Enhanced UART Supporting Auto-Baudrate Detection (LIN)
    • IrDA Encoder and Decoder
    • Synchronous SPI
    • I2C™
  • 10-Bit 200-ksps Analog-to-Digital (A/D) Converter With Internal Reference, Sample-and-Hold, Autoscan, and Data Transfer Controller
  • Two Configurable Operational Amplifiers (MSP430F22x4 Only)
  • Brownout Detector
  • Serial Onboard Programming, No External Programming Voltage Needed, Programmable Code Protection by Security Fuse
  • Bootstrap Loader
  • On-Chip Emulation Module
  • Family Members Include:
    • MSP430F2232: 8KB + 256B Flash Memory, 512B RAM
    • MSP430F2252: 16KB + 256B Flash Memory, 512B RAM
    • MSP430F2272: 32KB + 256B Flash Memory, 1KB RAM
    • MSP430F2234: 8KB + 256B Flash Memory, 512B RAM
    • MSP430F2254: 16KB + 256B Flash Memory, 512B RAM
    • MSP430F2274: 32KB + 256B Flash Memory, 1KB RAM
  • Available in a 38-Pin Thin Shrink Small-Outline Package (TSSOP) (DA), 40-Pin QFN Package (RHA), and 49-Pin Ball Grid Array Package (YFF)
  • For Complete Module Descriptions, See the (SLAU144)

All trademarks are the property of their respective owners.

Frequency (MHz)16
Nonvolatile memory (kByte)32
RAM (kByte)1
ADC type10-bit SAR
Number of ADC channels12
Number of GPIOs32
FeaturesOpAmp
UART1
USBNo
Number of I2Cs1
SPI1
Number of comparator channels0
Timers - 16-bit2
Bootloader (BSL)UART
Operating temperature range (°C)-40 to 105
RatingCatalog
DSBGA (YFF)499 mm² 3 x 3
TSSOP (DA)38101.25 mm² 12.5 x 8.1
VQFN (RHA)4036 mm² 6 x 6
产品购买
  • 商品型号
  • 封装
  • 工作温度
  • 包装
  • 价格
  • 现货库存
  • 操作
10s
温馨提示:
订单商品问题请移至我的售后服务提交售后申请,其他需投诉问题可移至我的投诉提交,我们将在第一时间给您答复
返回顶部