h1_key

TI(德州仪器) MSP430FG4619
德州仪器 (TI) 全系列产品在线购买
  • TI(德州仪器) MSP430FG4619
  • TI(德州仪器) MSP430FG4619
  • TI(德州仪器) MSP430FG4619
  • TI(德州仪器) MSP430FG4619
  • TI(德州仪器) MSP430FG4619
  • TI(德州仪器) MSP430FG4619
立即查看
您当前的位置: 首页 > 微控制器 (MCU) 和处理器 > MSP430 微控制器 > MSP430FG4619
MSP430FG4619

MSP430FG4619

正在供货

具有 120KB 闪存、4KB SRAM、12 位 ADC、双通道 DAC、DMA、3 个运算放大器和 160 段 LCD 的 8MHz MCU

产品详情
  • 说明
  • 特性
  • 参数
  • 封装 | 引脚 | 尺寸

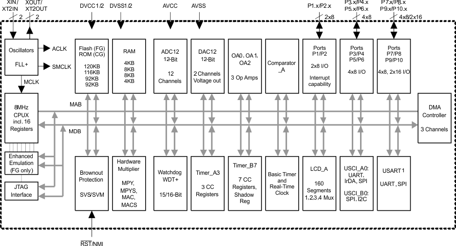
德州仪器的 MSP430 系列超低功耗微控制器包含多款具有面向各种应用的不同外设集的器件。 这种架构与 5 种低功耗模式相组合,专为在便携式测量应用中延长电池的使用寿命而优化。 该器件具有一个强大的 16 位 RISC CPU、16 位寄存器和有助于获得最大编码效率的常数发生器。 数字控制振荡器 (DCO) 可在不到 6μs 的时间里完成从低功耗模式至运行模式的唤醒。

MSP430xG461x 系列为微控制器配置,具有两个 16 位定时器、一个高性能 12 位 A/D 转换器、双通道 12 位 D/A 转换器、三个可配置运算放大器、一个通用串行通信接口 (USCI)、一个通用同步/异步通信接口 (USART)、DMA、80 个 I/O 引脚和一个带稳压充电泵的液晶显示器 (LCD) 驱动器。

该器件的典型应用包括便携式医疗应用及电子计量仪表应用。

  • 低电源电压范围: 1.8V 至 3.6V
  • 超低功耗:
    • 运行模式: 400μA (在 1MHz 频率和 2.2V 电压条件下)
    • 待机模式: 1.3μA
    • 关断模式 (RAM 保持): 0.22μA
  • 5 种节能模式
  • 可在不到 6μs 的时间里从待机模式唤醒
  • 16 位 RISC 架构、扩展内存、125ns 指令周期
  • 三通道内部 DMA
  • 具有内部基准、采样及保持和自动扫描功能的 12 位 A/D 转换器

  • 3 个可配置的运算放大器
  • 具有同步功能的双通道 12 位数模 (D/A) 转换器
  • 具有 3 个捕获/比较寄存器的 16 位 Timer_A
  • 具有7个捕获/比较及阴影寄存器的 16 位 Timer_B
  • 片上比较器
  • 具有可编程电平检测功能的电源电压监控器/监视器
  • 串行通信接口 (USART1),
    利用软件来选择异步 UART 或
    同步 SPI
  • 通用串行通信接口
    • 增强型 UART 支持自动波特率检测
    • IrDA 编码器和解码器
    • 同步 SPI
    • I2C™
  • 串行板上编程,
    利用安全熔丝 (Security Fuse)
    实现可编程代码保护
  • 欠压检测器
  • 具有实时时钟特性的基本定时器
  • 集成型 LCD 驱动器可利用稳压充电泵驱动多达 160 段 LCD
  • 系列成员包括:
    • MSP430xG4616:
      92KB + 256B 闪存或 ROM 存储器,
      4KB RAM
    • MSP430xG4617:
      92KB + 256B 闪存或 ROM 存储器,
      8KB RAM
    • MSP430xG4618:
      116KB + 256B 闪存或 ROM 存储器,
      8KB RAM
    • MSP430xG4619:
      120KB + 256B 闪存或 ROM 存储器,
      4KB RAM
  • 如需了解完整的模块说明,请查阅 MSP430x4xx 系列用户指南(文献编号SLAU056)

Frequency (MHz)8
Nonvolatile memory (kByte)120
RAM (kByte)4
ADC type12-bit SAR
Number of ADC channels12
Number of GPIOs80
FeaturesAdvanced sensing, LCD, OpAmp, Real-time clock
UART1
USBNo
Number of I2Cs1
SPI1
Number of comparator channels2
Timers - 16-bit2
Bootloader (BSL)UART
Operating temperature range (°C)-40 to 85
RatingCatalog
JRBGA (ZQW)11349 mm² 7 x 7
LQFP (PZ)100256 mm² 16 x 16
NFBGA (ZCA)11349 mm² 7 x 7
产品购买
  • 商品型号
  • 封装
  • 工作温度
  • 包装
  • 价格
  • 现货库存
  • 操作

很抱歉,暂时无法提供与“MSP430FG4619”系列相匹配的产品,您可以联系专属客服快速找货或在现货搜索框中重新搜索。

10s
温馨提示:
订单商品问题请移至我的售后服务提交售后申请,其他需投诉问题可移至我的投诉提交,我们将在第一时间给您答复
返回顶部