h1_key

TI(德州仪器) MSP430F2011
德州仪器 (TI) 全系列产品在线购买
  • TI(德州仪器) MSP430F2011
  • TI(德州仪器) MSP430F2011
  • TI(德州仪器) MSP430F2011
  • TI(德州仪器) MSP430F2011
  • TI(德州仪器) MSP430F2011
  • TI(德州仪器) MSP430F2011
立即查看
您当前的位置: 首页 > 微控制器 (MCU) 和处理器 > MSP430 微控制器 > MSP430F2011
MSP430F2011

MSP430F2011

正在供货

具有 2KB 闪存、128B SRAM、计时器、比较器的 16MHz MCU

产品详情
  • 说明
  • 特性
  • 参数
  • 封装 | 引脚 | 尺寸

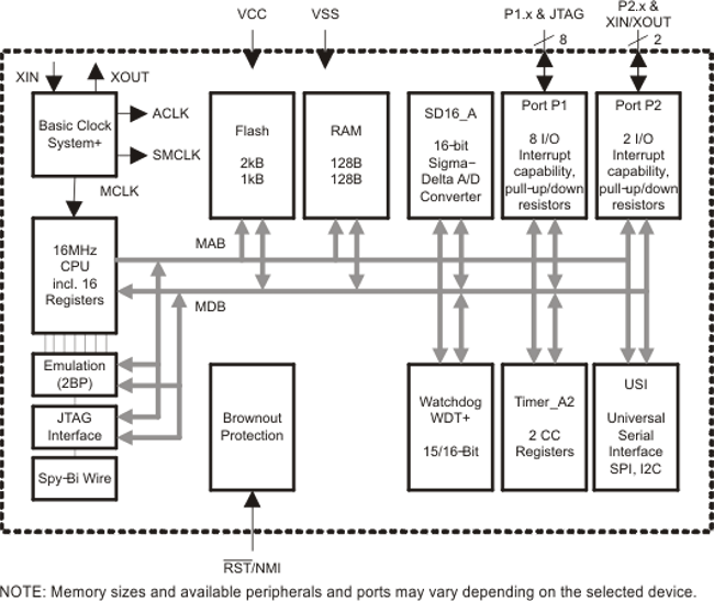
The Texas Instruments MSP430 family of ultra-low-power microcontrollers consist of several devices featuring different sets of peripherals targeted for various applications. The architecture, combined with five low-power modes is optimized to achieve extended battery life in portable measurement applications. The device features a powerful 16-bit RISC CPU, 16-bit registers, and constant generators that contribute to maximum code efficiency. The digitally controlled oscillator (DCO) allows wake-up from low-power modes to active mode in less than 1 µs.

The MSP430F20xx series is an ultra-low-power mixed signal microcontroller with a built-in 16-bit timer and ten I/O pins. In addition, the MSP430F20x1 has a versatile analog comparator. The MSP430F20x2 and MSP430F20x3 have built-in communication capability using synchronous protocols (SPI or I2C) and a 10-bit A/D converter (MSP430F20x2) or a 16-bit sigma-delta A/D converter (MSP430F20x3).

Typical applications include sensor systems that capture analog signals, convert them to digital values, and then process the data for display or for transmission to a host system. Stand alone RF sensor front end is another area of application.

  • Low Supply Voltage Range 1.8 V to 3.6 V
  • Ultra-Low Power Consumption
    • Active Mode: 220 µA at 1 MHz, 2.2 V
    • Standby Mode: 0.5 µA
    • Off Mode (RAM Retention): 0.1 µA
  • Five Power-Saving Modes
  • Ultra-Fast Wake-Up From Standby Mode in Less Than 1 µs
  • 16-Bit RISC Architecture, 62.5-ns Instruction Cycle Time
  • Basic Clock Module Configurations:
    • Internal Frequencies up to 16 MHz With Four Calibrated Frequencies to ±1%
    • Internal Very Low-Power Low-Frequency Oscillator
    • 32-kHz Crystal
    • External Digital Clock Source
  • 16-Bit Timer_A With Two Capture/Compare Registers
  • On-Chip Comparator for Analog Signal Compare Function or Slope A/D (MSP430F20x1)
  • 10-Bit 200-ksps A/D Converter With Internal Reference, Sample-and-Hold, and Autoscan (MSP430F20x2)
  • 16-Bit Sigma-Delta A/D Converter With Differential PGA Inputs and Internal Reference (MSP430F20x3)
  • Universal Serial Interface (USI) Supporting SPI and I2C (MSP430F20x2 and MSP430F20x3)
  • Brownout Detector
  • Serial Onboard Programming, No External Programming Voltage Needed, Programmable Code Protection by Security Fuse
  • On-Chip Emulation Logic With Spy-Bi-Wire Interface
  • Family Members:
    • MSP430F2001: 1KB + 256B Flash Memory, 128B RAM
    • MSP430F2011: 2KB + 256B Flash Memory, 128B RAM
    • MSP430F2002: 1KB + 256B Flash Memory, 128B RAM
    • MSP430F2012: 2KB + 256B Flash Memory, 128B RAM
    • MSP430F2003: 1KB + 256B Flash Memory, 128B RAM
    • MSP430F2013: 2KB + 256B Flash Memory, 128B RAM
  • Available in 14-Pin Plastic Small-Outline Thin Package (TSSOP), 14-Pin Plastic Dual Inline Package (PDIP), and 16-Pin QFN
  • For Complete Module Descriptions, See the MSP430x2xx Family User's Guide (SLAU144)

Frequency (MHz)16
Nonvolatile memory (kByte)2
RAM (kByte)0.125
ADC typeSlope
Number of ADC channels0
Number of GPIOs10
FeaturesBrown out detector, Real-time clock, Sigma delta
UART0
USBNo
Number of I2Cs0
SPI0
Number of comparator channels6
Timers - 16-bit1
Bootloader (BSL)UART
Operating temperature range (°C)-40 to 105
RatingCatalog
PDIP (N)14181.42 mm² 19.3 x 9.4
TSSOP (PW)1432 mm² 5 x 6.4
VQFN (RSA)1616 mm² 4 x 4
产品购买
  • 商品型号
  • 封装
  • 工作温度
  • 包装
  • 价格
  • 现货库存
  • 操作

很抱歉,暂时无法提供与“MSP430F2011”系列相匹配的产品,您可以联系专属客服快速找货或在现货搜索框中重新搜索。

10s
温馨提示:
订单商品问题请移至我的售后服务提交售后申请,其他需投诉问题可移至我的投诉提交,我们将在第一时间给您答复
返回顶部