h1_key

TI(德州仪器) MSP430F2003
德州仪器 (TI) 全系列产品在线购买
  • TI(德州仪器) MSP430F2003
  • TI(德州仪器) MSP430F2003
  • TI(德州仪器) MSP430F2003
  • TI(德州仪器) MSP430F2003
  • TI(德州仪器) MSP430F2003
  • TI(德州仪器) MSP430F2003
立即查看
您当前的位置: 首页 > 微控制器 (MCU) 和处理器 > MSP430 微控制器 > MSP430F2003
MSP430F2003

MSP430F2003

正在供货

具有 1 个 16 位 Σ-Δ ADC、用于 SPI/I2C 的 USI、1KB 闪存和 128B RAM 的 16MHz 感应 MCU

产品详情
  • 说明
  • 特性
  • 参数
  • 封装 | 引脚 | 尺寸

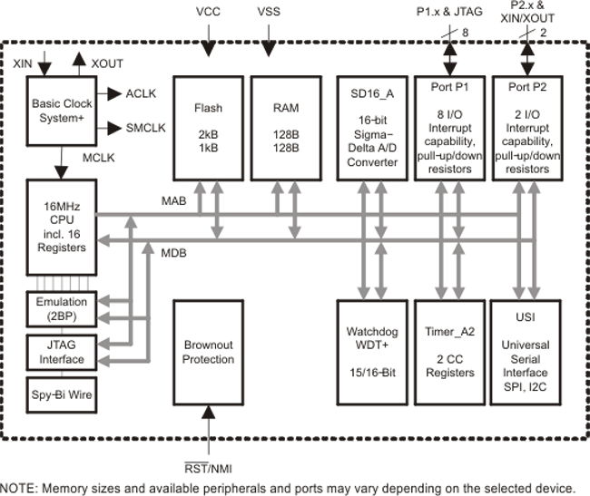
The Texas Instruments MSP430 family of ultra-low-power microcontrollers consist of several devices featuring different sets of peripherals targeted for various applications. The architecture, combined with five low-power modes is optimized to achieve extended battery life in portable measurement applications. The device features a powerful 16-bit RISC CPU, 16-bit registers, and constant generators that contribute to maximum code efficiency. The digitally controlled oscillator (DCO) allows wake-up from low-power modes to active mode in less than 1 µs.

The MSP430F20xx series is an ultra-low-power mixed signal microcontroller with a built-in 16-bit timer and ten I/O pins. In addition, the MSP430F20x1 has a versatile analog comparator. The MSP430F20x2 and MSP430F20x3 have built-in communication capability using synchronous protocols (SPI or I2C) and a 10-bit A/D converter (MSP430F20x2) or a 16-bit sigma-delta A/D converter (MSP430F20x3).

Typical applications include sensor systems that capture analog signals, convert them to digital values, and then process the data for display or for transmission to a host system. Stand alone RF sensor front end is another area of application.

  • Low Supply Voltage Range 1.8 V to 3.6 V
  • Ultra-Low Power Consumption
    • Active Mode: 220 µA at 1 MHz, 2.2 V
    • Standby Mode: 0.5 µA
    • Off Mode (RAM Retention): 0.1 µA
  • Five Power-Saving Modes
  • Ultra-Fast Wake-Up From Standby Mode in Less Than 1 µs
  • 16-Bit RISC Architecture, 62.5-ns Instruction Cycle Time
  • Basic Clock Module Configurations:
    • Internal Frequencies up to 16 MHz With Four Calibrated Frequencies to ±1%
    • Internal Very Low-Power Low-Frequency Oscillator
    • 32-kHz Crystal
    • External Digital Clock Source
  • 16-Bit Timer_A With Two Capture/Compare Registers
  • On-Chip Comparator for Analog Signal Compare Function or Slope A/D (MSP430F20x1)
  • 10-Bit 200-ksps A/D Converter With Internal Reference, Sample-and-Hold, and Autoscan (MSP430F20x2)
  • 16-Bit Sigma-Delta A/D Converter With Differential PGA Inputs and Internal Reference (MSP430F20x3)
  • Universal Serial Interface (USI) Supporting SPI and I2C (MSP430F20x2 and MSP430F20x3)
  • Brownout Detector
  • Serial Onboard Programming, No External Programming Voltage Needed, Programmable Code Protection by Security Fuse
  • On-Chip Emulation Logic With Spy-Bi-Wire Interface
  • Family Members:
    • MSP430F2001: 1KB + 256B Flash Memory, 128B RAM
    • MSP430F2011: 2KB + 256B Flash Memory, 128B RAM
    • MSP430F2002: 1KB + 256B Flash Memory, 128B RAM
    • MSP430F2012: 2KB + 256B Flash Memory, 128B RAM
    • MSP430F2003: 1KB + 256B Flash Memory, 128B RAM
    • MSP430F2013: 2KB + 256B Flash Memory, 128B RAM
  • Available in 14-Pin Plastic Small-Outline Thin Package (TSSOP), 14-Pin Plastic Dual Inline Package (PDIP), and 16-Pin QFN
  • For Complete Module Descriptions, See the MSP430x2xx Family User's Guide (SLAU144)

Frequency (MHz)16
Nonvolatile memory (kByte)1
RAM (kByte)0.125
ADC type16-bit Sigma Delta
Number of ADC channels4
Number of GPIOs10
FeaturesBrown out detector, Real-time clock, Sigma delta
UART0
USBNo
Number of I2Cs1
SPI1
Number of comparator channels0
Timers - 16-bit1
Bootloader (BSL)UART
Operating temperature range (°C)-40 to 105
RatingCatalog
PDIP (N)14181.42 mm² 19.3 x 9.4
TSSOP (PW)1432 mm² 5 x 6.4
VQFN (RSA)1616 mm² 4 x 4
产品购买
  • 商品型号
  • 封装
  • 工作温度
  • 包装
  • 价格
  • 现货库存
  • 操作

很抱歉,暂时无法提供与“MSP430F2003”系列相匹配的产品,您可以联系专属客服快速找货或在现货搜索框中重新搜索。

10s
温馨提示:
订单商品问题请移至我的售后服务提交售后申请,其他需投诉问题可移至我的投诉提交,我们将在第一时间给您答复
返回顶部