h1_key

TI(德州仪器) TMS320DM643
德州仪器 (TI) 全系列产品在线购买
  • TI(德州仪器) TMS320DM643
  • TI(德州仪器) TMS320DM643
  • TI(德州仪器) TMS320DM643
  • TI(德州仪器) TMS320DM643
  • TI(德州仪器) TMS320DM643
  • TI(德州仪器) TMS320DM643
立即查看
您当前的位置: 首页 > 微控制器 (MCU) 和处理器 > 数字信号处理器 (DSP) > TMS320DM643
TMS320DM643

TMS320DM643

正在供货

视频/成像定点数字信号处理器

产品详情
  • 说明
  • 特性
  • 参数
  • 封装 | 引脚 | 尺寸

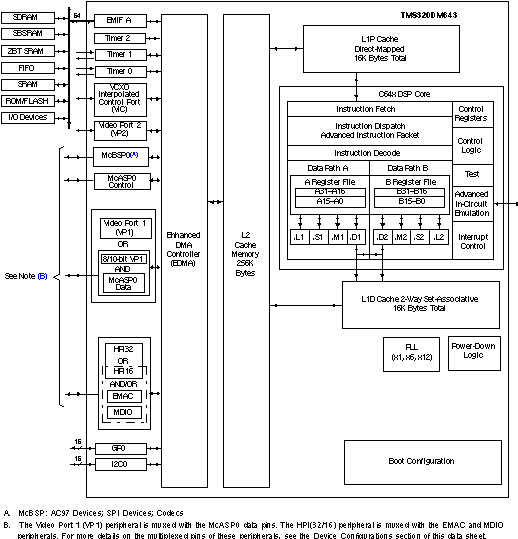
The TMS320C64x™ DSPs (including the TMS320DM643 device) are the highest-performance fixed-point DSP generation in the TMS320C6000™ DSP platform. The TMS320DM643 (DM643) device is based on the second-generation high-performance, advanced VelociTI™ very-long-instruction-word (VLIW) architecture (VelociTI.2™) developed by Texas Instruments (TI), making these DSPs an excellent choice for digital media applications. The C64x™ is a code-compatible member of the C6000™ DSP platform.

With performance of up to 4800 million instructions per second (MIPS) at a clock rate of 600 MHz, the DM643 device offers cost-effective solutions to high-performance DSP programming challenges. The DM643 DSP possesses the operational flexibility of high-speed controllers and the numerical capability of array processors. The C64x™ DSP core processor has 64 general-purpose registers of 32-bit word length and eight highly independent functional units-two multipliers for a 32-bit result and six arithmetic logic units (ALUs)-with VelociTI.2™ extensions. The VelociTI.2™ extensions in the eight functional units include new instructions to accelerate the performance in video and imaging applications and extend the parallelism of the VelociTI™ architecture. The DM643 can produce four 16-bit multiply-accumulates (MACs) per cycle for a total of 2400 million MACs per second (MMACS), or eight 8-bit MACs per cycle for a total of 4800 MMACS. The DM643 DSP also has application-specific hardware logic, on-chip memory, and additional on-chip peripherals similar to the other C6000™ DSP platform devices.

The DM643 uses a two-level cache-based architecture and has a powerful and diverse set of peripherals. The Level 1 program cache (L1P) is a 128-Kbit direct mapped cache and the Level 1 data cache (L1D) is a 128-Kbit 2-way set-associative cache. The Level 2 memory/cache (L2) consists of an 2-Mbit memory space that is shared between program and data space. L2 memory can be configured as mapped memory, cache, or combinations of the two. The peripheral set includes: two configurable video ports; a 10/100 Mb/s Ethernet MAC (EMAC); a management data input/output (MDIO) module; a VCXO interpolated control port (VIC); one multichannel buffered audio serial port (McASP0); an inter-integrated circuit (I2C) Bus module; one multichannel buffered serial port (McBSP); three 32-bit general-purpose timers; a user-configurable 16-bit or 32-bit host-port interface (HPI16/HPI32); a 16-pin general-purpose input/output port (GP0) with programmable interrupt/event generation modes; and a 64-bit glueless external memory interface (EMIFA), which is capable of interfacing to synchronous and asynchronous memories and peripherals.

The DM643 device has two configurable video port peripherals (VP1 and VP2). These video port peripherals provide a glueless interface to common video decoder and encoder devices. The DM643 video port peripherals support multiple resolutions and video standards (e.g., CCIR601, ITU-BT.656, BT.1120, SMPTE 125M, 260M, 274M, and 296M).

These two video port peripherals are configurable and can support either video capture and/or video display modes. Each video port consists of two channels - A and B with a 5120-byte capture/display buffer that is splittable between the two channels.

For more details on the Video Port peripherals, see the TMS320C64x DSP Video Port/VCXO Interpolated Control (VIC) Port Reference Guide (literature number SPRU629).

The McASP0 port supports one transmit and one receive clock zone, with eight serial data pins which can be individually allocated to any of the two zones. The serial port supports time-division multiplexing on each pin from 2 to 32 time slots. The DM643 has sufficient bandwidth to support all 8 serial data pins transmitting a 192-kHz stereo signal. Serial data in each zone may be transmitted and received on multiple serial data pins simultaneously and formatted in a multitude of variations on the Philips Inter-IC Sound (I2S) format.

In addition, the McASP0 transmitter may be programmed to output multiple S/PDIF, IEC60958, AES-3, CP-430 encoded data channels simultaneously, with a single RAM containing the full implementation of user data and channel status fields.

McASP0 also provides extensive error-checking and recovery features, such as the bad clock detection circuit for each high-frequency master clock which verifies that the master clock is within a programmed frequency range.

The VCXO interpolated control (VIC) port provides digital-to-analog conversion with resolution from 9-bits to up to 16-bits. The output of the VIC is a single bit interpolated D/A output.For more details on the VIC port, see the TMS320C64x DSP Video Port/VCXO Interpolated Control (VIC) Port Reference Guide (literature number SPRU629).

The ethernet media access controller (EMAC) provides an efficient interface between the DM643 DSP core processor and the network. The DM643 EMAC support both 10Base-T and 100Base-TX, or 10 Mbits/second (Mbps) and 100 Mbps in either half- or full-duplex, with hardware flow control and quality of service (QOS) support. The DM643 EMAC makes use of a custom interface to the DSP core that allows efficient data transmission and reception.For more details on the EMAC, see the TMS320C6000 DSP Ethernet Media Access Controller (EMAC) / Management Data Input/Output (MDIO) Module Reference Guide (literature number SPRU628).

The management data input/output (MDIO) module continuously polls all 32 MDIO addresses in order to enumerate all PHY devices in the system. Once a PHY candidate has been selected by the DSP, the MDIO module transparently monitors its link state by reading the PHY status register. Link change events are stored in the MDIO module and can optionally interrupt the DSP, allowing the DSP to poll the link status of the device without continuously performing costly MDIO accesses. For more details on the MDIO, see the TMS320C6000 DSP Ethernet Media Access Controller (EMAC) / Management Data Input/Output (MDIO) Module Reference Guide (literature number SPRU628).

The I2C0 port on the TMS320DM643 allows the DSP to easily control peripheral devices and communicate with a host processor. In addition, the standard multichannel buffered serial port (McBSP) may be used to communicate with serial peripheral interface (SPI) mode peripheral devices.

The DM643 has a complete set of development tools which includes: a new C compiler, an assembly optimizer to simplify programming and scheduling, and a Windows® debugger interface for visibility into source code execution.

  • High-Performance Digital Media Processor
    • 2-, 1.67-ns Instruction Cycle Time
    • 500-, 600-MHz Clock Rate
    • Eight 32-Bit Instructions/Cycle
    • 4000, 4800 MIPS
    • Fully Software-Compatible With C64x™
  • VelociTI.2™ Extensions to VelociTI™ Advanced Very-Long-Instruction-Word (VLIW) TMS320C64x™ DSP Core
    • Eight Highly Independent Functional Units With VelociTI.2™ Extensions:
      • Six ALUs (32-/40-Bit), Each Supports Single 32-Bit, Dual 16-Bit, or Quad 8-Bit Arithmetic per Clock Cycle
      • Two Multipliers Support Four 16 x 16-Bit Multiplies (32-Bit Results) per Clock Cycle or Eight 8 x 8-Bit Multiplies (16-Bit Results) per Clock Cycle
    • Load-Store Architecture With Non-Aligned Support
    • 64 32-Bit General-Purpose Registers
    • Instruction Packing Reduces Code Size
    • All Instructions Conditional
  • Instruction Set Features
    • Byte-Addressable (8-/16-/32-/64-Bit Data)
    • 8-Bit Overflow Protection
    • Bit-Field Extract, Set, Clear
    • Normalization, Saturation, Bit-Counting
    • VelociTI.2™ Increased Orthogonality
  • L1/L2 Memory Architecture
    • 128K-Bit (16K-Byte) L1P Program Cache (Direct Mapped)
    • 128K-Bit (16K-Byte) L1D Data Cache (2-Way Set-Associative)
    • 2M-Bit (256K-Byte) L2 Unified Mapped RAM/Cache (Flexible RAM/Cache Allocation)
  • Endianess: Little Endian, Big Endian
  • 64-Bit External Memory Interface (EMIF)
    • Glueless Interface to Asynchronous Memories (SRAM and EPROM) and Synchronous Memories (SDRAM, SBSRAM, ZBT SRAM, and FIFO)
    • 1024M-Byte Total Addressable External Memory Space
  • Enhanced Direct-Memory-Access (EDMA) Controller (64 Independent Channels)
  • 10/100 Mb/s Ethernet MAC (EMAC)
    • IEEE 802.3 Compliant
    • Media Independent Interface (MII)
    • 8 Independent Transmit (TX) Channels and 1 Receive (RX) Channel
  • Management Data Input/Output (MDIO)
  • Two Configurable Video Ports (VP1, VP2)
    • Providing a Glueless I/F to Common Video Decoder and Encoder Devices
    • Supports Multiple Resolutions/Video Stds
  • VCXO Interpolated Control Port (VIC)
    • Supports Audio/Video Synchronization
  • Host-Port Interface (HPI) [32-/16-Bit]
  • Multichannel Audio Serial Port (McASP)
    • Eight Serial Data Pins
    • Wide Variety of I2S and Similar Bit Stream Format
    • Integrated Digital Audio I/F Transmitter Supports S/PDIF, IEC60958-1, AES-3, CP-430 Formats
  • Inter-Integrated Circuit (I2C Bus™)
  • Multichannel Buffered Serial Port
    • CLKS Input Not Supported
  • Three 32-Bit General-Purpose Timers
  • Sixteen General-Purpose I/O (GPIO) Pins
  • Flexible PLL Clock Generator
  • IEEE-1149.1 (JTAG) Boundary-Scan-Compatible
  • 548-Pin Ball Grid Array (BGA) Package (GDK and ZDK Suffixes), 0.8-mm Ball Pitch
  • 548-Pin Ball Grid Array (BGA) Package (GNZ and ZNZ Suffixes), 1.0-mm Ball Pitch
  • 0.13-µm/6-Level Cu Metal Process (CMOS)
  • 3.3-V I/O, 1.2-V Internal (-500)
  • 3.3-V I/O, 1.4-V Internal (-600)

Windows is a registered trademark of Microsoft Corporation.
I2C Bus is a trademark of Philips Electronics N.V.
All trademarks are the property of their respective owners.

DSP type1 C64x
DSP (max) (MHz)500, 600
CPU32-/64-bit
Operating systemDSP/BIOS, VLX
Ethernet MAC10/100
RatingCatalog
Operating temperature range (°C) to
OMFCBGA (GNZ)548729 mm² 27 x 27
OMFCBGA (ZDK)548529 mm² 23 x 23
OMFCBGA (ZNZ)548729 mm² 27 x 27
产品购买
  • 商品型号
  • 封装
  • 工作温度
  • 包装
  • 价格
  • 现货库存
  • 操作
10s
温馨提示:
订单商品问题请移至我的售后服务提交售后申请,其他需投诉问题可移至我的投诉提交,我们将在第一时间给您答复
返回顶部