h1_key

TI(德州仪器) MSP430F4270
德州仪器 (TI) 全系列产品在线购买
  • TI(德州仪器) MSP430F4270
  • TI(德州仪器) MSP430F4270
  • TI(德州仪器) MSP430F4270
  • TI(德州仪器) MSP430F4270
  • TI(德州仪器) MSP430F4270
  • TI(德州仪器) MSP430F4270
立即查看
您当前的位置: 首页 > 微控制器 (MCU) 和处理器 > MSP430 微控制器 > MSP430F4270
MSP430F4270

MSP430F4270

正在供货

具有 1 个 16 位 Σ-Δ ADC、12 位 DAC、56 段 LCD、32KB 闪存、256B RAM 的 8MHz 感应 MCU

产品详情
  • 说明
  • 特性
  • 参数
  • 封装 | 引脚 | 尺寸

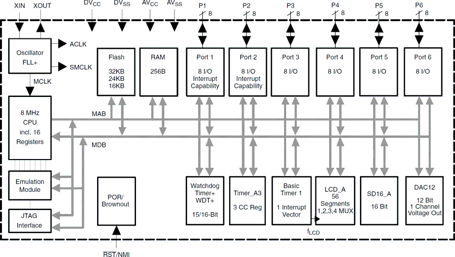
The Texas Instruments MSP430 family of ultralow-power microcontrollers consist of several devices featuring different sets of peripherals targeted for various applications. The architecture, combined with five low power modes, is optimized to achieve extended battery life in portable measurement applications. The device features a powerful 16-bit RISC CPU, 16-bit registers, and constant generators that contribute to maximum code efficiency. The digitally controlled oscillator (DCO) allows wake-up from low-power modes to active mode in less than 6 µs.

The MSP430F42x0 is a microcontroller configuration with a 16-bit timer, a high performance 16-bit sigma-delta A/D converter, 12-bit D/A converter, 32 I/O pins, and a liquid crystal display driver.

Typical applications for this device include analog and digital sensor systems, digital motor control, remote controls, thermostats, digital timers, hand-held meters, etc.

  • Low Supply-Voltage Range, 1.8 V to 3.6 V
  • Ultralow-Power Consumption:
    • Active Mode: 250 µA at 1 MHz, 2.2 V
    • Standby Mode: 1.1 µA
    • Off Mode (RAM Retention): 0.1 µA
  • Five Power Saving Modes
  • Wake-Up From Standby Mode in less than 6 µs
  • 16-Bit RISC Architecture, 125-ns Instruction Cycle Time
  • 16-Bit Sigma-Delta A/D Converter With Internal Reference and Five Differential Analog Inputs
  • 12-Bit D/A Converter
  • 16-Bit Timer_A With Three Capture/Compare Registers
  • Brownout Detector
  • Bootstrap Loader
  • Serial Onboard Programming, No External Programming Voltage Needed Programmable Code Protection by Security Fuse
  • Integrated LCD Driver with Contrast Control for Up to 56 Segments
  • MSP430x42x0 Family Members Include:
    • MSP430F4250: 16KB+256B Flash Memory 256B RAM
    • MSP430F4260: 24KB+256B Flash Memory 256B RAM
    • MSP430F4270: 32KB+256B Flash Memory 256B RAM
  • For Complete Module Descriptions, See The MSP430x4xx Family User’s Guide, Literature Number SLAU056
  • For Additional Device Information, See The MSP430F42x0 Device Erratasheet, Literature Number SLAZ022

Frequency (MHz)8
Nonvolatile memory (kByte)32
RAM (kByte)0.25
ADC type16-bit Sigma Delta
Number of ADC channels5
Number of GPIOs32
FeaturesDAC, LCD
UART0
USBNo
Number of I2Cs0
SPI0
Number of comparator channels0
Timers - 16-bit1
Bootloader (BSL)UART
Operating temperature range (°C)-40 to 85
RatingCatalog
SSOP (DL)48164.358 mm² 15.88 x 10.35
VQFN (RGZ)4849 mm² 7 x 7
产品购买
  • 商品型号
  • 封装
  • 工作温度
  • 包装
  • 价格
  • 现货库存
  • 操作
10s
温馨提示:
订单商品问题请移至我的售后服务提交售后申请,其他需投诉问题可移至我的投诉提交,我们将在第一时间给您答复
返回顶部