h1_key

TI(德州仪器) MSP430F148
德州仪器 (TI) 全系列产品在线购买
  • TI(德州仪器) MSP430F148
  • TI(德州仪器) MSP430F148
  • TI(德州仪器) MSP430F148
  • TI(德州仪器) MSP430F148
  • TI(德州仪器) MSP430F148
  • TI(德州仪器) MSP430F148
立即查看
您当前的位置: 首页 > 微控制器 (MCU) 和处理器 > MSP430 微控制器 > MSP430F148
MSP430F148

MSP430F148

正在供货

具有 48KB 闪存、2KB SRAM、12 位 ADC、比较器和 SPI/UART 的 8MHz MCU

产品详情
  • 说明
  • 特性
  • 参数
  • 封装 | 引脚 | 尺寸

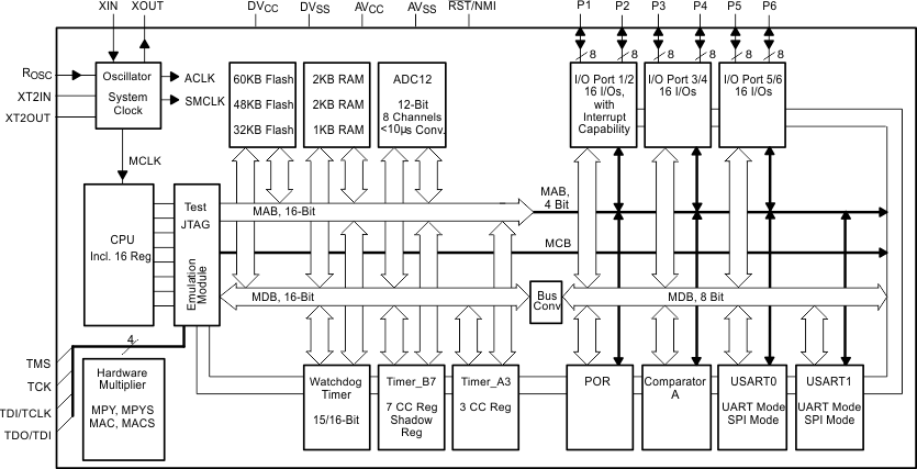
德州仪器 (TI) MSP430™系列的超低功耗微控制器 (MCU) 包含多款器件,这些器件配备了不同的外设集以满足各类 应用的需求。该架构可与五种低功耗模式配合使用,专为在便携式测量应用中延长电池使用寿命而进行了 优化。该器件 具有 功能强大的 16 位 RISC CPU、16 位寄存器和有助于获得最大编码效率的常数发生器。数控振荡器 (DCO) 可在不到 6µs 的时间内完成从低功耗模式到激活模式的唤醒。

MSP430F13x、MSP430F14x 和 MSP430F14x1 MCU 支持两个内置 16 位计时器、快速 12 位 ADC(在 MSP430F13x 和 MSP430F14x 器件上)、一个 USART(在 MSP430F13x 器件上)或两个 USART(在 MSP430F14x 和 MSP430F14x1 器件上),以及 48 个 I/O 引脚。硬件乘法器可提高性能,并提供型号众多且具有代码和硬件兼容性的器件系列解决方案。

要获得完整的模块说明,请参见《MSP430x1xx 系列用户指南》

  • 低电源电压范围:1.8V 至 3.6V
  • 超低功耗:
    • 激活模式:280µA(在 1MHz 频率和 2.2V 电压条件下)
    • 待机模式:1.6µA
    • 关闭模式(RAM 保持):0.1µA
  • 5 种省电模式
  • 可在不到 6µs 的时间内从待机模式唤醒
  • 16 位精简指令集 (RISC) 架构,125ns 指令周期时间
  • 具有内部基准、采样保持和自动扫描功能的 12 位模数转换器 (ADC)
  • 具有 7 个捕捉/比较及影子寄存器的 16 位 Timer_B
  • 具有 3 个捕捉/比较寄存器的 16 位 Timer_A
  • 片载比较器
  • 串行板上编程、无需外部编程电压、通过安全保险丝实现的可编程代码保护
  • 串行通信接口 (USART),作为异步 UART 或同步 SPI 接口
    • MSP430F14x 和 MSP430F14x1 器件上有两个 USART(USART0、USART1)
    • MSP430F13x 器件上有一个 USART (USART0)
  • 系列成员(另请参阅器件比较)
    • MSP430F133
      • 8KB + 256B 闪存,
        256B RAM
    • MSP430F135
      • 16KB + 256B 闪存,
        512B RAM
    • MSP430F147、MSP430F1471
      • 32KB + 256B 闪存,
        1KB RAM
    • MSP430F148、MSP430F1481
      • 48KB + 256B 闪存,
        2KB RAM
    • MSP430F149、MSP430F1491
      • 60KB + 256B 闪存,
        2KB RAM
Frequency (MHz)8
Nonvolatile memory (kByte)48
RAM (kByte)2
ADC type12-bit SAR
Number of ADC channels8
Number of GPIOs48
UART2
USBNo
Number of I2Cs0
SPI2
Number of comparator channels2
Timers - 16-bit2
Bootloader (BSL)UART
Operating temperature range (°C)-40 to 85
RatingCatalog
LQFP (PM)64144 mm² 12 x 12
TQFP (PAG)64144 mm² 12 x 12
VQFNP (RTD)6481 mm² 9 x 9
产品购买
  • 商品型号
  • 封装
  • 工作温度
  • 包装
  • 价格
  • 现货库存
  • 操作

很抱歉,暂时无法提供与“MSP430F148”系列相匹配的产品,您可以联系专属客服快速找货或在现货搜索框中重新搜索。

10s
温馨提示:
订单商品问题请移至我的售后服务提交售后申请,其他需投诉问题可移至我的投诉提交,我们将在第一时间给您答复
返回顶部