h1_key

TI(德州仪器) MSP430F1481
德州仪器 (TI) 全系列产品在线购买
  • TI(德州仪器) MSP430F1481
  • TI(德州仪器) MSP430F1481
  • TI(德州仪器) MSP430F1481
  • TI(德州仪器) MSP430F1481
  • TI(德州仪器) MSP430F1481
  • TI(德州仪器) MSP430F1481
立即查看
您当前的位置: 首页 > 微控制器 (MCU) 和处理器 > MSP430 微控制器 > MSP430F1481
MSP430F1481

MSP430F1481

正在供货

具有 48KB 闪存、2KB SRAM、12 位 ADC、比较器和 SPI/UART 的 8MHz MCU

产品详情
  • 说明
  • 特性
  • 参数
  • 封装 | 引脚 | 尺寸

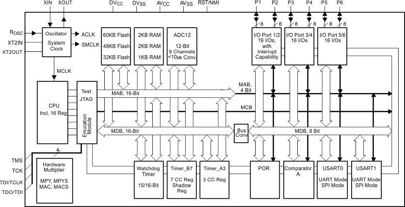
德州仪器 (TI) MSP430™系列的超低功耗微控制器 (MCU) 包含多款器件,这些器件配备了不同的外设集以满足各类 应用的需求。该架构可与五种低功耗模式配合使用,专为在便携式测量应用中延长电池使用寿命而进行了 优化。该器件 具有 功能强大的 16 位 RISC CPU、16 位寄存器和有助于获得最大编码效率的常数发生器。数控振荡器 (DCO) 可在不到 6µs 的时间内完成从低功耗模式到激活模式的唤醒。

MSP430F13x、MSP430F14x 和 MSP430F14x1 MCU 支持两个内置 16 位计时器、快速 12 位 ADC(在 MSP430F13x 和 MSP430F14x 器件上)、一个 USART(在 MSP430F13x 器件上)或两个 USART(在 MSP430F14x 和 MSP430F14x1 器件上),以及 48 个 I/O 引脚。硬件乘法器可提高性能,并提供型号众多且具有代码和硬件兼容性的器件系列解决方案。

要获得完整的模块说明,请参见《MSP430x1xx 系列用户指南》

  • 低电源电压范围:1.8V 至 3.6V
  • 超低功耗:
    • 激活模式:280µA(在 1MHz 频率和 2.2V 电压条件下)
    • 待机模式:1.6µA
    • 关闭模式(RAM 保持):0.1µA
  • 5 种省电模式
  • 可在不到 6µs 的时间内从待机模式唤醒
  • 16 位精简指令集 (RISC) 架构,125ns 指令周期时间
  • 具有内部基准、采样保持和自动扫描功能的 12 位模数转换器 (ADC)
  • 具有 7 个捕捉/比较及影子寄存器的 16 位 Timer_B
  • 具有 3 个捕捉/比较寄存器的 16 位 Timer_A
  • 片载比较器
  • 串行板上编程、无需外部编程电压、通过安全保险丝实现的可编程代码保护
  • 串行通信接口 (USART),作为异步 UART 或同步 SPI 接口
    • MSP430F14x 和 MSP430F14x1 器件上有两个 USART(USART0、USART1)
    • MSP430F13x 器件上有一个 USART (USART0)
  • 系列成员(另请参阅器件比较)
    • MSP430F133
      • 8KB + 256B 闪存,
        256B RAM
    • MSP430F135
      • 16KB + 256B 闪存,
        512B RAM
    • MSP430F147、MSP430F1471
      • 32KB + 256B 闪存,
        1KB RAM
    • MSP430F148、MSP430F1481
      • 48KB + 256B 闪存,
        2KB RAM
    • MSP430F149、MSP430F1491
      • 60KB + 256B 闪存,
        2KB RAM
Frequency (MHz)8
Nonvolatile memory (kByte)48
RAM (kByte)2
ADC typeSlope
Number of ADC channels0
Number of GPIOs48
UART2
USBNo
Number of I2Cs0
SPI2
Number of comparator channels2
Timers - 16-bit2
Bootloader (BSL)UART
Operating temperature range (°C)-40 to 85
RatingCatalog
LQFP (PM)64144 mm² 12 x 12
VQFNP (RTD)6481 mm² 9 x 9
产品购买
  • 商品型号
  • 封装
  • 工作温度
  • 包装
  • 价格
  • 现货库存
  • 操作
10s
温馨提示:
订单商品问题请移至我的售后服务提交售后申请,其他需投诉问题可移至我的投诉提交,我们将在第一时间给您答复
返回顶部