h1_key

TI(德州仪器) TMS320C6701
德州仪器 (TI) 全系列产品在线购买
  • TI(德州仪器) TMS320C6701
  • TI(德州仪器) TMS320C6701
  • TI(德州仪器) TMS320C6701
  • TI(德州仪器) TMS320C6701
  • TI(德州仪器) TMS320C6701
  • TI(德州仪器) TMS320C6701
立即查看
您当前的位置: 首页 > 微控制器 (MCU) 和处理器 > 数字信号处理器 (DSP) > TMS320C6701
TMS320C6701

TMS320C6701

正在供货

C67x 浮点 DSP- 高达 167MHz、McBSP

产品详情
  • 说明
  • 特性
  • 参数
  • 封装 | 引脚 | 尺寸

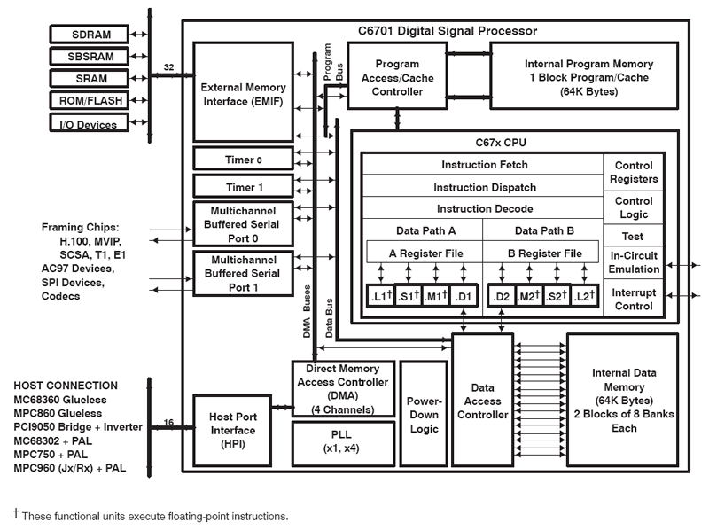
The TMS320C67x DSPs are the floating-point DSP family in the TMS320C6000™ DSP platform. The TMS320C6701 (C6701) device is based on the high-performance, advanced VelociTI very-long-instruction-word (VLIW) architecture developed by Texas Instruments (TI), making this DSP an excellent choice for multichannel and multifunction applications. With performance of up to 1 giga floating-point operations per second (GFLOPS) at a clock rate of 167 MHz, the C6701 offers cost-effective solutions to high-performance DSP programming challenges. The C6701 DSP possesses the operational flexibility of high-speed controllers and the numerical capability of array processors. This processor has 32 general-purpose registers of 32-bit word length and eight highly independent functional units. The eight functional units provide four floating-/fixed-point ALUs, two fixed-point ALUs, and two floating-/fixed-point multipliers. The C6701 can produce two multiply-accumulates (MACs) per cycle for a total of 334 million MACs per second (MMACS). The C6701 DSP also has application-specific hardware logic, on-chip memory, and additional on-chip peripherals.

The C6701 includes a large bank of on-chip memory and has a powerful and diverse set of peripherals. Program memory consists of a 64K-byte block that is user-configurable as cache or memory-mapped program space. Data memory consists of two 32K-byte blocks of RAM. The peripheral set includes two multichannel buffered serial ports (McBSPs), two general-purpose timers, a host-port interface (HPI), and a glueless external memory interface (EMIF) capable of interfacing to SDRAM or SBSRAM and asynchronous peripherals.

The C6701 has a complete set of development tools which includes: a new C compiler, an assembly optimizer to simplify programming and scheduling, and a Windows™ debugger interface for visibility into source code execution.

  • Highest Performance Floating-Point Digital Signal Processor (DSP) TMS320C6701
    • 8.3-, 6.7-, 6-ns Instruction Cycle Time
    • 120-, 150-, 167-MHz Clock Rate
    • Eight 32-Bit Instructions/Cycle
    • 1 GFLOPS
    • TMS320C6201 Fixed-Point DSP Pin-Compatible
  • VelociTI™ Advanced Very Long Instruction Word (VLIW) C67x™ CPU Core
    • Eight Highly Independent Functional Units:
      • Four ALUs (Floating- and Fixed-Point)
      • Two ALUs (Fixed-Point)
      • Two Multipliers (Floating- and Fixed-Point)
    • Load-Store Architecture With 32 32-Bit General-Purpose Registers
    • Instruction Packing Reduces Code Size
    • All Instructions Conditional
  • Instruction Set Features
    • Hardware Support for IEEE Single-Precision Instructions
    • Hardware Support for IEEE Double-Precision Instructions
    • Byte-Addressable (8-, 16-, 32-Bit Data)
    • 8-Bit Overflow Protection
    • Saturation
    • Bit-Field Extract, Set, Clear
    • Bit-Counting
    • Normalization
  • 1M-Bit On-Chip SRAM
    • 512K-Bit Internal Program/Cache (16K 32-Bit Instructions)
    • 512K-Bit Dual-Access Internal Data (64K Bytes)
  • 32-Bit External Memory Interface (EMIF) to Synchronous/Asynchronous Memories
    • Glueless Interface to Synchronous Memories: SDRAM and SBSRAM
    • Glueless Interface to Asynchronous Memories: SRAM and EPROM
    • 52M-Byte Addressable External Memory Space
  • Four-Channel Bootloading Direct-Memory-Access (DMA) Controller With an Auxiliary Channel
  • 16-Bit Host-Port Interface (HPI)
    • Access to Entire Memory Map
  • Two Multichannel Buffered Serial Ports (McBSPs)
    • Direct Interface to T1/E1, MVIP, SCSA Framers
    • ST-Bus-Switching Compatible
    • Up to 256 Channels Each
    • AC97-Compatible
    • Serial-Peripheral-Interface (SPI) Compatible (Motorola™)
  • Two 32-Bit General-Purpose Timers
  • Flexible Phase-Locked-Loop (PLL) Clock Generator
  • IEEE-1149.1 (JTAG) Boundary-Scan-Compatible
  • 352-Pin Ball Grid Array (BGA) Package (GJC Suffix)
  • 0.18-µm/5-Level Metal Process
    • CMOS Technology
  • 3.3-V I/Os, 1.8-V Internal (120-, 150-MHz)
  • 3.3-V I/Os, 1.9-V Internal (167-MHz Only)

VelociTI is a trademark of Texas Instruments.
Motorola is a trademark of Motorola, Inc.
IEEE Standard 1149.1-1990 Standard-Test-Access Port and Boundary Scan Architecture.
TMS320C6000 is a trademark of Texas Instruments.
Windows is a registered trademark of Microsoft Corporation.

DSP type1 C67x
DSP (max) (MHz)150, 167
CPU32-/64-bit
Operating systemDSP/BIOS
RatingCatalog
Operating temperature range (°C)-40 to 105
FCBGA (GJC)3521225 mm² 35 x 35
产品购买
  • 商品型号
  • 封装
  • 工作温度
  • 包装
  • 价格
  • 现货库存
  • 操作

很抱歉,暂时无法提供与“TMS320C6701”系列相匹配的产品,您可以联系专属客服快速找货或在现货搜索框中重新搜索。

10s
温馨提示:
订单商品问题请移至我的售后服务提交售后申请,其他需投诉问题可移至我的投诉提交,我们将在第一时间给您答复
返回顶部