h1_key

TI(德州仪器) DRV8912-Q1
德州仪器 (TI) 全系列产品在线购买
  • TI(德州仪器) DRV8912-Q1
  • TI(德州仪器) DRV8912-Q1
  • TI(德州仪器) DRV8912-Q1
  • TI(德州仪器) DRV8912-Q1
  • TI(德州仪器) DRV8912-Q1
  • TI(德州仪器) DRV8912-Q1
立即查看
您当前的位置: 首页 > 电机驱动器 > 有刷直流 (BDC) 电机驱动器 > DRV8912-Q1
DRV8912-Q1

DRV8912-Q1

正在供货

具有高级诊断功能的汽车类 40V、6A、12 通道半桥电机驱动器

产品详情
  • 说明
  • 特性
  • 参数
  • 封装 | 引脚 | 尺寸

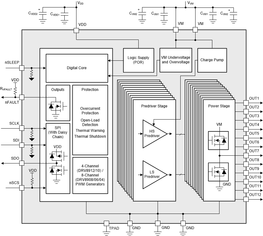
DRV89xx-Q1 是引脚对引脚兼容的集成多通道半桥驱动器系列,具有 4 至 12 个半桥。该器件系列 具有 低导通状态电阻 (RDS(ON)),可在高电流运行期间提高热性能。

这些器件能够以独立、顺序或并行模式驱动刷式直流 (BDC) 电机或步进电机。半桥是完全可控的,以实现电机的正转、反转、滑行和制动操作。

这些器件具有带菊花链功能的标准 16 位 5MHz 串行外设接口 (SPI),可进行完整的配置和详细的诊断。根据器件的不同,集成了四个或八个可编程 PWM 发生器,以便在电机运行或 LED 调光控制期间限制电流。

该器件包含许多保护和诊断 功能, 其中包括用于在发生故障时向系统发出警报的 nFAULT 引脚。此器件 具有 用于在标称负载电流较小时检测开路负载情况的低电流开路负载检测 (OLD) 模式和用于离线 OLD 的无源 OLD 模式。该器件还针对短路、欠压和过热情况实现了全面保护。

在 ti.com 上查看我们完整的刷式电机驱动器产品系列。

  • 符合面向汽车 标准
  • 4、6、8、10 和 12 路半桥输出
  • 4.5V 至 32V 工作电压
    • 40V 绝对最大电压
  • 每个输出具有 1A RMS 电流
    • 并联输出具有 6A 最大电流
  • 低功耗睡眠模式 (1.5µA)
  • 支持 3.3V 和 5V 逻辑输入
  • SPI 提供配置和诊断功能
    • 5MHz 16 位 SPI 通信
    • 菊花链功能
  • 可通过 SPI 对 PWM 发生器进行编程
    • 独立半桥 PWM 运行
    • 可针对高侧、低侧和 H 桥负载驱动进行配置
    • 支持 8 位占空比分辨率
  • 集成保护 功能, 通过 SPI 提供每通道详细诊断
    • nFAULT 引脚输出
    • VM 欠压锁定 (UVLO)
    • VM 过压保护 (OVP)
    • 逻辑电源上电复位 (POR)
    • 过流保护 (OCP)
    • 增强的开路负载检测 (OLD)
    • 热警告和热关断 (OTW/OTSD)
Number of full bridges6
Vs (min) (V)4.5
Vs ABS (max) (V)40
Peak output current (A)6
RDS(ON) (HS + LS) (mΩ)1500
Sleep current (µA)0.35
Control modeIndependent 1/2-Bridge, PWM
Control interfaceSPI
FeaturesOpen-Load Detection
RatingAutomotive
TI functional safety categoryFunctional Safety-Capable
Operating temperature range (°C)-40 to 125
HTSSOP (PWP)2449.92 mm² 7.8 x 6.4
产品购买
  • 商品型号
  • 封装
  • 工作温度
  • 包装
  • 价格
  • 现货库存
  • 操作
10s
温馨提示:
订单商品问题请移至我的售后服务提交售后申请,其他需投诉问题可移至我的投诉提交,我们将在第一时间给您答复
返回顶部