h1_key

TI(德州仪器) OPA615
德州仪器 (TI) 全系列产品在线购买
  • TI(德州仪器) OPA615
  • TI(德州仪器) OPA615
  • TI(德州仪器) OPA615
  • TI(德州仪器) OPA615
  • TI(德州仪器) OPA615
  • TI(德州仪器) OPA615
立即查看
您当前的位置: 首页 > 放大器 > 特殊功能放大器 > 跨导放大器和激光驱动器 > OPA615
OPA615

OPA615

正在供货

高带宽直流恢复电路

产品详情
  • 说明
  • 特性
  • 参数
  • 封装 | 引脚 | 尺寸

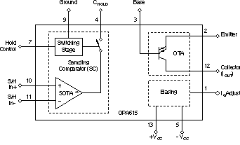
The OPA615 is a complete subsystem for very fast and precise DC restoration, offset clamping, and low-frequency hum suppression of wideband amplifiers or buffers. Although it is designed to stabilize the performance of video signals, the circuit can also be used as a sample-and-hold amplifier, high-speed integrator, or peak detector for nanosecond pulses. The device features a wideband Operational Transconductance Amplifier (OTA) with a high-impedance cascode current source output and fast and precise sampling comparator that together set a new standard for high-speed applications. Both the OTA and the sampling comparator can be used as stand-alone circuits or combined to form a more complex signal processing stage. The self-biased, bipolar OTA can be viewed as an ideal voltage-controlled current source and is optimized for low input bias current. The sampling comparator has two identical high-impedance inputs and a current source output optimized for low output bias current and offset voltage; it can be controlled by a TTL-compatible switching stage within a few nanoseconds. The transconductance of the OTA and sampling comparator can be adjusted by an external resistor, allowing bandwidth, quiescent current, and gain trade-offs to be optimized.

The OPA615 is available in both an SO-14 surface-mount and an MSOP-10 package.

  • PROPAGATION DELAY: 1.9ns
  • BANDWIDTH:
    OTA: 710MHz
    Comparator: 730MHz
  • LOW INPUT BIAS CURRENT: ±1µA
  • SAMPLE-AND-HOLD SWITCHING TRANSIENTS: ±5mV
  • SAMPLE-AND-HOLD FEEDTHROUGH REJECTION: 100dB
  • CHARGE INJECTION: 40fC
  • HOLD COMMAND DELAY TIME: 2.5ns
  • TTL/CMOS HOLD CONTROL
  • APPLICATIONS
    • BROADCAST/HDTV EQUIPMENT
    • TELECOMMUNICATIONS EQUIPMENT
    • HIGH-SPEED DATA ACQUISITION
    • CAD MONITORS/CCD IMAGE PROCESSING
    • NANOSECOND PULSE INTEGRATOR/PEAK DETECTOR
    • PULSE CODE MODULATOR/DEMODULATOR
    • COMPLETE VIDEO DC LEVEL RESTORATION
    • SAMPLE-AND-HOLD AMPLIFIER
    • SHC615 UPGRADE

All trademarks are the property of their respective owners.

Acl, min spec gain (V/V)1
Available channelsS
Operating temperature range (°C)-40 to 85
Iout (typ) (A)0.02
RatingCatalog
SOIC (D)1451.9 mm² 8.65 x 6
VSSOP (DGS)1014.7 mm² 3 x 4.9
产品购买
  • 商品型号
  • 封装
  • 工作温度
  • 包装
  • 价格
  • 现货库存
  • 操作
10s
温馨提示:
订单商品问题请移至我的售后服务提交售后申请,其他需投诉问题可移至我的投诉提交,我们将在第一时间给您答复
返回顶部