h1_key

TI(德州仪器) DRV10983
德州仪器 (TI) 全系列产品在线购买
  • TI(德州仪器) DRV10983
  • TI(德州仪器) DRV10983
  • TI(德州仪器) DRV10983
  • TI(德州仪器) DRV10983
  • TI(德州仪器) DRV10983
  • TI(德州仪器) DRV10983
立即查看
您当前的位置: 首页 > 电机驱动器 > 无刷直流 (BLDC) 电机驱动器 > 集成控制 BLDC 驱动器 > DRV10983
DRV10983

DRV10983

正在供货

24V 标称电压、3A 峰值无传感器正弦控制三相 BLDC 电机驱动器

产品详情
  • 说明
  • 特性
  • 参数
  • 封装 | 引脚 | 尺寸

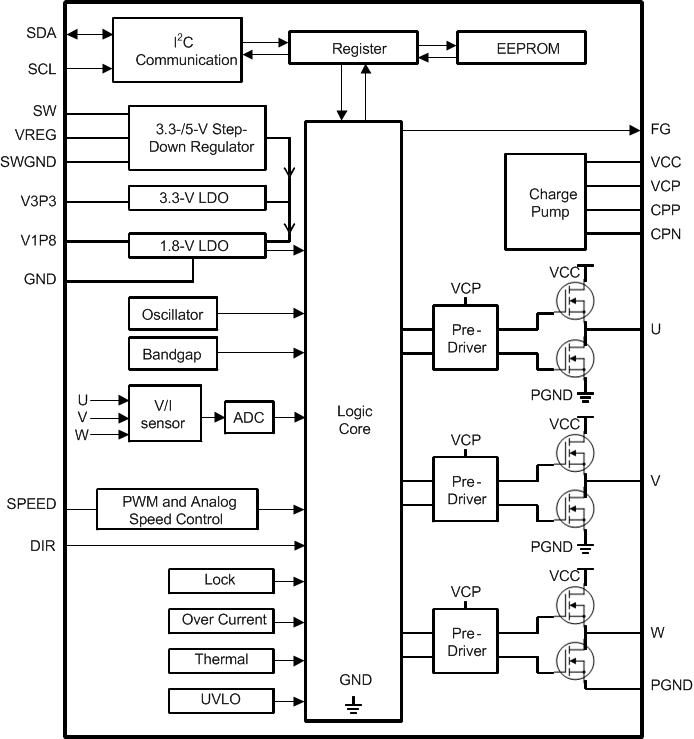
DRV10983 器件是一款具有集成功率 MOSFET 的三相无传感器电机驱动器,可提供高达 2A 的持续驱动电流。该器件专为成本敏感型、低噪声、低外部组件数量 应用而设计低功耗是一个关键问题。

DRV10983 器件采用专有无传感器控制方案来提供持续正弦驱动,可大幅降低换向过程中通常会产生的纯音。该器件的接口设计简单而灵活。可直接通过 PWM、模拟、或 I2C 输入控制电机。可通过 FG 引脚或 I2C 提供电机速度反馈。

DRV10983器件 安全功能包括 一个集成降压稳压器,可高效地将电源电压降至 5V 或 3.3V,从而为内外部电路供电。该器件提供睡眠模式和待机模式两种型号,可在电机停止运转时实现节能。待机模式 (3mA) 型号会使稳压器保持运行,而休眠模式 (180µA) 型号会使稳压器停止工作。在使用稳压器 为外部 微控制器供电的应用中使用待机模式型号。

用户可通过 I2C 接口对寄存器中的特定电机参数进行重新编程并可对 EEPROM 进行编程,以帮助优化既定应用的性能。DRV10983 器件采用带有外露散热焊盘的高效散热型 HTSSOP 24 引脚封装。额定工作温度为 –40°C 至 125°C。

  • 输入电压范围:8 至 28V
  • 总驱动器 H + L rDS(on):250mΩ
  • 驱动电流:2A 持续绕组电流(峰值 3A)
  • 无传感器专有反电动势 (BEMF) 控制方案
  • 连续正弦 180° 换向
  • 无需外部感测电阻
  • 用户可通过添加外部感应电阻以灵活监视为电机提供的功率
  • 灵活的用户接口选项:
    • I2C 接口:访问命令和反馈寄存器
    • 专用的 SPEED 引脚:接受模拟或 PWM 输入
    • 专用的 FG 引脚:提供 TACH 反馈
    • 可通过 EEPROM 定制旋转曲线
    • 使用 DIR 引脚进行正向/反向控制
  • 集成了降压稳压器,可高效地为内部和外部电路提供电压 (5V 或 3.3V)
  • 电源电流为 3mA 待机型号 (DRV10983)
  • 电源电流为 180 µA 睡眠型号 (DRV10983Z)
  • 过流保护
  • 锁定检测
  • 电压浪涌保护
  • 欠压闭锁 (UVLO) 保护
  • 热关断保护
  • 耐热增强型 24 引脚散热薄型小外形尺寸 (HTSSOP)
RatingCatalog
ArchitectureIntegrated FET
Control topologySensorless, Sinusoidal
Control interface1xPWM, Analog, Serial
Vs (min) (V)8
Vs ABS (max) (V)30
FeaturesBuck Step Down Converter, Initial Position Detect (IPD), Integrated FETs, Integrated Motor Control, Rotor Lock Protection, SPI/I2C, Tach/FG Feedback
Operating temperature range (°C)-40 to 125
HTSSOP (PWP)2449.92 mm² 7.8 x 6.4
产品购买
  • 商品型号
  • 封装
  • 工作温度
  • 包装
  • 价格
  • 现货库存
  • 操作
10s
温馨提示:
订单商品问题请移至我的售后服务提交售后申请,其他需投诉问题可移至我的投诉提交,我们将在第一时间给您答复
返回顶部