h1_key

TI(德州仪器) TPS2640
德州仪器 (TI) 全系列产品在线购买
  • TI(德州仪器) TPS2640
  • TI(德州仪器) TPS2640
  • TI(德州仪器) TPS2640
  • TI(德州仪器) TPS2640
  • TI(德州仪器) TPS2640
  • TI(德州仪器) TPS2640
立即查看
您当前的位置: 首页 > 电源管理 > 电源开关 > 电子保险丝和热插拔控制器 > TPS2640
TPS2640

TPS2640

正在供货

具有集成反向输入极性保护功能的 42V、2A 工业电子保险丝

产品详情
  • 说明
  • 特性
  • 参数
  • 封装 | 引脚 | 尺寸

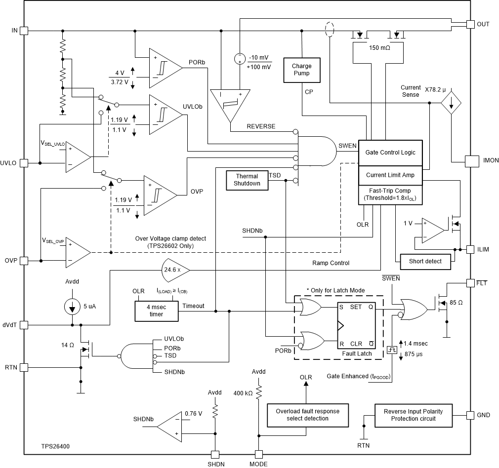
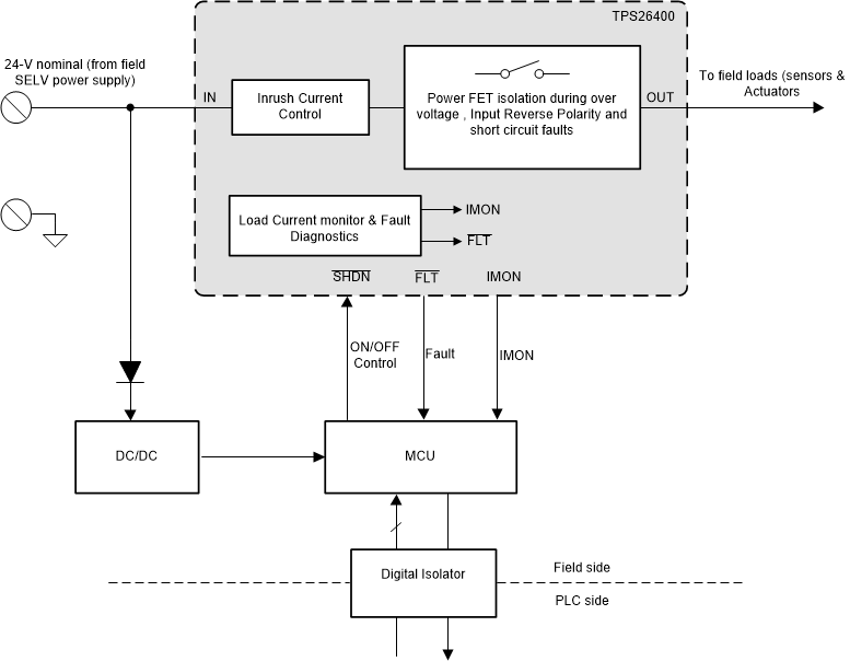
TPS26400 器件是一款设计紧凑、功能丰富的高压电子保险丝,具有一整套保护功能。4.2V 至 42V 的宽电源电压输入范围可实现对众多常用直流总线电压的控制。该器件可以承受并保护由高达 ±42V 的正负电源供电的负载。集成的背对背 FET 提供反向电流阻断功能,因此该器件适用于在电源故障和欠压条件下要求保持输出电压的系统。负载、电源和器件保护具有许多可调特性,包括过流、输出压摆率和过压、欠压阈值。TPS26400 内部可靠的保护控制模块以及高额定电压有助于简化针对浪涌保护的系统设计。

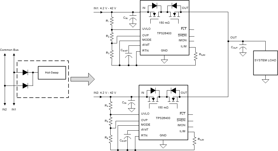
借助关断引脚,可以从外部控制内部 FET 的启用/禁用,还可以将器件置于低电流关断模式。为实现系统状态监视和下游负载控制,器件提供故障和精密电流监视输出。MODE 引脚有助于在三个限流故障响应(断路器模式、闭锁模式和自动重试模式)之间灵活地对器件进行配置。

该器件可采用 5mm × 4.4mm、16 引脚 HTSSOP 封装和 5mm x 4mm、24 引脚 VQFN 封装;额定温度范围为 –40°C 至 +125°C。

  • 工作电压为 4.2V 至 42V,绝对最大值为 45V

  • 集成反向输入极性保护,低至 –42V
    • 无需额外元件
  • 总 RON 为 150mΩ 的集成背对背 MOSFET
  • 0.1A 至 2.23A 可调节电流限制(1A 时精度为 ±5%)
  • 借助适用的 TVS 在浪涌期间提供负载保护 (IEC 61000-4-5)
  • IMON 电流指示器输出(精度为 ±8.5%)
  • 低静态电流,工作时为 300µA,关断时为 20µA
  • 可调节的 UVLO、OVP 切断、输出压摆率控制
  • 反向电流阻断
  • 采用易于使用的 16 引脚 HTSSOP 和 24 引脚 VQFN 封装
  • 可选电流限制故障响应选项(自动重试、闭锁、断路器模式)
FETInternal
Ron (typ) (mΩ)150
Vin (min) (V)4.2
Vin (max) (V)42
Vabsmax_cont (V)55
Current limit (min) (A)0.1
Current limit (max) (A)2.2
Overcurrent responseCircuit breaker, current limiting
Fault responseAuto-retry, Latch-off
Soft startAdjustable
Overvoltage responseClamp, Cut-off
FeaturesCurrent monitoring, Fault output, Reverse current blocking always, Reverse polarity protection
RatingCatalog
Device typeeFuses and hot swap controllers
Operating temperature range (°C)-40 to 125
FunctionAdjustable current limit, Current monitoring, Inrush current control, Overvoltage protection, Power good signal, Reverse current blocking, Reverse polarity protection, Short circuit protection, Thermal shutdown
HTSSOP (PWP)1632 mm² 5 x 6.4
VQFN (RHF)2420 mm² 5 x 4
产品购买
  • 商品型号
  • 封装
  • 工作温度
  • 包装
  • 价格
  • 现货库存
  • 操作
10s
温馨提示:
订单商品问题请移至我的售后服务提交售后申请,其他需投诉问题可移至我的投诉提交,我们将在第一时间给您答复
返回顶部