h1_key

TI(德州仪器) TPS1HB35-Q1
德州仪器 (TI) 全系列产品在线购买
  • TI(德州仪器) TPS1HB35-Q1
  • TI(德州仪器) TPS1HB35-Q1
  • TI(德州仪器) TPS1HB35-Q1
  • TI(德州仪器) TPS1HB35-Q1
  • TI(德州仪器) TPS1HB35-Q1
  • TI(德州仪器) TPS1HB35-Q1
立即查看
您当前的位置: 首页 > 电源管理 > 电源开关 > 高侧开关 > TPS1HB35-Q1
TPS1HB35-Q1

TPS1HB35-Q1

正在供货

具有可调节电流限制的 40V、35mΩ、汽车类单通道智能高侧开关

产品详情
  • 说明
  • 特性
  • 参数
  • 封装 | 引脚 | 尺寸

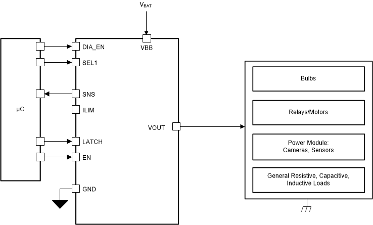
TPS1HB35-Q1 器件是一款适用于 12V 汽车系统的智能高边开关。该器件集成了强大的保护和诊断功能,可确保即使在汽车系统发生短路等不利事件时也能提供输出端口保护。该器件通过可靠的电流限制来防止故障,根据器件型号不同,电流限制可调范围为 2A 至 22A。凭借较高的电流限制范围,该器件可用于需要大瞬态电流的负载,而低电流限制范围可为不需要高峰值电流的负载提供更好的保护。该器件能够可靠地驱动各种负载分布

TPS1HB35-Q1 还能够提供可改进负载诊断的高精度模拟电流检测。通过向系统 MCU 报告负载电流和器件温度,该器件可实现预测性维护和负载诊断,从而延长系统寿命。

TPS1HB35-Q1 采用 HTSSOP 封装,可减小 PCB 尺寸。

  • 符合面向汽车应用的 AEC-Q100 标准
    • 温度等级 1:–40°C 至 125°C
    • 器件 HBM ESD 分类等级 2
    • 器件 CDM ESD 分类等级 C4B
    • 可承受 40V 负载突降
  • 提供功能安全
    • 可提供用于功能安全系统设计的文档
  • 单通道智能高边开关,具有 35mΩ R ON (T J = 25°C)
  • 可通过可调电流限制提高系统级可靠性
    • 电流限制设定点范围为 2A 至 22 A
  • 强大的集成输出保护:
    • 集成热保护
    • 接地短路和电池短路保护
    • 反向电池事件保护包括 FET 通过反向电压自动开启
    • 在失电和接地失效时自动关闭
    • 集成输出钳位对电感负载进行消磁
    • 可配置故障处理
  • 可对模拟检测输出进行配置,以精确测量:
    • 负载电流
    • 器件温度
  • 通过 SNS 引脚提供故障指示
    • 开路负载和电池短路检测
Number of channels1
Operating voltage (max) (V)18
Operating voltage (min) (V)6
Ron (typ) (mΩ)35
Imax (A)5
Current limit (min) (A)2
Current limit (max) (A)33
Current limit typeAdjustable
Current limit accuracy+25%/-22%
Current sense accuracy+4/-4% @ 1A
FETInternal
FeaturesCurrent sense output, Current sense/monitor, Programmable current limit, Thermal shutdown, Under voltage lock out
Operating temperature range (°C)-40 to 125
FunctionAdjustable current limit, Automotive load dump compatibility, Current monitoring, Inductive load compatibility, Inrush current control, Short circuit protection, Thermal shutdown
RatingAutomotive
HTSSOP (PWP)1632 mm² 5 x 6.4
产品购买
  • 商品型号
  • 封装
  • 工作温度
  • 包装
  • 价格
  • 现货库存
  • 操作
10s
温馨提示:
订单商品问题请移至我的售后服务提交售后申请,其他需投诉问题可移至我的投诉提交,我们将在第一时间给您答复
返回顶部