h1_key

TI(德州仪器) TPS65653-Q1
德州仪器 (TI) 全系列产品在线购买
  • TI(德州仪器) TPS65653-Q1
  • TI(德州仪器) TPS65653-Q1
  • TI(德州仪器) TPS65653-Q1
  • TI(德州仪器) TPS65653-Q1
  • TI(德州仪器) TPS65653-Q1
  • TI(德州仪器) TPS65653-Q1
立即查看
您当前的位置: 首页 > 电源管理 > 多通道 IC (PMIC) > TPS65653-Q1
TPS65653-Q1

TPS65653-Q1

正在供货

具有集成开关的汽车类 4MHz、双路 3A 降压转换器

产品详情
  • 说明
  • 特性
  • 参数
  • 封装 | 引脚 | 尺寸

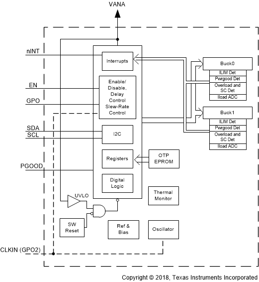
TPS65653-Q1 设计用于为雷达等噪声敏感型 应用提供严格的电源规范。该器件包含两个降压直流/直流转换器以及通用数字输出信号。该器件由 I2C 兼容串行接口和使能信号进行控制。

自动 PWM/PFM(AUTO 模式)操作可在较宽输出电流范围内最大限度地提高效率。TPS65653-Q1 支持远程电压检测,可补偿稳压器输出与负载点 (POL) 之间的 IR 压降,从而提高输出电压的精度。此外,可以强制开关时钟进入 PWM 模式以及将其与外部时钟同步,从而最大限度地降低干扰。

TPS65653-Q1 器件支持可编程启动和关断延迟与排序(包括与使能信号同步的 GPO 信号)。在启动和电压变化期间,器件会对输出转换率进行控制,从而最大限度地减小输出电压过冲和浪涌电流。

  • 下列性能符合 AEC-Q100 标准:
    • 器件温度 1 级:-40°C 至 +125°C 的环境工作温度范围
  • 输入电压:2.8V 至 5.5V
  • 两个高效降压直流/直流转换器:
    • 输出电压:1V 至 3.36V
    • 最大输出电流为每相 3A
    • 可编程输出电压压摆率范围:0.5mV/µs 至 10mV/µs
    • 4MHz 开关频率
    • 用于降低 EMI 的扩频模式和相位交错
  • 可配置通用输出信号(GPO、GPO2)
  • I2C 兼容接口,支持标准 (100kHz)、快速 (400kHz)、快速+ (1MHz) 和高速 (3.4MHz) 模式
  • 具有可编程屏蔽的中断功能
  • 可编程电源正常信号 (PGOOD)
  • 外部时钟输入以同步开关
  • 输出短路和过载保护
  • 过热警告和保护
  • 过压保护 (OVP) 和欠压锁定 (UVLO)
  • 具有可湿性侧面的 28 引脚、5mm × 5mm VQFN 封装
Regulated outputs (#)2
ConfigurabilityFactory programmable, Software configurable
Vin (min) (V)2.8
Vin (max) (V)5.5
Iout (max) (A)3
FeaturesEnable pin, I2C control, Power good, Power sequencing, Spread-Spectrum Clock (SSC) Generation, Thermal shutdown, UVLO adjustable
Step-up DC/DC converter0
Step-down DC/DC converter2
Step-down DC/DC controller0
Step-up DC/DC controller0
LDO0
Iq (typ) (mA)0.009
RatingAutomotive
Switching frequency (max) (kHz)4400
Operating temperature range (°C)-40 to 125
Processor supplierTexas Instruments
Processor namemmWave AWR
Shutdown current (ISD) (typ) (µA)9
Switching frequency (typ) (kHz)4000
VQFN (RHD)2825 mm² 5 x 5
产品购买
  • 商品型号
  • 封装
  • 工作温度
  • 包装
  • 价格
  • 现货库存
  • 操作
10s
温馨提示:
订单商品问题请移至我的售后服务提交售后申请,其他需投诉问题可移至我的投诉提交,我们将在第一时间给您答复
返回顶部