h1_key

TI(德州仪器) LP87702-Q1
德州仪器 (TI) 全系列产品在线购买
  • TI(德州仪器) LP87702-Q1
  • TI(德州仪器) LP87702-Q1
  • TI(德州仪器) LP87702-Q1
  • TI(德州仪器) LP87702-Q1
  • TI(德州仪器) LP87702-Q1
  • TI(德州仪器) LP87702-Q1
立即查看
您当前的位置: 首页 > 电源管理 > 多通道 IC (PMIC) > LP87702-Q1
LP87702-Q1

LP87702-Q1

正在供货

具有诊断功能的双通道降压转换器和 5V 升压转换器

产品详情
  • 说明
  • 特性
  • 参数
  • 封装 | 引脚 | 尺寸

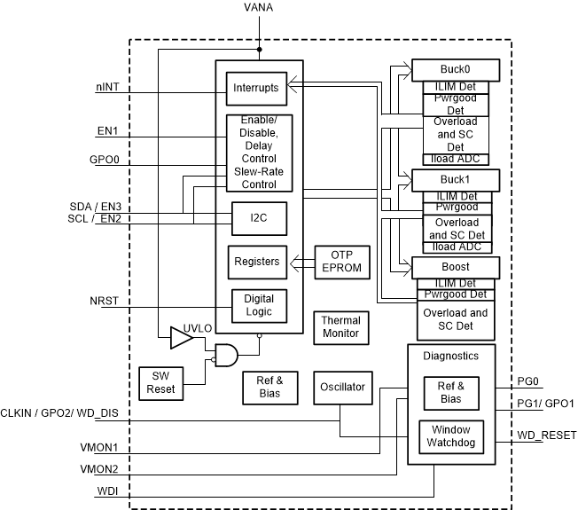
有助于满足最新平台,尤其是汽车雷达和摄像头以及工业雷达应用的电源管理要求。 该器件包含两个降压直流/直流转换器和一个 5V 升压转换器/旁路开关,可支持安全关键型应用。该器件集成了两个用于外部电源的电压监控输入和一个窗口看门狗。

自动 PWM/PFM(AUTO 模式)运行可在降压转换器的较宽输出电流范围内实现较高效率。 采用远程电压检测功能来补偿转换器输出与负载点之间的 IR 压降,从而提高输出电压的精度。

可编程启动和关断排序可支持同步至使能信号,具有通用数字输出。

在启动和电压变化期间,该器件会对输出压摆率进行控制,从而最大限度地减小输出电压过冲和浪涌电流。该器件包含一次性可编程 (OTP) 内存。对于给定的应用,每个可订购器件型号都有特定的 OTP 设置。有关每个可订购器件型号的默认 OTP 配置的详细信息,请参见技术参考手册。

  • 符合面向汽车应用的 AEC-Q100 标准:
    • 器件温度等级 1:–40°C 至 +125°C,TA
  • 功能安全质量管理型
    • 可帮助进行功能安全系统设计的文档
    • 用于外部电压监控的两个输入
    • 两个可编程电源正常信号
    • 用于诊断的专用基准电压
    • 支持复位输出的窗口看门狗
    • 输出短路和过载保护
    • 过热警告和保护
    • 过压保护 (OVP) 和欠压锁定 (UVLO)
  • 两个高效降压直流/直流转换器:
    • 最大输出电流 3.5A
    • 2MHz、3MHz 或 4MHz 开关频率
    • 自动 PWM/PFM 和强制 PWM 工作模式
    • 输出电压范围为 0.7V 至 3.36V
  • 的 5V 升压转换器:
    • 最大输出电流 600mA
  • 外部时钟输入,用于同步
  • 扩频调制
  • 可通过使能信号实现可编程启动、关断延迟与时序控制
  • 可配置通用输出 (GPO)
  • I2C 兼容接口, 支持标准 (100kHz)、快速 (400kHz)、快速+ (1MHz) 和高速 (3.4MHz) 模式
  • 具有可编程屏蔽的中断功能
Regulated outputs (#)3
ConfigurabilityFactory programmable, Software configurable
Vin (min) (V)2.8
Vin (max) (V)5.5
Iout (max) (A)3.5
FeaturesDynamic voltage scaling, Enable, Enable pin, I2C control, Overcurrent protection, Power good, Power sequencing, Power supply and system monitoring, Spread-Spectrum Clock (SSC) Generation, Thermal shutdown, UVLO fixed
TI functional safety categoryFunctional Safety Quality-Managed
Step-up DC/DC converter1
Step-down DC/DC converter2
Step-down DC/DC controller0
Step-up DC/DC controller0
LDO0
Iq (typ) (mA)27
RatingAutomotive
Switching frequency (max) (kHz)4000
Operating temperature range (°C)-40 to 125
Processor supplierTexas Instruments
Processor namemmWave AWR, mmWave IWR
Shutdown current (ISD) (typ) (µA)1
Switching frequency (typ) (kHz)2000
VQFN (RHB)3225 mm² 5 x 5
产品购买
  • 商品型号
  • 封装
  • 工作温度
  • 包装
  • 价格
  • 现货库存
  • 操作
10s
温馨提示:
订单商品问题请移至我的售后服务提交售后申请,其他需投诉问题可移至我的投诉提交,我们将在第一时间给您答复
返回顶部