h1_key

TI(德州仪器) TPS1H200A-Q1
德州仪器 (TI) 全系列产品在线购买
  • TI(德州仪器) TPS1H200A-Q1
  • TI(德州仪器) TPS1H200A-Q1
  • TI(德州仪器) TPS1H200A-Q1
  • TI(德州仪器) TPS1H200A-Q1
  • TI(德州仪器) TPS1H200A-Q1
  • TI(德州仪器) TPS1H200A-Q1
立即查看
您当前的位置: 首页 > 电源管理 > 电源开关 > 高侧开关 > TPS1H200A-Q1
TPS1H200A-Q1

TPS1H200A-Q1

正在供货

具有可调节电流限制的 40V、200mΩ、汽车类单通道智能高侧开关

产品详情
  • 说明
  • 特性
  • 参数
  • 封装 | 引脚 | 尺寸

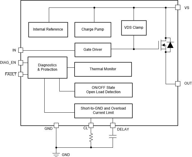
TPS1H200A-Q1 器件是受到全面保护的单通道高侧电源开关,具有集成式 200mΩ NMOS 功率 FET。

可调节电流限制可通过限制浪涌或过载电流来提高系统可靠性。高精度电流限制可增强过载保护,从而简化前沿电源设计。除了电流限制之外,其他可配置特性还能够在功能、成本和热耗散方面提供设计灵活性。

该器件支持对数字状态输出进行全面诊断。在开启和关闭状态下皆可进行开路负载检测。无论是否有 MCU,该器件都能正常工作。独立模式允许隔离型系统使用此器件。

  • 符合汽车应用要求
  • 具有符合 AEC-Q100 标准的下列特性:
    • 器件温度等级 1:–40°C 至 +125°C 环境工作温度范围
    • 器件人体放电模型 (HBM) 静电防护 (ESD) 分类等级 H2
    • 器件 CDM ESD 分类等级 C4B
  • 提供功能安全
    • 可帮助进行功能安全系统设计的文档
  • 单通道 200mω 智能高侧开关
  • 宽工作电压:3.4 V 至 40 V
  • 低于 500nA 的超低待机电流
  • 可调节电流限制(利用外部电阻器)
    • ≥ 500mA 时为 ±15%
    • ≥ 1.5A 时为 ±10%
  • 可配置电流限制后的行为
    • “保持”模式
    • “闭锁”模式(具有可调节的延迟时间)
    • “自动重试”模式
  • 支持独立操作(无需 MCU)
  • 保护:
    • 接地短路和过载保护
    • 热关断和热振荡
    • 用于电感负载的负电压钳位
    • 接地失效保护和失电保护
  • 诊断:
    • 过载和接地短路检测
    • 开路负载和电池短路检测(开启或关闭状态下)
    • 热关断和热振荡
Number of channels1
Operating voltage (max) (V)40
Operating voltage (min) (V)4
Ron (typ) (mΩ)200
Imax (A)2
Current limit (min) (A)0.25
Current limit (max) (A)5
Current limit typeAdjustable
TI functional safety categoryFunctional Safety-Capable
Current limit accuracy+/-15% @ 0.5A
FETInternal
FeaturesDigital output, Programmable current limit, Thermal shutdown
Operating temperature range (°C)-40 to 125
FunctionAdjustable current limit, Automotive load dump compatibility, Inductive load compatibility, Inrush current control, Short circuit protection, Thermal shutdown
RatingAutomotive
HVSSOP (DGN)814.7 mm² 3 x 4.9
产品购买
  • 商品型号
  • 封装
  • 工作温度
  • 包装
  • 价格
  • 现货库存
  • 操作
10s
温馨提示:
订单商品问题请移至我的售后服务提交售后申请,其他需投诉问题可移至我的投诉提交,我们将在第一时间给您答复
返回顶部