h1_key

TI(德州仪器) LP87332A-Q1
德州仪器 (TI) 全系列产品在线购买
  • TI(德州仪器) LP87332A-Q1
  • TI(德州仪器) LP87332A-Q1
  • TI(德州仪器) LP87332A-Q1
  • TI(德州仪器) LP87332A-Q1
  • TI(德州仪器) LP87332A-Q1
  • TI(德州仪器) LP87332A-Q1
立即查看
您当前的位置: 首页 > 电源管理 > 多通道 IC (PMIC) > LP87332A-Q1
LP87332A-Q1

LP87332A-Q1

正在供货

用于 TDA3x 处理器和 DDR3x 的汽车类双路 3A 降压转换器和双路线性稳压器

产品详情
  • 说明
  • 特性
  • 参数
  • 封装 | 引脚 | 尺寸

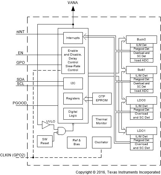
LP87332A-Q1 旨在满足汽车摄像头和雷达应用中新型处理器和平台的电源管理要求。该器件具有两个降压直流/直流转换器、两个线性稳压器以及两个通用数字输出信号。该器件由 I2C 兼容串行接口和使能信号进行控制。

自动 PWM/PFM(AUTO 模式)运行,可在较宽输出电流范围内提供高效率。LP87332A-Q1 支持远程电压感应,可补偿稳压器输出与负载点 (POL) 之间的 IR 压降,从而提高输出电压的精度。此外,可以强制开关时钟进入 PWM 模式以及将其与外部时钟同步,从而更大限度地降低干扰。

LP87332A-Q1 器件还支持可编程启动、关断延迟与时序控制(包括与使能信号同步的 GPO 信号)。在启动和电压变化期间,器件会对输出转换率进行控制,从而更大限度地减小输出电压过冲和浪涌电流。

  • 具有符合 AEC-Q100 标准的下列特性:
    • 器件温度等级 1:–40°C 至 +125°C 环境工作温度范围
  • 输入电压:2.8V 至 5.5V
  • 两个高效降压直流/直流转换器:
    • 输出电压:0.7V 至 3.36V
    • 最大输出电流为 3A
    • 可编程输出电压压摆率范围:0.5mV/µs 至 10mV/µs
    • 2MHz 开关频率
    • 用于降低 EMI 的扩频模式和相位交错
  • 两个线性稳压器:
    • 输入电压:2.5V 至 5.5V
    • 输出电压:0.8V 至 3.3V
    • 最大输出电流为 300mA
  • 可配置通用输出信号(GPO、GPO2)
  • 具有可编程屏蔽的中断功能
  • 可编程电源正常信号 (PGOOD)
  • 输出短路和过载保护
  • 过热警告和保护
  • 过压保护 (OVP) 和欠压锁定 (UVLO)
  • 具有可湿性侧面的 28 引脚、5mm × 5mm VQFN 封装
Regulated outputs (#)4
ConfigurabilitySoftware configurable
Vin (min) (V)2.8
Vin (max) (V)5.5
Iout (max) (A)3
FeaturesEnable pin, I2C control, Power good, Power sequencing, Spread-Spectrum Clock (SSC) Generation, Thermal shutdown, UVLO adjustable
Step-up DC/DC converter0
Step-down DC/DC converter2
Step-down DC/DC controller0
Step-up DC/DC controller0
LDO2
Iq (typ) (mA)0.009
RatingAutomotive
Switching frequency (max) (kHz)2000
Operating temperature range (°C)-40 to 125
Processor supplierTexas Instruments
Processor nameJacinto TDA3x
Switching frequency (typ) (kHz)2000
VQFN (RHD)2825 mm² 5 x 5
产品购买
  • 商品型号
  • 封装
  • 工作温度
  • 包装
  • 价格
  • 现货库存
  • 操作
10s
温馨提示:
订单商品问题请移至我的售后服务提交售后申请,其他需投诉问题可移至我的投诉提交,我们将在第一时间给您答复
返回顶部