h1_key

TI(德州仪器) LP87524B-Q1
德州仪器 (TI) 全系列产品在线购买
  • TI(德州仪器) LP87524B-Q1
  • TI(德州仪器) LP87524B-Q1
  • TI(德州仪器) LP87524B-Q1
  • TI(德州仪器) LP87524B-Q1
  • TI(德州仪器) LP87524B-Q1
  • TI(德州仪器) LP87524B-Q1
立即查看
您当前的位置: 首页 > 电源管理 > 多通道 IC (PMIC) > LP87524B-Q1
LP87524B-Q1

LP87524B-Q1

正在供货

适用于 AWR 和 IWR MMIC 的多相 4MHz、4A/1.8V + 2.5A/2.3V + 1.5A/3.3V + 1.5A/1.2V 降压转换器

产品详情
  • 说明
  • 特性
  • 参数
  • 封装 | 引脚 | 尺寸

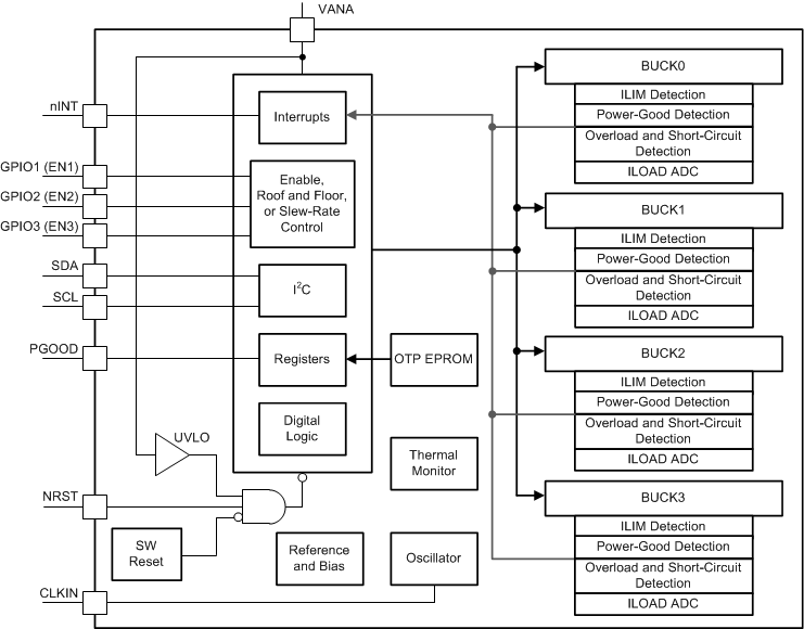
LP87524B/J/P-Q1 专为满足各种汽车电源应用中最新处理器和平台的电源管理要求而 设计。该器件包含四个降压直流/直流转换器内核,这些内核配置为 4 个单相输出。该器件由 I2C 兼容串行接口和使能信号进行控制。

自动 PFM/PWM(AUTO 模式)操作可在较宽输出电流范围内最大限度地提高效率。LP87524B/J/P-Q1 支持远程电压感应,可补偿稳压器输出与负载点 (POL) 之间的 IR 压降,从而提高输出电压的精度。此外,可以强制开关时钟进入 PWM 模式以及将其与外部时钟同步,从而最大限度地降低干扰。

LP87524B/J/P-Q1 器件支持在不添加外部电流感应电阻器的情况下进行负载电流测量。此外,LP87524B/J/P-Q1 还支持与使能信号同步的可编程启动和关断延迟与时序。这些序列可能还包括用于控制外部稳压器、负载开关和处理器复位的 GPIO 信号。在启动和电压变化期间,器件会对输出转换率进行控制,从而最大限度地减小输出电压过冲和浪涌电流。

  • 符合汽车应用 要求
  • 具有符合 AEC-Q100 标准的下列结果:
    • 器件温度 1 级:-40℃ 至 +125℃ 的环境运行温度范围
  • 输入电压:2.8V 至 5.5V
  • 输出电压:0.6V 至 3.36V
  • 四个高效降压直流/直流转换器内核:
    • 总输出电流高达 10A
    • 输出电压转换率 3.8mV/µs
  • 4MHz 开关频率
  • 扩频模式和相位交错
  • 可配置通用 I/O (GPIO)
  • I2C 兼容接口,支持标准 (100kHz)、快速 (400kHz)、快速+ (1MHz) 和高速 (3.4MHz) 四种模式
  • 具有可编程屏蔽的中断功能
  • 可编程电源正常信号 (PGOOD)
  • 输出短路和过载保护
  • 过热警告和保护
  • 过压保护 (OVP) 和欠压锁定 (UVLO)
Regulated outputs (#)4
ConfigurabilityFactory programmable, Software configurable
Vin (min) (V)2.8
Vin (max) (V)5.5
Iout (max) (A)3
FeaturesDiagnostics, Dynamic voltage scaling, Enable, I2C control, Overcurrent protection, Power good, Power sequencing, Spread-Spectrum Clock (SSC) Generation, Thermal shutdown, UVLO fixed
Step-up DC/DC converter0
Step-down DC/DC converter4
Step-down DC/DC controller0
Step-up DC/DC controller0
LDO0
Iq (typ) (mA)0.0067
RatingAutomotive
Switching frequency (max) (kHz)4400
Operating temperature range (°C)-40 to 125
Processor supplierTexas Instruments
Processor namemmWave AWR
Shutdown current (ISD) (typ) (µA)1.4
Switching frequency (typ) (kHz)4000
VQFN-HR (RNF)2618 mm² 4.5 x 4
产品购买
  • 商品型号
  • 封装
  • 工作温度
  • 包装
  • 价格
  • 现货库存
  • 操作
10s
温馨提示:
订单商品问题请移至我的售后服务提交售后申请,其他需投诉问题可移至我的投诉提交,我们将在第一时间给您答复
返回顶部