h1_key

TI(德州仪器) TPS63070
德州仪器 (TI) 全系列产品在线购买
  • TI(德州仪器) TPS63070
  • TI(德州仪器) TPS63070
  • TI(德州仪器) TPS63070
  • TI(德州仪器) TPS63070
  • TI(德州仪器) TPS63070
  • TI(德州仪器) TPS63070
立即查看
您当前的位置: 首页 > 电源管理 > 直流/直流开关稳压器 > 降压/升压和反相稳压器 > TPS63070
TPS63070

TPS63070

正在供货

宽输入电压(2V 至 16V)降压/升压转换器

产品详情
  • 说明
  • 特性
  • 参数
  • 封装 | 引脚 | 尺寸

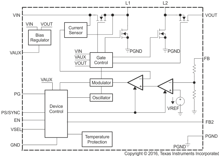
TPS6307x 是一款具有低静态电流的高效降压-升压转换器,适用于 那些 输入电压可能高于或低于输出电压的应用。在升压或降压模式下,输出电流可高达 2A。此降压-升压转换器基于一个固定频率、脉宽调制 (PWM) 控制器,此控制器通过使用同步整流来获得最高效率。在低负载电流情况下,此转换器进入省电模式以在宽负载电流范围内保持高效率。转换器可被禁用以最大限度地减少电池消耗。在关断期间,负载从电池上断开。此器件采用 2.5mm x 3mm QFN 封装。

  • 输入电压范围:2.0V 至 16V
  • 输出电压范围:2.5V 至 9V
  • 效率高达 95%
  • 脉宽调制 (PWM) 模式下的直流精度为 +/-1%
  • 脉频调制 (PFM) 模式下的直流精度为 +3%/-1%
  • 降压模式下的输出电流为 2A
  • 升压模式下的输出电流为 2A
    (VIN = 4V;Vout = 5V)
  • 精密使能输入可实现
    • 用户定义的欠压闭锁
    • 准确排序
  • 在降压和升压模式之间实现自动转换
  • 器件静态电流典型值:50µA
  • 具有固定和可调输出电压选项
  • 具有输出放电选项
  • 省电模式可提高低输出功率时的效率
  • 2.4MHz 强制固定运行频率和同步选项
  • 电源正常输出
  • 可通过 VSEL 轻松更改输出电压
  • 关断期间负载断开
  • 过热保护
  • 输入/输出过压保护
  • 采用四方扁平无引线 (QFN) 封装
TopologyBuck-Boost
Vin (min) (V)2
Vin (max) (V)16
Vout (max) (V)5, 9
Vout (min) (V)2.5, 5
Duty cycle (max) (%)100
FeaturesDynamic Voltage Scaling, Enable, Frequency synchronization, Light Load Efficiency, Load Disconnect, Output discharge, Power good, Synchronous Rectification, UVLO Fixed, Voltage Margining
Switch current limit (typ) (A)3.6
Switching frequency (min) (kHz)2100
Switching frequency (max) (kHz)2800
Iq (typ) (mA)0.05
Iout (max) (A)2
RatingCatalog
Operating temperature range (°C)-40 to 125
TypeConverter
VQFN-HR (RNM)157.5 mm² 3 x 2.5
产品购买
  • 商品型号
  • 封装
  • 工作温度
  • 包装
  • 价格
  • 现货库存
  • 操作
10s
温馨提示:
订单商品问题请移至我的售后服务提交售后申请,其他需投诉问题可移至我的投诉提交,我们将在第一时间给您答复
返回顶部