h1_key

TI(德州仪器) TPS4H160-Q1
德州仪器 (TI) 全系列产品在线购买
  • TI(德州仪器) TPS4H160-Q1
  • TI(德州仪器) TPS4H160-Q1
  • TI(德州仪器) TPS4H160-Q1
  • TI(德州仪器) TPS4H160-Q1
  • TI(德州仪器) TPS4H160-Q1
  • TI(德州仪器) TPS4H160-Q1
立即查看
您当前的位置: 首页 > 电源管理 > 电源开关 > 高侧开关 > TPS4H160-Q1
TPS4H160-Q1

TPS4H160-Q1

正在供货

具有可调节电流限制的 40V、160mΩ、4 通道汽车类智能高侧开关

产品详情
  • 说明
  • 特性
  • 参数
  • 封装 | 引脚 | 尺寸

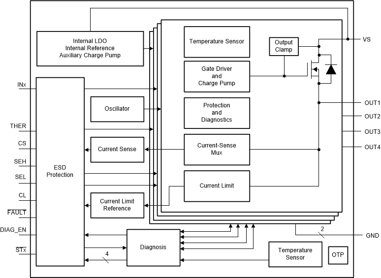
TPS4H160-Q1 器件是一款集成四个 160mΩ N 型金属氧化物半导体 (NMOS) 功率场效应晶体管 (FET) 且受到全方位保护的四通道智能高侧开关。

该器件具有丰富的诊断功能以及高精度电流感测功能,能够对负载实施智能控制。

该器件可从外部调节电流限值以限制浪涌或过载电流,从而提升整个系统的可靠性。

  • 符合汽车类应用 要求
  • 具有符合 AEC-Q100 标准的下列特性:
    • 器件温度等级 1:–40°C 至 +125°C 的环境工作温度范围
    • 器件 HBM ESD 分类等级 H3A
    • 器件 CDM ESD 分类等级 C4B
  • 提供功能安全
    • 提供文档以帮助创建功能安全系统设计
  • 具有丰富诊断功能的四通道 160mΩ 智能高侧开关
    • 版本 A:开漏数字输出
    • 版本 B:电流感应模拟输出
  • 宽工作电压范围:3.4V 至 40V
  • 超低待机电流:< 500nA
  • 高精度电流感测:> 25mA 的负载条件下为 ±15%
  • 可使用外部电阻调节电流限值,> 500mA 的负载条件下为 ±15%
  • 保护
    • 通过(内部或外部)电流限制实现接地短路保护
    • 具有锁闭选项的热关断以及热调节
    • 感性负载负电压钳位,已优化转换率
    • 失地保护和失电保护
  • 诊断
    • 过流和接地短路检测
    • 负载开路和电池短路检测
    • 用于实现快速中断的全局故障报告
  • 28 引脚耐热增强型 PWP 封装
Number of channels4
Operating voltage (max) (V)40
Operating voltage (min) (V)4
Ron (typ) (mΩ)160
Imax (A)2.5
Current limit (min) (A)0.25
Current limit (max) (A)7
Current limit typeAdjustable
TI functional safety categoryFunctional Safety-Capable
Current limit accuracy+/- 15% @ 0.5A
Current sense accuracy+/- 3.25mA@ 5mA
FETCurrent sense/monitor, Digital output, Thermal shutdown, Under voltage lock out
FeaturesCurrent sense/monitor, Digital output, Thermal shutdown, Under voltage lock out
Operating temperature range (°C)-40 to 125
FunctionAdjustable current limit, Automotive load dump compatibility, Current monitoring, Inductive load compatibility, Inrush current control, Short circuit protection, Thermal shutdown
RatingAutomotive
HTSSOP (PWP)2862.08 mm² 9.7 x 6.4
产品购买
  • 商品型号
  • 封装
  • 工作温度
  • 包装
  • 价格
  • 现货库存
  • 操作
10s
温馨提示:
订单商品问题请移至我的售后服务提交售后申请,其他需投诉问题可移至我的投诉提交,我们将在第一时间给您答复
返回顶部