h1_key

TI(德州仪器) TPS65632
德州仪器 (TI) 全系列产品在线购买
  • TI(德州仪器) TPS65632
  • TI(德州仪器) TPS65632
  • TI(德州仪器) TPS65632
  • TI(德州仪器) TPS65632
  • TI(德州仪器) TPS65632
  • TI(德州仪器) TPS65632
立即查看
您当前的位置: 首页 > 电源管理 > LCD 和 OLED 显示电源和驱动器 > TPS65632
TPS65632

TPS65632

正在供货

三路输出 AMOLED 显示电源

产品详情
  • 说明
  • 特性
  • 参数
  • 封装 | 引脚 | 尺寸

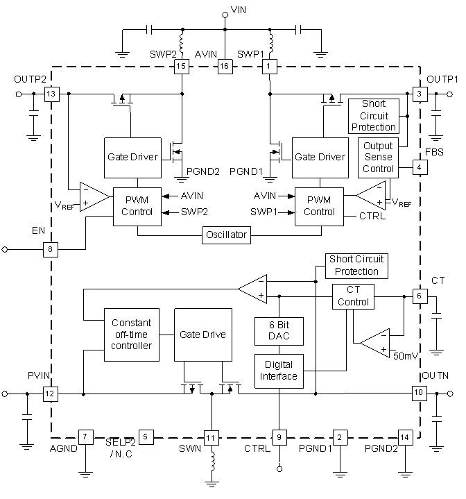
TPS65632 设计用于驱动需要 3 个电源轨(VPOS、VNEG 和 AVDD)的有源矩阵有机发光二极管 (AMOLED) 显示屏。 该器件分别为 VPOS、VNEG 和 AVDD 集成了升压转换器、反向降压-升压转换器以及升压转换器,这些转换器均适用于电池供电产品。 数字控制引脚 (CTRL) 允许用数字步长设定负输出电压。 TPS65632 采用全新技术,可提供出色的线路与负载调节性能。

  • 2.9V 至 4.5V 输入电压范围
  • 升压转换器 1 (VPOS)
    • 4.6V 输出电压
    • 0.5% 精度(25°C 至 85°C)
    • 专用输出感测引脚
    • 300mA 输出电流
  • 反向降压-升压转换器 (VNEG)
    • –1.5V 至 5.4V 可编程输出电压
    • –4V 默认输出电压
    • 300mA 输出电流
  • 升压转换器 2 (AVDD)
    • 5.8V 或 7.7V 输出电压
    • 30mA 输出电流
  • 出色的线路瞬态稳压
  • 短路保护功能
  • 热关断
  • 3mm × 3mm 16 引脚超薄型四方扁平无引线 (WQFN) 封装

应用范围

    AMOLED 显示屏

Display typeAMOLED
IC integrationAMOLED bias
Vin (min) (V)2.9
Vin (max) (V)4.5
Applications7 inches or less
Source driver voltage (min) (V)5.8
Source driver voltage (max) (V)7.7
Level shifter/scan driver (Ch)0
V_POS (min) (V)4.6
V_POS (max) (V)4.6
V_NEG (min) (V)-5.4
V_NEG (max) (V)-1.4
FeaturesDigital control interface
TopologyBoost, Buck-Boost
RatingCatalog
Operating temperature range (°C)-40 to 85
WQFN (RTE)169 mm² 3 x 3
产品购买
  • 商品型号
  • 封装
  • 工作温度
  • 包装
  • 价格
  • 现货库存
  • 操作
10s
温馨提示:
订单商品问题请移至我的售后服务提交售后申请,其他需投诉问题可移至我的投诉提交,我们将在第一时间给您答复
返回顶部