h1_key

TI(德州仪器) TPS61169
德州仪器 (TI) 全系列产品在线购买
  • TI(德州仪器) TPS61169
  • TI(德州仪器) TPS61169
  • TI(德州仪器) TPS61169
  • TI(德州仪器) TPS61169
  • TI(德州仪器) TPS61169
  • TI(德州仪器) TPS61169
立即查看
您当前的位置: 首页 > 电源管理 > LED 驱动器 > 背光 LED 驱动器 > TPS61169
TPS61169

TPS61169

正在供货

TPS61169 38V 高电流升压 WLED 驱动器

产品详情
  • 说明
  • 特性
  • 参数
  • 封装 | 引脚 | 尺寸

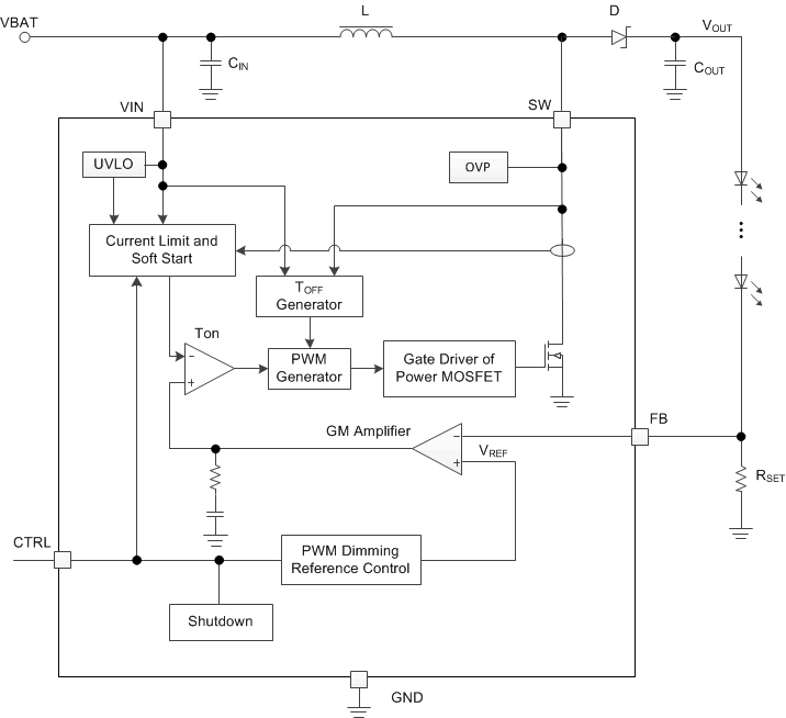
TPS61169 是一款升压转换器,配有额定电压为 40V 的集成开关场效应晶体管 (FET),可驱动 LED 串。 该升压转换器内部具有一个 40V、1.8A 金属氧化物半导体场效应晶体管 (MOSFET),电流下限为 1.2A,可针对小型或大型面板背光照明驱动单个 LED 或 LED 串。 默认的白色 LED 电流通过外部传感器电阻 RSET 设定,反馈电压稳压至 204mV,如 所示。 运行期间,LED 电流可通过施加到 CTRL 引脚上的脉宽调制 (PWM) 信号加以控制,该信号的占空比决定反馈基准电压。 TPS61169 不会突发 LED 电流,因此不会在输出电容器上产生可闻噪声。 为提供最佳保护,该器件集成了 LED 开路保护特性,该特性会在 LED 开路状态下禁用 TPS61169,以防止输出电压超过 IC 最大绝对额定电压。

TPS61169 采用节省空间的 5 引脚 SC70 封装。

  • 2.7V 至 5.5V 输入电压
  • 集成 40V、1.8A 金属氧化物半导体场效应晶体管 (MOSFET)
  • 高达 38V 的 LED 串驱动电压
  • 1.2A 开关电流下限
  • 1.2MHz 开关频率
  • 204mV 基准电压
  • 内部补偿
  • PWM 亮度控制
  • LED 开路保护
  • 欠压保护
  • 内置软启动
  • 热关断
  • 效率高达 90%

应用

  • 智能手机背光照明
  • 平板电脑背光照明
  • PDA、掌上电脑、GPS 接收器
  • 便携式媒体播放器,便携式电视
  • 针对小尺寸媒体播放器的白色 LED 背光照明

All trademarks are the property of their respective owners.

Number of channels1
Vin (min) (V)2.7
Vin (max) (V)5.5
Vout (min) (V)2.7
Vout (max) (V)38
TypeInductive
Switching frequency (max) (kHz)1500
Duty cycle (max) (%)100
LED current per channel (mA)400
Peak efficiency (%)90
TopologyBoost
FeaturesOVP, PWM control
Operating temperature range (°C)-40 to 85
RatingCatalog
SOT-SC70 (DCK)54.2 mm² 2 x 2.1
产品购买
  • 商品型号
  • 封装
  • 工作温度
  • 包装
  • 价格
  • 现货库存
  • 操作
10s
温馨提示:
订单商品问题请移至我的售后服务提交售后申请,其他需投诉问题可移至我的投诉提交,我们将在第一时间给您答复
返回顶部