h1_key

TI(德州仪器) LM3697
德州仪器 (TI) 全系列产品在线购买
  • TI(德州仪器) LM3697
  • TI(德州仪器) LM3697
  • TI(德州仪器) LM3697
  • TI(德州仪器) LM3697
  • TI(德州仪器) LM3697
  • TI(德州仪器) LM3697
立即查看
您当前的位置: 首页 > 电源管理 > LED 驱动器 > 背光 LED 驱动器 > LM3697
LM3697

LM3697

正在供货

具有 11 位指数调光的 3 串背光驱动器

产品详情
  • 说明
  • 特性
  • 参数
  • 封装 | 引脚 | 尺寸

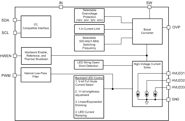
LM3697 11 位 LED 驱动器以高达 90% 的传送效率为 1,2 或 3 串联 LED 灯串提供高性能背光调光功能。具有集成 1A,40V MOSFET 的升压转换器自动调节至 LED 正向电压,以最大限度地减少净空电压并有效提升 LED 效率。

LM3697 是一款针对智能手机内背光或键区 LED 的高效三灯串电源。高压电感升压转换器为三个串联 LED 灯串提供电源,用于实现显示屏背光和键盘功能(HVLED1、HVLED2 和 HVLED3)。

附加功能包括用于内容可调背光控制的脉宽调制 (PWM) 控制输入,该功能可控制所有高电压电流阱。

LM3697 可通过兼容 I2C 的接口实现完全可配置。该器件的工作输入电压范围为
2.7V 至 5.5V,温度范围为 −40°C 至 +85°C。

  • 可驱动三个并联高压 LED 灯串,用于显示屏和键盘照明
  • 高压灯串的输入电压高达 40V,效率高达 90%
  • 灌电流高达 30mA
  • 11 位可配置调光分辨率
  • 用于内容可调亮度控制 (CABC) 的 PWM 输入
  • 完全可配置的 LED 分组和控制
  • 集成 1A/40V MOSFET
  • 自适应升压输出至 LED 电压
  • 可选 500kHz 和 1MHz 开关频率
  • 四种可配置过压保护阈值(16V、24V、32V 和 40V)
  • 过流保护
  • 热关断保护
  • 总解决方案尺寸为 29mm2
Number of channels3
Vin (min) (V)2.7
Vin (max) (V)5.5
Vout (min) (V)0
Vout (max) (V)40
TypeInductive
Switching frequency (max) (kHz)1100
Duty cycle (max) (%)94
LED current per channel (mA)30
Peak efficiency (%)91
TopologyBoost
FeaturesI2C control, OVP, PWM control
Operating temperature range (°C)-40 to 125
RatingCatalog
DSBGA (YFQ)122.52000000000000018 mm² 1.8 x 1.4000000000000001
产品购买
  • 商品型号
  • 封装
  • 工作温度
  • 包装
  • 价格
  • 现货库存
  • 操作
10s
温馨提示:
订单商品问题请移至我的售后服务提交售后申请,其他需投诉问题可移至我的投诉提交,我们将在第一时间给您答复
返回顶部