h1_key

TI(德州仪器) TLV710-Q1
德州仪器 (TI) 全系列产品在线购买
  • TI(德州仪器) TLV710-Q1
  • TI(德州仪器) TLV710-Q1
  • TI(德州仪器) TLV710-Q1
  • TI(德州仪器) TLV710-Q1
  • TI(德州仪器) TLV710-Q1
  • TI(德州仪器) TLV710-Q1
立即查看
您当前的位置: 首页 > 电源管理 > 线性和低压降 (LDO) 稳压器 > TLV710-Q1
TLV710-Q1

TLV710-Q1

正在供货

具有使能功能的汽车类、200mA、高 PSRR、双通道低压降稳压器

产品详情
  • 说明
  • 特性
  • 参数
  • 封装 | 引脚 | 尺寸

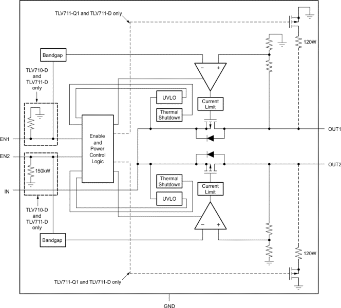
The TLV7103318-Q1 and TLV7101828-Q1 family of dual, low-dropout (LDO) linear regulators are low quiescent current devices with excellent line and load transient performance. These LDOs are designed for power-sensitive applications. These devices provide a typical accuracy of 2% over temperature.

The TLV7103318-Q1 and TLV7101828-Q1 family are available in a 1,5-mm × 1,5-mm SON-6 package, and are ideal for handheld applications.

  • Qualified for Automotive Applications
  • AEC-Q100 Qualified With the Following Results:
    • Device Temperature Grade 1: –40°C to 125°C Ambient
      Operating Temperature Range
    • Device HBM ESD Classification Level H2
    • Device CDM ESD Classification Level C4B
  • Very Low Dropout:
    • 150 mV at IOUT = 200 mA and VOUT = 2.8 V
    • 75 mV at IOUT = 100 mA and VOUT = 2.8 V
    • 40 mV at IOUT = 50 mA and VOUT = 2.8 V
  • 2% Accuracy Over Temperature
  • Low IQ of 35 μA per Regulator
  • Multiple Fixed-Output Voltage Combinations Possible from 1.2 V to 4.8 V
  • High PSRR: 70 dB at 1kHz
  • Stable With Effective Capacitance of 0.1 µF(1)
  • Overcurrent and Thermal Protection
  • Dedicated VREF for Each Output Minimizes Crosstalk
  • Available in 1.5mm × 1.5mm SON-6 Package
Output optionsDual output, Fixed Output
Iout (max) (A)0.2
Vin (max) (V)5.5
Vin (min) (V)2
Vout (max) (V)2.8
Vout (min) (V)1.8
Fixed output options (V)1.8, 2.8, 3.3
Noise (µVrms)48
Iq (typ) (mA)0.36
Thermal resistance θJA (°C/W)191
RatingAutomotive
Load capacitance (min) (µF)0.1
Regulated outputs (#)2
FeaturesEnable
Accuracy (%)2
PSRR at 100 KHz (dB)50
Dropout voltage (Vdo) (typ) (mV)140
Operating temperature range (°C)-40 to 125
WSON (DSE)62.25 mm² 1.5 x 1.5
产品购买
  • 商品型号
  • 封装
  • 工作温度
  • 包装
  • 价格
  • 现货库存
  • 操作
10s
温馨提示:
订单商品问题请移至我的售后服务提交售后申请,其他需投诉问题可移至我的投诉提交,我们将在第一时间给您答复
返回顶部