h1_key

TI(德州仪器) TPS62177
德州仪器 (TI) 全系列产品在线购买
  • TI(德州仪器) TPS62177
  • TI(德州仪器) TPS62177
  • TI(德州仪器) TPS62177
  • TI(德州仪器) TPS62177
  • TI(德州仪器) TPS62177
  • TI(德州仪器) TPS62177
立即查看
您当前的位置: 首页 > 电源管理 > 直流/直流开关稳压器 > 降压稳压器 > TPS62177
TPS62177

TPS62177

正在供货

具有贪睡模式的 28V、0.5A 降压转换器

产品详情
  • 说明
  • 特性
  • 参数
  • 封装 | 引脚 | 尺寸

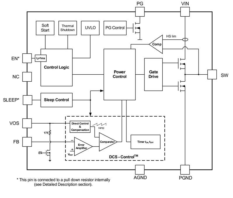
TPS62175/7 是一款高效同步降压 DC-DC 转换器,此转换器基于分布式控制系统 (DCS) - 控制的降压转换器 拓扑技术。

借助于 4.75V 至 28V 的宽工作输入电压,此器件非常适合于由多节锂离子电池以及 12V 和更高阻抗电源轨供电的系统,从而提供高达 500mA 的输出电流。

TPS62175/7 在轻负载时自动进入节能模式,以在整个负载范围内保持高效率。 此外,它特有一个为具有高级节能模式的应用(像超低功耗微控制器)供电的睡眠模式。 电源正常输出可被用于电源排序和/或者加电复位。

此器件在正常模式特有一个典型值为 22uA 的静态电流,在睡眠模式中此电流值为 4.8uA。 In Sleep Mode, the efficiency at very low load currents can be increased by as much as 20%. 在关断模式中,关断电流少于 2uA 并且输出被有源放电。

提供可调和固定输出电压版本的 TPS62175/7 采用一个小型 2mm x 3mm 10 引脚 WSON 封装。

  • 分布式控制系统 (DCS) - 控制的降压转换器 拓扑技术
  • 输入电压范围 4.75V 至 28V
  • 静态电流典型值4.8µA(睡眠模式)
  • 100% 占空比模式
  • 有源输出放电
  • 电源正常输出
  • 500mA 输出电流
  • 输出电压范围为 1V 至 6V
  • 典型值为 1MHz 的开关频率
  • 无缝省电模式转换
  • 欠压闭锁
  • 短路保护
  • 过热保护
  • 采用 2mm x 3mm 10 引脚晶圆级小外形尺寸无引线 (WSON) 封装
Vin (min) (V)4.7
Vin (max) (V)28
Vout (min) (V)3.3
Vout (max) (V)3.3
Iout (max) (A)0.5
Iq (typ) (mA)0.0048
Switching frequency (min) (kHz)1000
Switching frequency (max) (kHz)1000
FeaturesEnable, Light Load Efficiency, Output discharge, Power good, Synchronous Rectification
Operating temperature range (°C)-40 to 85
RatingCatalog
Regulated outputs (#)1
Control modeConstant on-time (COT), DCS-Control
Duty cycle (max) (%)100
TypeConverter
WSON (DQC)106 mm² 3 x 2
产品购买
  • 商品型号
  • 封装
  • 工作温度
  • 包装
  • 价格
  • 现货库存
  • 操作
10s
温馨提示:
订单商品问题请移至我的售后服务提交售后申请,其他需投诉问题可移至我的投诉提交,我们将在第一时间给您答复
返回顶部