h1_key

TI(德州仪器) LP8556
德州仪器 (TI) 全系列产品在线购买
  • TI(德州仪器) LP8556
  • TI(德州仪器) LP8556
  • TI(德州仪器) LP8556
  • TI(德州仪器) LP8556
  • TI(德州仪器) LP8556
  • TI(德州仪器) LP8556
立即查看
您当前的位置: 首页 > 电源管理 > LED 驱动器 > 背光 LED 驱动器 > LP8556
LP8556

LP8556

正在供货

6 通道高效 LED 背光驱动器

产品详情
  • 说明
  • 特性
  • 参数
  • 封装 | 引脚 | 尺寸

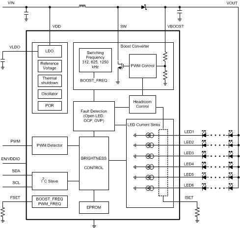
LP8556 器件是具有异步升压转换器和可由 PWM 信号或 I2C 主器件控制的六路高精度电流阱的白色 LED 驱动器。

升压转换器采用自适应输出电压控制,可为 LED 驱动器在 7V 至 43V 之间设置最佳电压。这一特性可将输出电压调整为满足所有条件的最低级别,从而最大限度地减少功耗。转换器可以在三个开关频率下工作:312kHz、625kHz 和 1250kHz,开关频率可以使用外部电阻器进行设置或通过 EPROM 进行预配置。可编程转换率控制和扩展频谱方案最大限度地减小了开关噪声并提高了 EMI 性能。

PWM 调光分辨率高达 15 位,可用于设定 LED 灌流。专有自适应调光模式,能够更大程度地节省系统能耗。此外,相移 LED PWM 调光功能减小了可闻噪声并且允许采用更小的升压输出电容。

LP8556 器件还具有完整的故障保护 特性, 确保器件和外部组件可靠运行。其中包括输入欠压锁定 (UVLO)、热关断 (TSD)、过流保护 (OCP)、最高 6 级过压保护 (OVP)、LED 开路和短路检测。

LP8556 的工作环境温度范围为 -30°C 至 +85°C。它采用节省空间的 20 引脚 DSBGA 封装和 24 散热垫 WQFN 封装。

  • 高效直流/直流升压转换器,具有集成式 0.19Ω 功率 MOSFET 和三个开关频率选项:312kHz、625kHz 和 1250kHz
  • 2.7V 至 36V 升压开关输入电压范围支持多节锂离子电池
    (2.7V 至 20V VDD 输入范围)
  • 7V 至 43V 升压开关输出电压范围可支持低至 3 个、高至 12 个每通道串联 WLED
  • 可配置通道数(1 至 6 个)
  • 每通道高达 50mA
  • PWM 和/或 I2C 亮度控制
  • 相移 PWM 模式降低了可闻噪声
  • 自适应调光,可获得更高的 LED 驱动光学效率
  • 可编程边沿速率控制和扩频方案可最大限度减少开关噪声并提升 EMI 性能
  • LED 故障(短路和开路)检测、UVLO、TSD、OCP 和 OVP(多达 6 个阈值选项)
  • 采用小型 20 引脚、0.4mm 间距 DSBGA 封装和 24 引脚、0.5mm 间距 WQFN 封装
Number of channels6
Vin (min) (V)2.7
Vin (max) (V)20
Vout (min) (V)7
Vout (max) (V)48
TypeInductive
Switching frequency (max) (kHz)1250
Duty cycle (max) (%)100
LED current per channel (mA)50
Peak efficiency (%)95
TopologyBoost
FeaturesI2C control
Operating temperature range (°C)-30 to 85
RatingCatalog
DSBGA (YFQ)203.96 mm² 2.2 x 1.8
WQFN (RTW)2416 mm² 4 x 4
产品购买
  • 商品型号
  • 封装
  • 工作温度
  • 包装
  • 价格
  • 现货库存
  • 操作
10s
温馨提示:
订单商品问题请移至我的售后服务提交售后申请,其他需投诉问题可移至我的投诉提交,我们将在第一时间给您答复
返回顶部