h1_key

TI(德州仪器) LM3532
德州仪器 (TI) 全系列产品在线购买
  • TI(德州仪器) LM3532
  • TI(德州仪器) LM3532
  • TI(德州仪器) LM3532
  • TI(德州仪器) LM3532
  • TI(德州仪器) LM3532
  • TI(德州仪器) LM3532
立即查看
您当前的位置: 首页 > 电源管理 > LED 驱动器 > 背光 LED 驱动器 > LM3532
LM3532

LM3532

正在供货

具有可编程环境光感应功能和 I2C 兼容接口的高效白光 LED 驱动器

产品详情
  • 说明
  • 特性
  • 参数
  • 封装 | 引脚 | 尺寸

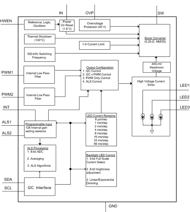
The LM3532 is a 500-kHz fixed frequency asynchronous boost converter which provides the power for 3 high-voltage, low-side current sinks. The device is programmable over an I2C-compatible interface and has independent current control for all three channels. The adaptive current regulation method allows for different LED currents in each current sink thus allowing for a wide variety of backlight and keypad applications.

The main features of the LM3532 include dual ambient light sensor inputs each with 32 internal voltage setting resistors, 8-bit logarithmic and linear brightness control, dual external PWM brightness control inputs, and up to 1000:1 dimming ratio with programmable fade in and fade out settings.

The LM3532 is available in a 16-pin, 0.4-mm pitch thin DSBGA package. The device operates over a 2.7-V to 5.5-V input voltage range and the −40°C to +85°C temperature range.

  • Drives up to 3 Parallel High-Voltage LED Strings
    at 40 V Each With up to 90% Efficiency
  • 0.4% Typical Current Matching Between Strings
  • 256 Level Logarithmic and Linear Brightness
    Control With 14-Bit Equivalent Dimming
  • I2C-Compatible Interface
  • Direct Read Back of Ambient Light Sensor Via
    8-bit ADC
  • Programmable Dual Ambient Light Sensor Inputs
    With Internal Sensor Gain Selection
  • Dual External PWM Inputs for LED Brightness
    Adjustment
  • Independent Current String Brightness Control
  • Programmable LED Current Ramp Rates
  • 40-V Overvoltage Protection
  • 1-A Typical Current Limit
Number of channels3
Vin (min) (V)2.7
Vin (max) (V)5.5
Vout (min) (V)0
Vout (max) (V)40
TypeInductive
Switching frequency (max) (kHz)500
Duty cycle (max) (%)94
LED current per channel (mA)30
Peak efficiency (%)89
TopologyBoost
FeaturesOVP
Operating temperature range (°C)-40 to 125
RatingCatalog
DSBGA (YFQ)163.24 mm² 1.8 x 1.8
产品购买
  • 商品型号
  • 封装
  • 工作温度
  • 包装
  • 价格
  • 现货库存
  • 操作
10s
温馨提示:
订单商品问题请移至我的售后服务提交售后申请,其他需投诉问题可移至我的投诉提交,我们将在第一时间给您答复
返回顶部