h1_key

TI(德州仪器) BUF08630
德州仪器 (TI) 全系列产品在线购买
  • TI(德州仪器) BUF08630
  • TI(德州仪器) BUF08630
  • TI(德州仪器) BUF08630
  • TI(德州仪器) BUF08630
  • TI(德州仪器) BUF08630
  • TI(德州仪器) BUF08630
立即查看
您当前的位置: 首页 > 电源管理 > LCD 和 OLED 显示电源和驱动器 > BUF08630
BUF08630

BUF08630

正在供货

具有可调增益 Vcom 和 1/2 AVDD 拓扑的 8 通道伽马电压发生器

产品详情
  • 说明
  • 特性
  • 参数
  • 封装 | 引脚 | 尺寸

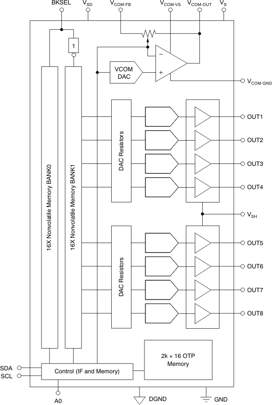
The BUF08630 offers eight programmable gamma channels and one programmable VCOM channel.

The final gamma and VCOM values can be stored in the on-chip, nonvolatile memory. To allow for programming errors or liquid crystal display (LCD) panel rework, the BUF08630 supports up to 16 write operations to the on-chip memory.

The BUF08630 has two separate memory banks, allowing simultaneous storage of two different gamma curves to facilitate switching between gamma curves.

All gamma and VCOM channels offer a rail-to-rail output that typically swings to within 150 mV of either supply rail with a 10-mA load. All channels are programmed using a two-wire interface that supports standard operations up to 400 kHz, and high-speed data transfers up to 3.4 MHz.

The BUF08630 is manufactured using Texas Instruments’ proprietary, state-of-the-art, high-voltage CMOS process. This process offers very dense logic and high supply voltage operation of up to 20V. The BUF08630 is available in a 20-pin QFN package, and is specified from –40°C to +95°C.

  • 10-Bit Resolution
  • 8-Channel P-Gamma
  • 1-Channel P-VCOM
  • High Slew Rate VCOM: 45 V/µs
  • 16x Rewritable Nonvolatile Memory
  • Two Independent Pin-Selectable Memory Banks
  • Rail-to-Rail Output:
    • 300 mV Min Swing-to-Rail (10 mA)
    • > 300 mA Max IOUT
  • Low Supply Current
  • Supply Voltage: 9 V to 20 V
  • Digital Supply: 2 V to 5.5 V
  • Two-Wire Interface:
    • Supports 400 kHz and 3.4 MHz
  • 1/2 AVDD Capability
  • APPLICATIONS
    • TFT-LCD Reference Drivers

All other trademarks are the property of their respective owners

Display typeLCD unipolar
IC integrationGamma buffer, VCOM
Vin (min) (V)9
Vin (max) (V)20
Applications13 to 21 inches, 21 inches and above, 7 inches or less, 7 to 13 inches
Source driver voltage (min) (V)9
Source driver voltage (max) (V)20
Level shifter/scan driver (Ch)0
FeaturesGamma buffer, I2C interface, VCOM or op amp
RatingCatalog
Operating temperature range (°C)-40 to 95
VQFN (RGW)2025 mm² 5 x 5
产品购买
  • 商品型号
  • 封装
  • 工作温度
  • 包装
  • 价格
  • 现货库存
  • 操作
10s
温馨提示:
订单商品问题请移至我的售后服务提交售后申请,其他需投诉问题可移至我的投诉提交,我们将在第一时间给您答复
返回顶部