h1_key

TI(德州仪器) TPS61071-Q1
德州仪器 (TI) 全系列产品在线购买
  • TI(德州仪器) TPS61071-Q1
  • TI(德州仪器) TPS61071-Q1
  • TI(德州仪器) TPS61071-Q1
  • TI(德州仪器) TPS61071-Q1
  • TI(德州仪器) TPS61071-Q1
  • TI(德州仪器) TPS61071-Q1
立即查看
您当前的位置: 首页 > 电源管理 > 直流/直流开关稳压器 > 升压稳压器 > TPS61071-Q1
TPS61071-Q1

TPS61071-Q1

正在供货

采用 ThinSOT-23 封装且具有强制 PWM 模式的可调节 600mA 开关、1200kHz 升压转换器

产品详情
  • 说明
  • 特性
  • 参数
  • 封装 | 引脚 | 尺寸

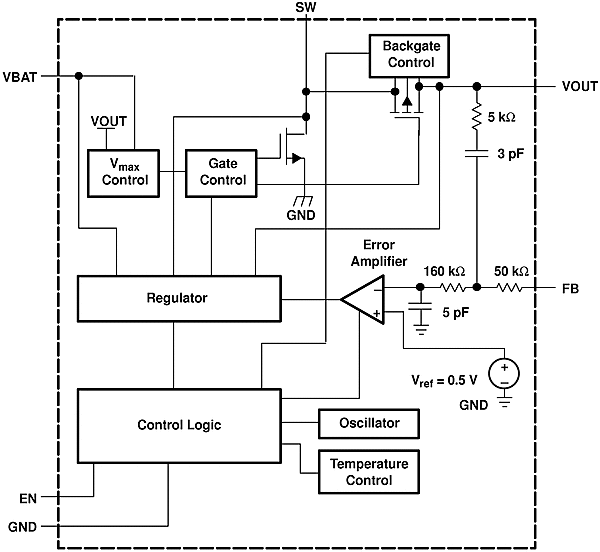
The TPS61071-Q1 device provides a power supply solution for products powered by lower-voltage DC rails or a one-cell, two-cell, or three-cell alkaline, NiCd or NiMH, or one-cell Li-ion or Li-polymer battery. Output currents can go as high as 75 mA, while using a single-cell alkaline, and discharge down to 0.9 V. The device can also generate 5 V at 200 mA from a 3.3-V rail or a Li-ion battery. The boost converter is based on a fixed frequency, pulse-width-modulation (PWM) controller using a synchronous rectifier to obtain maximum efficiency. The maximum peak current in the boost switch is limited typically to a value of 600 mA.

The TPS61071-Q1 output voltage is programmed by an external resistor divider. To minimize battery drain, disable the converter. During shutdown, the load disconnects from the battery. The device package is a 6-pin thin SOT package (DDC).

  • Qualified for Automotive Applications
  • AEC-Q100 Qualified With the Following Results:
    • Device Temperature Grade 2: –40°C to 105°C
      Ambient Operating Temperature Range
    • Device HBM Classification Level 1C
    • Device CDM Classification Level C6
  • 90% Efficient Synchronous Boost Converter
    • 75-mA Output Current at 3.3 V From 0.9-V
      Input
    • 150-mA Output Current at 3.3 V From 1.8-V
      Input
  • Device Quiescent Current: 19 µA (Typical)
  • Input Voltage Range: 0.9 V to 5.5 V
  • Adjustable Output Voltage Up to 5.5 V
  • Power-Save Mode Version Available for
    Improved Efficiency at Low Output Power
  • Load Disconnect During Shutdown
  • Overtemperature Protection
  • Small 6-Pin Thin SOT Package
TopologyBoost
Vin (min) (V)0.9
Vin (max) (V)5.5
Vout (min) (V)1.8
Vout (max) (V)5.5
Switch current limit (typ) (A)0.7
TypeConverter
Regulated outputs (#)1
Switching frequency (min) (kHz)1200
Switching frequency (max) (kHz)1200
Iq (typ) (mA)0.019
FeaturesSynchronous Rectification
Duty cycle (max) (%)100
Operating temperature range (°C)-40 to 105
RatingAutomotive
SOT-23-THN (DDC)68.12 mm² 2.9 x 2.8
产品购买
  • 商品型号
  • 封装
  • 工作温度
  • 包装
  • 价格
  • 现货库存
  • 操作
10s
温馨提示:
订单商品问题请移至我的售后服务提交售后申请,其他需投诉问题可移至我的投诉提交,我们将在第一时间给您答复
返回顶部